TOP
|
特許
|
意匠
|
商標
特許ウォッチ
Twitter
他の特許を見る
10個以上の画像は省略されています。
公開番号
2025145027
公報種別
公開特許公報(A)
公開日
2025-10-03
出願番号
2024044996
出願日
2024-03-21
発明の名称
建具および建具の改装方法
出願人
株式会社LIXIL
代理人
個人
,
個人
,
個人
主分類
E06B
1/56 20060101AFI20250926BHJP(戸,窓,シャッタまたはローラブラインド一般;はしご)
要約
【課題】施工性を向上できる建具および建具の改装方法を提供する。
【解決手段】躯体11に固定された既設下枠25の上に固定されるアタッチメント9と、アタッチメント9の上に固定される新設下枠5と、を有し、アタッチメント9は、既設下枠25の室内側の屋内側板部251の上端部251aおよびアングル部258の屋内側突出板部258bに上方から接触する下板部911および第1板部931と、既設縦枠の屋内側端部に屋内側から接触する接続板部913の屋外側の面913aと、を有する。
【選択図】図15
特許請求の範囲
【請求項1】
躯体に固定された既設下枠の上に固定されるアタッチメントと、
前記アタッチメントの上に固定される新設下枠と、を有し、
前記アタッチメントは、
前記既設下枠の室内側の上端部に上方から接触する上端接触部と、
既設縦枠の屋内側端部に屋内側から接触する屋外接触面と、を有する建具。
続きを表示(約 540 文字)
【請求項2】
前記アタッチメントは、
前記既設下枠の屋内側レールに上方から接触する屋内側レール接触部を有する請求項1に記載の建具。
【請求項3】
前記アタッチメントの屋内側に取り付けられる樹脂カバーを有する請求項1または2に記載の建具。
【請求項4】
前記アタッチメントと前記既設下枠との間、および前記アタッチメントと前記新設下枠との間には、防水シートが設けられている請求項1または2に記載の建具。
【請求項5】
前記アタッチメントは、建物の開口の屋内側端部に設けられた下縁部材の上部に載置される屋内側固定部を有し、
前記屋内側固定部は前記既設下枠および前記下縁部材のいずれか一方に載置される下板部と、
前記下板部の上方に設けられる上板部と、を有し、
前記上板部に新設枠が載置される請求項1または2に記載の建具。
【請求項6】
躯体に固定された既設下枠の上にアタッチメントを固定し、
前記アタッチメントの上に新設下枠を固定し、
前記アタッチメントを前記既設下枠の室内側の上端部に上方から接触させるとともに、既設縦枠の屋内側端部に屋内側から接触させる建具の改装方法。
発明の詳細な説明
【技術分野】
【0001】
本開示は、建具および建具の改装方法に関する。
続きを表示(約 2,100 文字)
【背景技術】
【0002】
従来、建物の建具を改装する際に、新設する建具の枠を既設の建具の枠の内側に設置して固定している。既設の下枠の上に新設の下枠を固定する際に、既設の下枠に固定されたアタッチメントに新設の下枠を固定することがある(例えば、特許文献1参照)。
【先行技術文献】
【特許文献】
【0003】
特開2018-25052号公報
【発明の概要】
【発明が解決しようとする課題】
【0004】
新設の枠体の固定にアタッチメントを使用する場合、アタッチメントを既設の下枠に固定する際の施工性の向上が望まれている。
【0005】
本開示は、施工性を向上できる建具および建具の改装方法を提供することを目的とする。
【課題を解決するための手段】
【0006】
上記目的を達成するため、本開示に係る建具は、躯体に固定された既設下枠の上に固定されるアタッチメントと、前記アタッチメントの上に固定される新設下枠と、を有し、前記アタッチメントは、前記既設下枠の室内側の上端部に上方から接触する上端接触部と、既設縦枠の屋内側端部に屋内側から接触する屋外接触面と、を有する。
【0007】
上記目的を達成するため、本開示に係る建具の改装方法は、躯体に固定された既設下枠の上にアタッチメントを固定し、前記アタッチメントの上に前記新設下枠を固定し、前記アタッチメントを前記既設下枠の室内側の上端部に上方から接触させるとともに、既設縦枠の屋内側端部に屋内側から接触させる。
【図面の簡単な説明】
【0008】
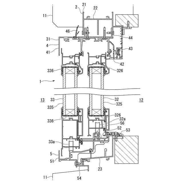
第1実施形態による建具の鉛直断面図である。
第1実施形態による建具の水平断面図である。
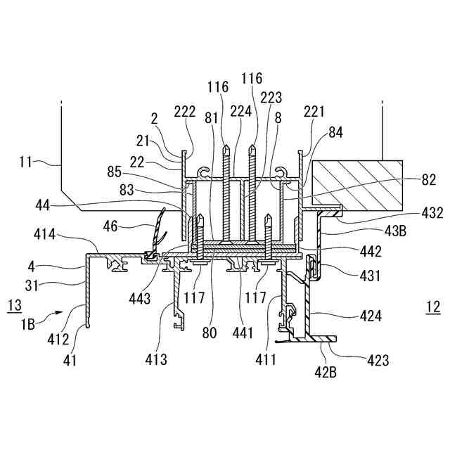
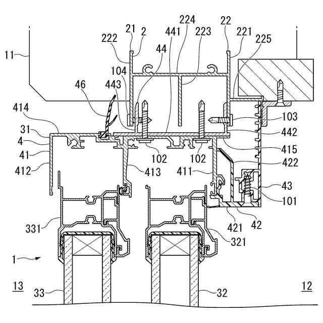
既設上枠および新設上枠の鉛直断面図である。
既設下枠および新設下枠の鉛直断面図である。
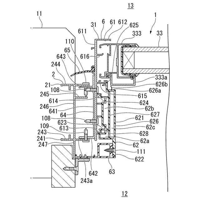
第1既設縦枠および第1新設縦枠の水平断面図である。
第2既設縦枠および第2新設縦枠の水平断面図である。
塞ぎ材および補助材の配置を示す図である。
第2実施形態による建具の新設上枠を示す図である。
第3実施形態による建具の新設上枠を示す図である。
第4実施形態による建具の新設上枠を示す図である。
第5実施形態による建具の新設上枠を示す図である。
第6実施形態による建具の新設上枠を示す図である。
第6実施形態による建具の新設上枠の第1変形例を示す図である。
第6実施形態による建具の新設上枠の第2変形例を示す図である。
第7実施形態による建具の新設下枠を示す図である。
新設下枠、アタッチメント、既設下枠を分解した図である。
新設下枠、アタッチメント、既設下枠の配置を示す図である。
アタッチメントと新設縦枠の配置を示す斜視図である。
アタッチメントと新設縦枠の配置を示す図である。
新設上枠の塞ぎ材の他の形態を示す図である。
第1新設縦枠の塞ぎ材の他の形態を示す図である。
第2新設縦枠の塞ぎ材の他の形態を示す図である。
補助材を設けずに既設下枠に固定された新設下枠を示す図である。
室内側レールとは接していないアタッチメントの図である。
複層ガラスと框との間にシーリング材を設けた建具の鉛直断面図である。
複層ガラスと框との間にシーリング材を設けた建具の水平断面図である。
【発明を実施するための形態】
【0009】
(第1実施形態)
図1および図2に示すように、第1実施形態による建具1は、建物の躯体11に固定されている既設建具2の改修を行う際に新設される建具である。建具1は、引き違いサッシである。建具1は、新設枠31と、内障子32と、外障子33と、塞ぎ材44,64,74と、補助材54と、を有する。新設枠31は、既設建具2の既設枠21の内側に設置される。塞ぎ材44,64,74は、新設枠31と既設枠21との隙間と塞ぐ。塞ぎ材44,64,74は、火災時に新設枠31と既設枠21との隙間から炎が貫通すること防止する。補助材54は、既設枠21に固定され、新設枠31が固定される。塞ぎ材44,64,74および補助材54は、金属製である。
【0010】
既設建具2は、金属製のサッシである。新設枠31は、既設枠21を覆うように設けられる。新設される建具1は、金属と樹脂の複合サッシである。屋内と屋外とを結ぶ方向を屋内外方向と表記する。図面では、屋内を符号12で示し、屋外を符号13で示す。屋内外方向に直交する水平方向を左右方向と表記する。左右方向について、左右方向の両側に対する左右方向の中央側を内側、左右方向の中央に対する左右方向の両側を外側と表記することがある。下記の説明における各部材の姿勢は、建具1が躯体11に取り付けられた状態の姿勢である。
(【0011】以降は省略されています)
この特許をJ-PlatPat(特許庁公式サイト)で参照する
関連特許
株式会社LIXIL
シリンダ錠
1日前
株式会社LIXIL
洗浄水タンク装置
5日前
株式会社LIXIL
可燃性ガス回収装置
5日前
株式会社LIXIL
建具および建具の改装方法
5日前
株式会社LIXIL
建具および建具の改装方法
5日前
株式会社LIXIL
建具および建具の改装方法
5日前
株式会社LIXIL
シリンダ錠及び建物設備機器群
1日前
株式会社LIXIL
トイレ装置及びトイレシステム
5日前
株式会社LIXIL
トイレ装置、トイレシステム及び排卵推測装置
5日前
株式会社LIXIL
太陽光発電給電シート、建物およびペリカバー
5日前
株式会社LIXIL
改装サッシ
5日前
株式会社LIXIL
表示制御装置、表示制御システム、プログラム及び表示制御方法
1日前
株式会社LIXIL
汚水処理装置、汚水処理システム、および汚水処理システムの施工方法
5日前
株式会社LIXIL
ホームシステム、サーバ、オーナー認証方法およびオーナー認証プログラム
5日前
株式会社ナカオ
作業台
28日前
中国電力株式会社
脚立
1か月前
株式会社ESP
止水板
1か月前
三協立山株式会社
構造体
3か月前
三協立山株式会社
構造体
3か月前
三協立山株式会社
開口部装置
1か月前
三協立山株式会社
開口部装置
1か月前
三協立山株式会社
開口部装置
1か月前
三協立山株式会社
開口部装置
3か月前
三協立山株式会社
開口部装置
1か月前
三協立山株式会社
開口部装置
1日前
三協立山株式会社
開口部装置
1か月前
ミサワホーム株式会社
水切り材
1か月前
不二サッシ株式会社
引違いサッシ
1か月前
株式会社TJMデザイン
脚立用ホルダー
3か月前
株式会社ニチベイ
縦型ブラインド
2か月前
文化シヤッター株式会社
止水装置
今日
不二サッシ株式会社
引違いサッシ
今日
株式会社LIXIL
太陽電池ガラス
9日前
永大産業株式会社
開閉構造体
3か月前
三協立山株式会社
サッシの製造方法
29日前
ナブテスコ株式会社
建具及び表示装置
3か月前
続きを見る
他の特許を見る