TOP
|
特許
|
意匠
|
商標
特許ウォッチ
Twitter
他の特許を見る
10個以上の画像は省略されています。
公開番号
2025144990
公報種別
公開特許公報(A)
公開日
2025-10-03
出願番号
2024044949
出願日
2024-03-21
発明の名称
建具および建具の改装方法
出願人
株式会社LIXIL
代理人
個人
,
個人
,
個人
主分類
E06B
1/56 20060101AFI20250926BHJP(戸,窓,シャッタまたはローラブラインド一般;はしご)
要約
【課題】断熱性を高めることができる建具および建具の改装方法を提供する。
【解決手段】躯体11に固定された既設枠21に取り付けられる新設枠31と、新設枠31の内側に設けられる内障子および外障子33と、を有し、新設枠31は、第1樹脂部材62を有し、第1樹脂部材62は、左右方向の外側に設けられる第1中空部62aおよび第2中空部62bと、第1中空部62aおよび第2中空部62bの左右方向の内側に連続して設けられる第3中空部62cと、を有し、第3中空部62cは、外障子33の縦框333の屋内側に重なって配置される。
【選択図】図5
特許請求の範囲
【請求項1】
躯体に固定された既設枠に取り付けられる新設枠と、
前記新設枠の内側に設けられる障子と、を有し、
前記新設枠は、樹脂縦枠を有し、
前記樹脂縦枠は、
左右方向の外側に設けられる外側中空部と、
前記外側中空部の左右方向の内側に連続して設けられる内側中空部と、を有し、
前記内側中空部は、前記障子の縦框の屋内側に重なって配置される建具。
続きを表示(約 550 文字)
【請求項2】
少なくとも1つの前記内側中空部の屋内外方向の寸法は、前記障子の縦框の屋内外方向の寸法よりも大きい請求項1に記載の建具。
【請求項3】
前記障子は、内障子および外障子を有し、
前記樹脂縦枠は、前記外障子が開口部を閉鎖する全閉状態において隣接する縦枠に設けられている請求項1に記載の建具。
【請求項4】
前記樹脂縦枠は、屋内側に設けられる樹脂額縁と固定されるアングル部を有する請求項1又は2に記載の建具。
【請求項5】
前記樹脂縦枠には、前記内側中空部が1つのみ設けられている請求項1または2に記載の建具。
【請求項6】
前記樹脂縦枠は、前記障子側に向かって延びるヒレ部を有する請求項1または2に記載の建具。
【請求項7】
躯体に固定された既設枠に新設枠を取りつけ、
前記新設枠の内側に障子を設け、
前記新設枠は、樹脂縦枠を有し、
前記樹脂縦枠は、
左右方向の外側に設けられる外側中空部と、
前記外側中空部の左右方向の内側に連続して設けられる内側中空部と、を有し、
前記内側中空部を前記障子の縦框の屋内側に重なるように配置する建具の改装方法。
発明の詳細な説明
【技術分野】
【0001】
本開示は、建具および建具の改装方法に関する。
続きを表示(約 2,200 文字)
【背景技術】
【0002】
建物の断熱性を向上させるために、建具を改装することが行われている。改装の際に新設する建具には、アルミ樹脂複合サッシなどの樹脂部材を用いた建具が使用されている(例えば、特許文献1参照)。このような場合、樹脂部材に中空部を設けることによって、断熱性をより高めることができる。
【先行技術文献】
【特許文献】
【0003】
特開2022-51515号公報
【発明の概要】
【発明が解決しようとする課題】
【0004】
建具を改装する場合、新設する建具の枠を既設建具の枠に取り付けている。既設建具の枠は、金属製であることが多い。このため、屋外の冷気が既設建具の枠を介して屋内に伝わり、断熱性能に影響する虞がある。
【0005】
本開示は、断熱性を高めることができる建具および建具の改装方法を提供することを目的とする。
【課題を解決するための手段】
【0006】
上記目的を達成するため、本開示に係る建具は、躯体に固定された既設枠に取り付けられる新設枠と、前記新設枠の内側に設けられる障子と、を有し、前記新設枠は、樹脂縦枠を有し、前記樹脂縦枠は、左右方向の外側に設けられる外側中空部と、前記外側中空部の左右方向の内側に連続して設けられる内側中空部と、を有し、前記内側中空部は、前記障子の縦框の屋内側に重なって配置される。
【0007】
上記目的を達成するため、本開示に係る建具の改装方法は、躯体に固定された既設枠に新設枠を取りつけ、前記新設枠の内側に障子を設け、前記新設枠は、樹脂縦枠を有し、前記樹脂縦枠は、左右方向の外側に設けられる外側中空部と、前記外側中空部の左右方向の内側に連続して設けられる内側中空部と、を有し、前記内側中空部を前記障子の縦框の屋内側に重なるように配置する。
【図面の簡単な説明】
【0008】
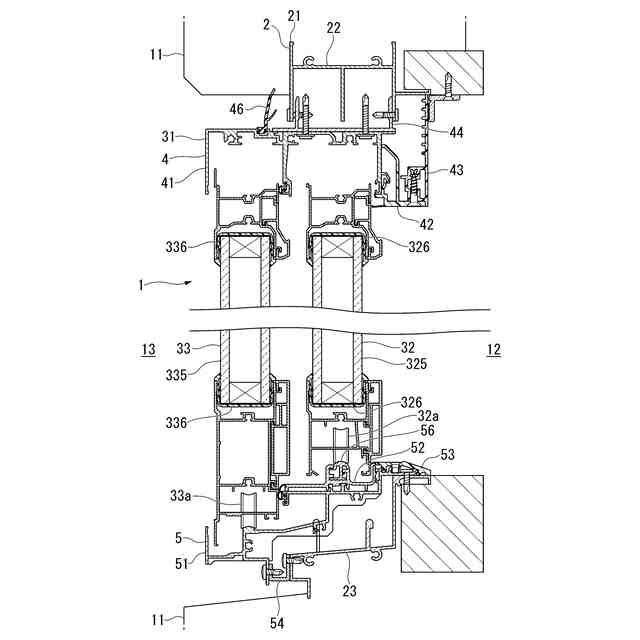
第1実施形態による建具の鉛直断面図である。
第1実施形態による建具の水平断面図である。
既設上枠および新設上枠の鉛直断面図である。
既設下枠および新設下枠の鉛直断面図である。
第1既設縦枠および第1新設縦枠の水平断面図である。
第2既設縦枠および第2新設縦枠の水平断面図である。
塞ぎ材および補助材の配置を示す図である。
第2実施形態による建具の新設上枠を示す図である。
第3実施形態による建具の新設上枠を示す図である。
第4実施形態による建具の新設上枠を示す図である。
第5実施形態による建具の新設上枠を示す図である。
第6実施形態による建具の新設上枠を示す図である。
第6実施形態による建具の新設上枠の第1変形例を示す図である。
第6実施形態による建具の新設上枠の第2変形例を示す図である。
第7実施形態による建具の新設下枠を示す図である。
新設下枠、アタッチメント、既設下枠を分解した図である。
新設下枠、アタッチメント、既設下枠の配置を示す図である。
アタッチメントと新設縦枠の配置を示す斜視図である。
アタッチメントと新設縦枠の配置を示す図である。
アタッチメントと新設縦枠の他の配置を示す図である。
新設上枠の塞ぎ材の他の形態を示す図である。
第1新設縦枠の塞ぎ材の他の形態を示す図である。
第2新設縦枠の塞ぎ材の他の形態を示す図である。
補助材を設けずに既設下枠に固定された新設下枠を示す図である。
室内側レールとは接していないアタッチメントの図である。
複層ガラスと框との間にシーリング材を設けた建具の鉛直断面図である。
複層ガラスと框との間にシーリング材を設けた建具の水平断面図である。
【発明を実施するための形態】
【0009】
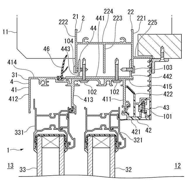
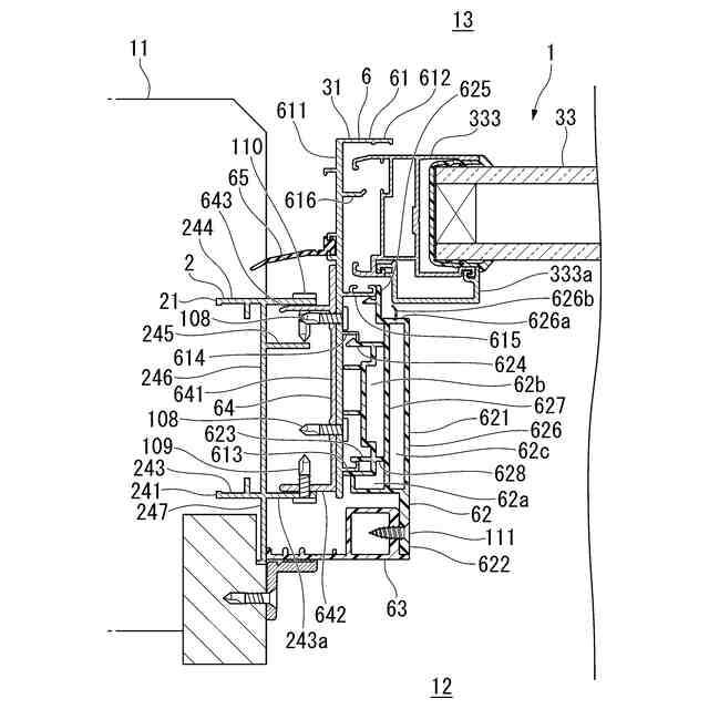
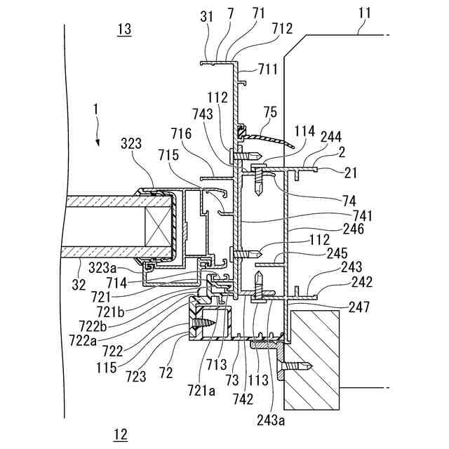
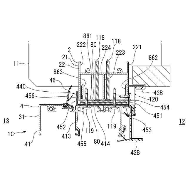
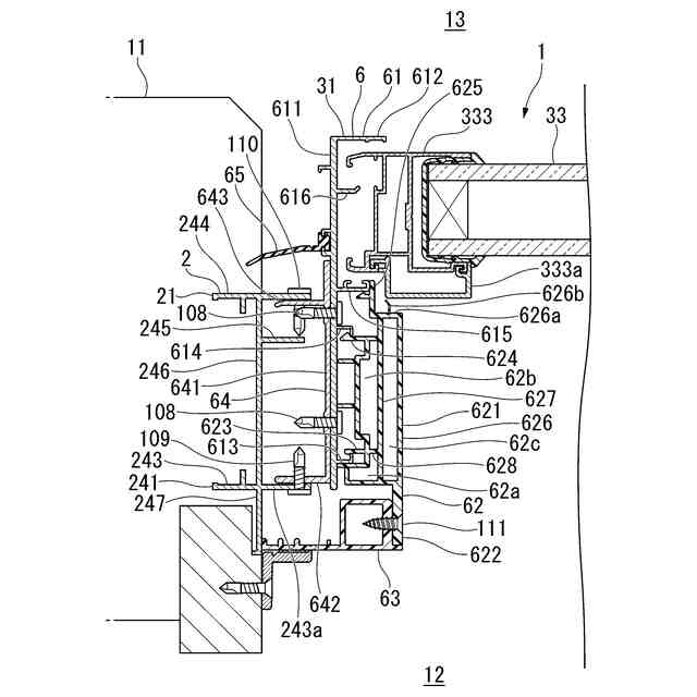
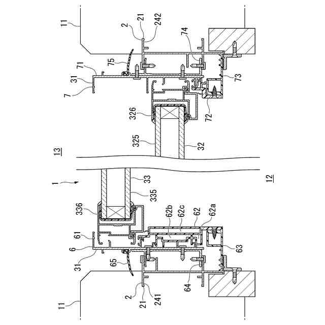
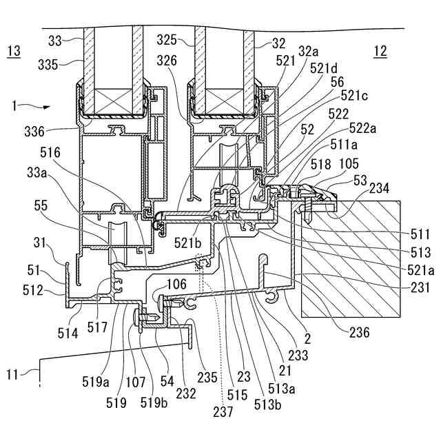
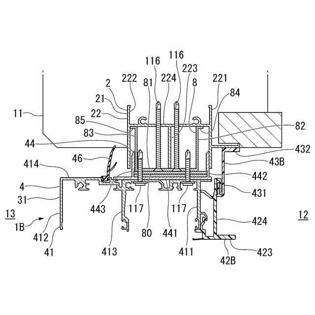
(第1実施形態)
図1および図2に示すように、第1実施形態による建具1は、建物の躯体11に固定されている既設建具2の改修を行う際に新設される建具である。建具1は、引き違いサッシである。建具1は、新設枠31と、内障子32と、外障子33と、塞ぎ材44,64,74と、補助材54と、を有する。新設枠31は、既設建具2の既設枠21の内側に設置される。塞ぎ材44,64,74は、新設枠31と既設枠21との隙間と塞ぐ。塞ぎ材44,64,74は、火災時に新設枠31と既設枠21との隙間から炎が貫通すること防止する。補助材54は、既設枠21に固定され、新設枠31が固定される。塞ぎ材44,64,74および補助材54は、金属製である。
【0010】
既設建具2は、金属製のサッシである。新設枠31は、既設枠21を覆うように設けられる。新設される建具1は、金属と樹脂の複合サッシである。屋内と屋外とを結ぶ方向を屋内外方向と表記する。図面では、屋内を符号12で示し、屋外を符号13で示す。屋内外方向に直交する水平方向を左右方向と表記する。左右方向について、左右方向の両側に対する左右方向の中央側を内側、左右方向の中央に対する左右方向の両側を外側と表記することがある。下記の説明における各部材の姿勢は、建具1が躯体11に取り付けられた状態の姿勢である。
(【0011】以降は省略されています)
この特許をJ-PlatPat(特許庁公式サイト)で参照する
関連特許
株式会社LIXIL
建具
9日前
株式会社LIXIL
建具
6日前
株式会社LIXIL
建具
5日前
株式会社LIXIL
建具
6日前
株式会社LIXIL
建具
6日前
株式会社LIXIL
建具
6日前
株式会社LIXIL
建具
6日前
株式会社LIXIL
建具
6日前
株式会社LIXIL
建具
9日前
株式会社LIXIL
便器装置
7日前
株式会社LIXIL
シリンダ錠
1日前
株式会社LIXIL
日除けシート
9日前
株式会社LIXIL
汚物処理装置
5日前
株式会社LIXIL
宅配ボックス
6日前
株式会社LIXIL
太陽電池ガラス
9日前
株式会社LIXIL
洗浄水タンク装置
5日前
株式会社LIXIL
可燃性ガス回収装置
5日前
株式会社LIXIL
窓用ステー及び開き窓
6日前
株式会社LIXIL
窓用ステー及び開き窓
6日前
株式会社LIXIL
建具および建具の改装方法
5日前
株式会社LIXIL
建具および建具の改装方法
6日前
株式会社LIXIL
建具および建具の改装方法
5日前
株式会社LIXIL
建具および建具の改装方法
5日前
株式会社LIXIL
建具および建具の改装方法
6日前
株式会社LIXIL
シリンダ錠及び建物設備機器群
1日前
株式会社LIXIL
トイレ装置及びトイレシステム
5日前
株式会社LIXIL
床タイル及び床タイルの製造方法
6日前
株式会社LIXIL
障子、建具、及び障子の施工方法
6日前
株式会社LIXIL
障子、建具、及び障子の施工方法
6日前
株式会社LIXIL
シャワーヘッド装置及び浴室ユニット
7日前
株式会社LIXIL
宅配ボックス及び宅配ボックスの設置方法
6日前
株式会社LIXIL
太陽光発電給電シート、建物およびペリカバー
5日前
株式会社LIXIL
トイレ装置、トイレシステム及び排卵推測装置
5日前
株式会社LIXIL
駆逐装置、駆逐システム、駆逐方法および駆逐プログラム
5日前
株式会社LIXIL
洗浄ハンドルユニット、洗浄タンクユニット及び便器装置
6日前
株式会社LIXIL
改装サッシ
5日前
続きを見る
他の特許を見る