TOP
|
特許
|
意匠
|
商標
特許ウォッチ
Twitter
他の特許を見る
10個以上の画像は省略されています。
公開番号
2025144999
公報種別
公開特許公報(A)
公開日
2025-10-03
出願番号
2024044961
出願日
2024-03-21
発明の名称
建具および建具の改装方法
出願人
株式会社LIXIL
代理人
個人
,
個人
,
個人
主分類
E06B
5/16 20060101AFI20250926BHJP(戸,窓,シャッタまたはローラブラインド一般;はしご)
要約
【課題】防火性能を高めることができる建具および建具の改装方法を提供する。
【解決手段】躯体11に固定された既設枠2に取り付けられる新設枠31と、既設枠2に固定される金属製の補助材8と、補助材8に固定されて既設枠2と新設枠31との間に配置される金属製の塞ぎ材44と、を有する。
【選択図】図8
特許請求の範囲
【請求項1】
躯体に固定された既設枠に取り付けられる新設枠と、
前記既設枠に固定される金属製の補助材と、
前記補助材に固定されて前記既設枠と前記新設枠との間に配置される金属製の塞ぎ材と、を有する建具。
続きを表示(約 840 文字)
【請求項2】
前記塞ぎ材は、
屋外側において前記既設枠と前記新設枠との間に配置される屋外側見込片と、
前記屋外側見込片よりも屋内側において前記既設枠と前記新設枠との間に配置される屋内側見込片と、を有する請求項1に記載の建具。
【請求項3】
前記屋外側見込片は、前記既設枠の屋外側の端部よりも屋内側に配置され、
前記屋内側見込片は、前記既設枠の屋内側の端部よりも屋外側に配置される請求項2に記載の建具。
【請求項4】
前記屋外側見込片は、前記既設枠の屋外側の端部よりも屋外側に配置され、
前記屋内側見込片は、前記既設枠の屋内側の端部よりも屋内側に配置される請求項2に記載の建具。
【請求項5】
前記屋外側見込片は、前記既設枠の屋外側の端部よりも屋内側に配置され、
前記屋内側見込片は、前記既設枠の屋内側の端部よりも屋内側に配置される請求項2に記載の建具。
【請求項6】
前記屋外側見込片は、前記既設枠の屋外側の端部よりも屋外側に配置され、
前記屋内側見込片は、前記既設枠の屋内側の端部よりも屋外側に配置される請求項2に記載の建具。
【請求項7】
前記屋外側見込片と前記屋内側見込片とは、一体に形成されている請求項2に記載の建具。
【請求項8】
前記屋外側見込片と前記屋内側見込片とは、別部材である請求項2に記載の建具。
【請求項9】
前記塞ぎ材は、前記既設枠と屋内外方向に重ならない位置に配置される請求項1から8のいずれか一項に記載の建具。
【請求項10】
躯体に固定された既設枠に金属製の補助材を取り付け、
前記既設枠に新設枠を取り付け、
前記補助材に、前記新設枠を取り付けるとともに、前記既設枠と前記新設枠との間に配置される金属製の塞ぎ材とを取り付ける建具の改装方法。
発明の詳細な説明
【技術分野】
【0001】
本開示は、建具および建具の改装方法に関する。
続きを表示(約 2,000 文字)
【背景技術】
【0002】
従来、建物の建具を改装する際に、新設する建具の枠を既設の建具の枠の内側に設置して固定している。新設する建具には、防火性能を向上させるために新設枠と既設枠との隙間を塞ぐ部材が設けられている(例えば、特許文献1参照)。
【先行技術文献】
【特許文献】
【0003】
特開2020-45641号公報
【発明の概要】
【発明が解決しようとする課題】
【0004】
改装用の建具には、より高い防火性能が望まれている。
【0005】
本開示は、防火性能を高めることができる建具および建具の改装方法を提供することを目的とする。
【課題を解決するための手段】
【0006】
上記目的を達成するため、本開示に係る建具は、躯体に固定された既設枠に取り付けられる新設枠と、前記既設枠に固定される金属製の補助材と、前記補助材に固定されて前記既設枠と前記新設枠との間に配置される金属製の塞ぎ材と、を有する。
【0007】
上記目的を達成するため、本開示に係る建具の改装方法は、躯体に固定された既設枠に金属製の補助材を取り付け、前記既設枠に新設枠を取り付け、前記補助材に、前記新設枠を取り付けるとともに、前記既設枠と前記新設枠との間に配置される金属製の塞ぎ材とを取り付ける。
【図面の簡単な説明】
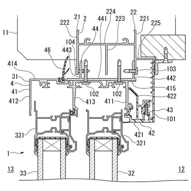
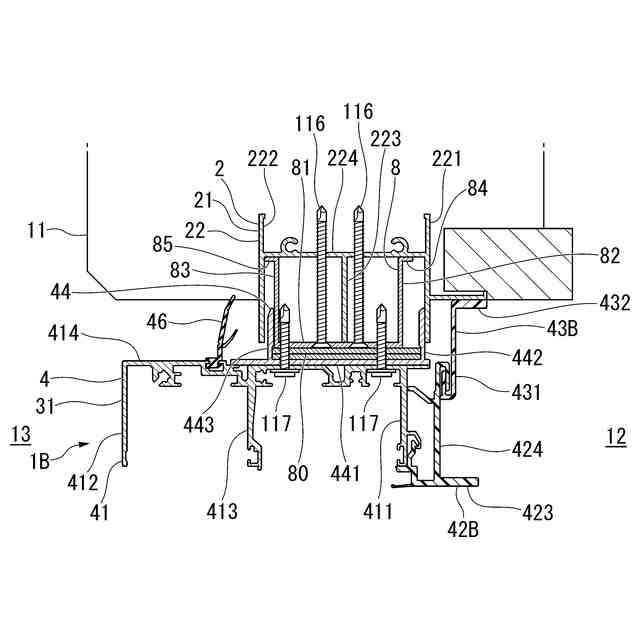
【0008】
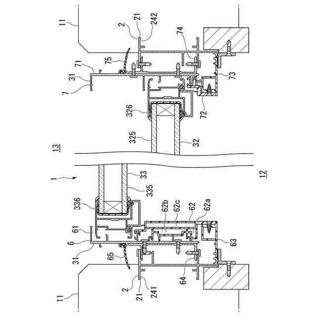
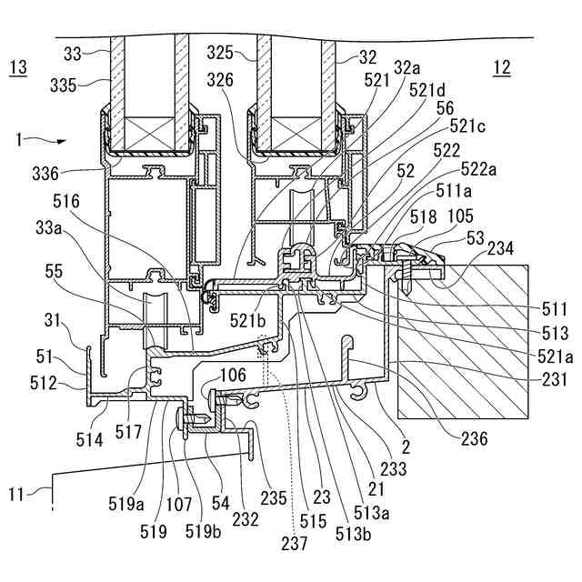
第1実施形態による建具の鉛直断面図である。
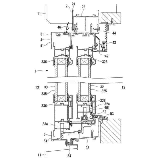
第1実施形態による建具の水平断面図である。
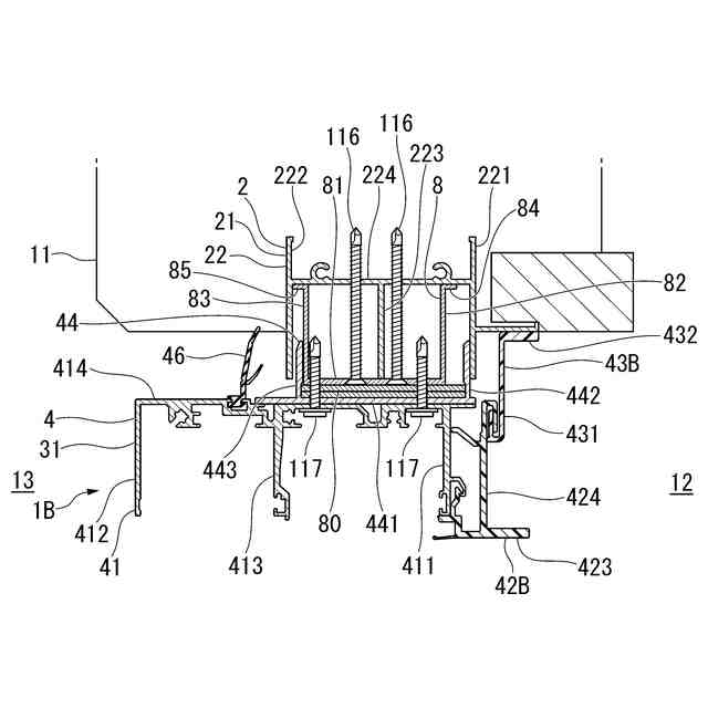
既設上枠および新設上枠の鉛直断面図である。
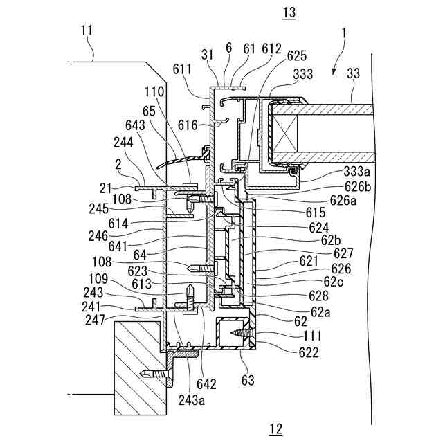
既設下枠および新設下枠の鉛直断面図である。
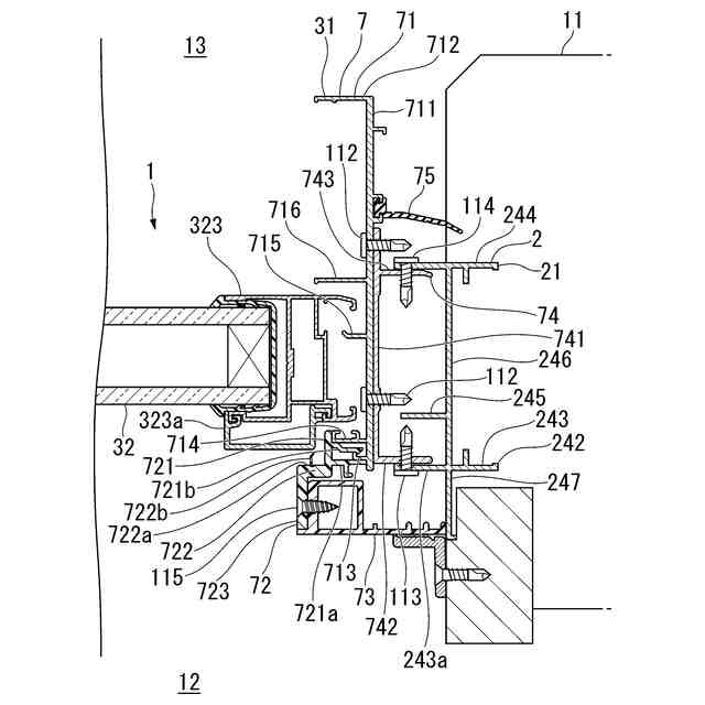
第1既設縦枠および第1新設縦枠の水平断面図である。
第2既設縦枠および第2新設縦枠の水平断面図である。
塞ぎ材および補助材の配置を示す図である。
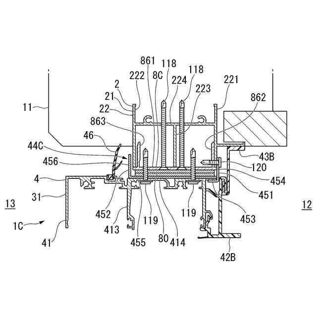
第2実施形態による建具の新設上枠を示す図である。
第3実施形態による建具の新設上枠を示す図である。
第4実施形態による建具の新設上枠を示す図である。
第5実施形態による建具の新設上枠を示す図である。
第6実施形態による建具の新設上枠を示す図である。
第6実施形態による建具の新設上枠の第1変形例を示す図である。
第6実施形態による建具の新設上枠の第2変形例を示す図である。
第7実施形態による建具の新設下枠を示す図である。
新設下枠、アタッチメント、既設下枠を分解した図である。
新設下枠、アタッチメント、既設下枠の配置を示す図である。
アタッチメントと新設縦枠の配置を示す斜視図である。
アタッチメントと新設縦枠の配置を示す図である。
アタッチメントと新設縦枠の他の配置を示す図である。
新設上枠の塞ぎ材の他の形態を示す図である。
第1新設縦枠の塞ぎ材の他の形態を示す図である。
第2新設縦枠の塞ぎ材の他の形態を示す図である。
補助材を設けずに既設下枠に固定された新設下枠を示す図である。
室内側レールとは接していないアタッチメントの図である。
複層ガラスと框との間にシーリング材を設けた建具の鉛直断面図である。
複層ガラスと框との間にシーリング材を設けた建具の水平断面図である。
【発明を実施するための形態】
【0009】
(第1実施形態)
図1および図2に示すように、第1実施形態による建具1は、建物の躯体11に固定されている既設建具2の改修を行う際に新設される建具である。建具1は、引き違いサッシである。建具1は、新設枠31と、内障子32と、外障子33と、塞ぎ材44,64,74と、補助材54と、を有する。新設枠31は、既設建具2の既設枠21の内側に設置される。塞ぎ材44,64,74は、新設枠31と既設枠21との隙間と塞ぐ。塞ぎ材44,64,74は、火災時に新設枠31と既設枠21との隙間から炎が貫通すること防止する。補助材54は、既設枠21に固定され、新設枠31が固定される。塞ぎ材44,64,74および補助材54は、金属製である。
【0010】
既設建具2は、金属製のサッシである。新設枠31は、既設枠21を覆うように設けられる。新設される建具1は、金属と樹脂の複合サッシである。屋内と屋外とを結ぶ方向を屋内外方向と表記する。図面では、屋内を符号12で示し、屋外を符号13で示す。屋内外方向に直交する水平方向を左右方向と表記する。左右方向について、左右方向の両側に対する左右方向の中央側を内側、左右方向の中央に対する左右方向の両側を外側と表記することがある。下記の説明における各部材の姿勢は、建具1が躯体11に取り付けられた状態の姿勢である。
(【0011】以降は省略されています)
この特許をJ-PlatPat(特許庁公式サイト)で参照する
関連特許
株式会社LIXIL
シリンダ錠及び建物設備機器群
1日前
株式会社ナカオ
作業台
28日前
中国電力株式会社
脚立
1か月前
株式会社ESP
止水板
1か月前
三協立山株式会社
構造体
3か月前
三協立山株式会社
構造体
3か月前
三協立山株式会社
開口部装置
1か月前
三協立山株式会社
開口部装置
1か月前
三協立山株式会社
開口部装置
1か月前
三協立山株式会社
開口部装置
3か月前
三協立山株式会社
開口部装置
1か月前
三協立山株式会社
開口部装置
1日前
三協立山株式会社
開口部装置
1か月前
ミサワホーム株式会社
水切り材
1か月前
不二サッシ株式会社
引違いサッシ
1か月前
株式会社TJMデザイン
脚立用ホルダー
3か月前
株式会社ニチベイ
縦型ブラインド
2か月前
文化シヤッター株式会社
止水装置
今日
不二サッシ株式会社
引違いサッシ
今日
株式会社LIXIL
太陽電池ガラス
9日前
永大産業株式会社
開閉構造体
3か月前
三協立山株式会社
サッシの製造方法
29日前
ナブテスコ株式会社
建具及び表示装置
3か月前
株式会社LIXIL
建具
9日前
株式会社LIXIL
建具
19日前
株式会社LIXIL
建具
6日前
株式会社LIXIL
建具
6日前
株式会社LIXIL
建具
19日前
株式会社LIXIL
建具
19日前
株式会社LIXIL
建具
6日前
株式会社LIXIL
建具
6日前
株式会社LIXIL
建具
2か月前
株式会社LIXIL
建具
2か月前
株式会社LIXIL
建具
6日前
株式会社LIXIL
建具
1か月前
株式会社大林組
シャッター装置
2か月前
続きを見る
他の特許を見る