TOP
|
特許
|
意匠
|
商標
特許ウォッチ
Twitter
他の特許を見る
公開番号
2025144201
公報種別
公開特許公報(A)
公開日
2025-10-02
出願番号
2024043868
出願日
2024-03-19
発明の名称
消泡装置及び消泡方法
出願人
日本原燃株式会社
,
国立大学法人岩手大学
代理人
弁理士法人秀和特許事務所
主分類
B01D
19/02 20060101AFI20250925BHJP(物理的または化学的方法または装置一般)
要約
【課題】本開示は、簡易な構成で泡沫破壊の威力が優位な技術を提供することを目的とする。
【解決手段】消泡装置は、高電圧パルスを発生させる高電圧パルス発生部と、前記高電圧パルス発生部から前記高電圧パルスが印加される高電圧電極と、対極とを有し、前記高電圧電極と前記対極との間で高電圧パルス放電を発生させることにより消泡を行う電極部と、を備える。
【選択図】図1
特許請求の範囲
【請求項1】
高電圧パルスを発生させる高電圧パルス発生部と、
前記高電圧パルス発生部から前記高電圧パルスが印加される高電圧電極と、対極とを有し、前記高電圧電極と前記対極との間で高電圧パルス放電を発生させることにより消泡を行う電極部と、
を備える、消泡装置。
続きを表示(約 430 文字)
【請求項2】
泡沫が容器内の液体の液面上で発生した状態であり、
前記高電圧パルス発生部は、前記泡沫の上昇速度が速いほど前記高電圧パルスの周波数を高くすることで、前記泡沫の上面が上昇しない平衡状態を形成する、
請求項1に記載の消泡装置。
【請求項3】
前記高電圧電極と、前記液面とは非接触である、
請求項2に記載の消泡装置。
【請求項4】
前記高電圧電極と、前記液面との間の距離は1mm~60mmであり、
前記高電圧パルス発生部は、3kV以上の前記高電圧パルスを発生させる、
請求項2又は請求項3に記載の消泡装置。
【請求項5】
高電圧パルス発生部によって高電圧パルスを発生させることと、
前記高電圧パルス発生部から前記高電圧パルスが印加される高電圧電極と対極と間で高電圧パルス放電を発生させることにより消泡を行うことと、
を含む、消泡方法。
発明の詳細な説明
【技術分野】
【0001】
本発明は、消泡装置及び消泡方法に関する。
続きを表示(約 2,000 文字)
【背景技術】
【0002】
従来、液体や固体の表面に発生する泡沫を破壊する技術が知られている。例えば、特許文献1には、溶融スラグにマイクロ波を照射することで泡沫を鎮静化する技術が開示されている。また、特許文献2~8には、液面上の泡沫を破壊する技術が開示されている。
【先行技術文献】
【特許文献】
【0003】
特開2008-255426号公報
特開平5-317606号公報
特開平6-191595号公報
特開昭63-104620号公報
特開2007-61717号公報
国際公開第2007/086339号
国際公開第2007/132590号
特開2012-183521号公報
【発明の概要】
【発明が解決しようとする課題】
【0004】
特許文献1~8では、マイクロ波、レーザー光、音波、超音波等によって泡沫を破壊している。消泡にマイクロ波やレーザー光を用いる場合には装置構成が複雑となる。また、消泡に音波や超音波を用いる場合には、マイクロ波を用いる場合と比較して泡沫破壊の威力が不十分である。本開示は、簡易な構成で泡沫破壊の威力が優位な技術を提供することを目的とする。
【課題を解決するための手段】
【0005】
上記課題を解決するために、本開示では、高電圧パルス放電によって泡沫を破壊する。これにより、簡易な構成で泡沫破壊の威力を向上することができる。
【0006】
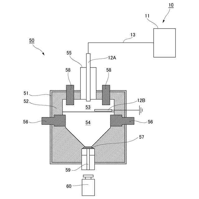
具体的には、本開示は、消泡装置であって、高電圧パルスを発生させる高電圧パルス発生部と、前記高電圧パルス発生部から前記高電圧パルスが印加される高電圧電極と、対極とを有し、前記高電圧電極と前記対極との間で高電圧パルス放電を発生させることにより消泡を行う電極部と、を備える。本開示に係る消泡装置は、高電圧パルス放電を発生させる電極によって消泡を行うことができる。消泡の原理は、高電圧パルス放電によって生じる衝撃波、ラジカルによる疎水性成分の分解や表面張力の低下、イオンによる静電気力によるものと考えられる。なお、高電圧パルスの電圧は、3kV~100kVが好ましいが、高電圧パルス放電の上限値は、特に定められず、運用上可能な高電圧パルス放電で消泡を行ってもよい。
【0007】
また、上記消泡装置において、泡沫が容器内の液体の液面上で発生した状態であり、前記高電圧パルス発生部は、前記泡沫の上昇速度が速いほど前記高電圧パルスの周波数を高くすることで、前記泡沫の上面が上昇しない平衡状態を形成してもよい。消泡装置は、液面上に発生した泡沫を破壊することができる。なお、消泡装置は、液面上の泡沫を全て破壊してもよいし、泡沫が次々に発生している状態では、泡沫の上面が上昇しない平衡状態を形成するように最上部の泡沫を破壊してもよい。
【0008】
また、上記消泡装置において、前記高電圧電極と、前記液面とは非接触であってもよい。例えば、高電圧電極と液面との間に間隔を設けることができる。なお、高電圧パルスの電圧が高いほど放電エネルギーも高いため、高電圧パルスの電圧が高いほどこの間隔を大きく設定することもできる。また、対極も液体中に必ず配置しなくてもよく、液面上に配置された高電圧電極と対極の間で高電圧パルス放電を発生させて、消泡を行うことができる。また、上記消泡装置において、前記高電圧電極を液面からは離しつつ、泡沫の表面に前記高電圧電極を接触させた状態で高電圧パルス放電を発生させることにより消泡を行うことも勿論可能である。なお、液面とは液体の表面のことであり、泡沫は液面上に発生する。
【0009】
また、上記消泡装置において、前記高電圧電極と、前記液面との間隔は1mm~10mmであり、前記高電圧パルス発生部は、3kV以上の前記高電圧パルスを発生させてよい。例えば、高電圧電極と液面との間隔が1mm~60mmである場合には、3kV以上の高電圧パルスによる高電圧パルス放電によって消泡を行うことができる。なお、高電圧電極と液面との間隔が60mmである場合には、100kV以上の高電圧パルスによる高電圧パルス放電によって消泡を行うことができる。
【0010】
ここで、本開示を消泡方法の側面から捉えることができる。すなわち、本開示は、消泡方法であって、高電圧パルス発生部によって高電圧パルスを発生させることと、前記高電圧パルス発生部から前記高電圧パルスが印加される前記高電圧電極と、対極との間で高電圧パルス放電を発生させることにより消泡を行うことと、を含む、消泡方法であってもよい。
【発明の効果】
(【0011】以降は省略されています)
この特許をJ-PlatPat(特許庁公式サイト)で参照する
関連特許
日本原燃株式会社
消泡装置及び消泡方法
23日前
株式会社西部技研
除湿装置
9日前
株式会社日本触媒
ドロー溶質
3日前
ユニチカ株式会社
複合中空糸膜
23日前
サンノプコ株式会社
消泡剤
1日前
東レ株式会社
中空糸膜モジュール
22日前
株式会社MRT
微細バブル発生装置
26日前
株式会社笹山工業所
濁水処理システム
26日前
個人
攪拌装置
26日前
ヤマシンフィルタ株式会社
フィルタ装置
24日前
大和ハウス工業株式会社
反応装置
16日前
個人
気液混合装置
1日前
松岡紙業 株式会社
油吸着体の製造方法
3日前
株式会社フクハラ
圧縮空気圧回路ユニット
1日前
本田技研工業株式会社
ガス回収装置
18日前
大陽日酸株式会社
CO2の回収方法
18日前
杉山重工株式会社
回転円筒型反応装置
26日前
本田技研工業株式会社
二酸化炭素回収装置
16日前
本田技研工業株式会社
二酸化炭素回収装置
16日前
ノリタケ株式会社
触媒材料およびその利用
16日前
本田技研工業株式会社
二酸化炭素回収装置
16日前
本田技研工業株式会社
二酸化炭素回収装置
22日前
本田技研工業株式会社
分離システム
26日前
本田技研工業株式会社
二酸化炭素回収装置
16日前
ノリタケ株式会社
触媒材料およびその利用
16日前
本田技研工業株式会社
二酸化炭素回収装置
18日前
本田技研工業株式会社
二酸化炭素回収装置
24日前
本田技研工業株式会社
二酸化炭素回収装置
24日前
本田技研工業株式会社
二酸化炭素回収装置
24日前
本田技研工業株式会社
二酸化炭素回収装置
11日前
ノリタケ株式会社
触媒材料およびその利用
16日前
株式会社プロテリアル
触媒複合物および触媒前駆体複合物
17日前
日東電工株式会社
吸着材
22日前
東京応化工業株式会社
ろ過処理方法、及び多孔質膜
16日前
セイコーエプソン株式会社
気体分離膜
26日前
Planet Savers株式会社
気体濃縮装置
18日前
続きを見る
他の特許を見る