TOP
|
特許
|
意匠
|
商標
特許ウォッチ
Twitter
他の特許を見る
10個以上の画像は省略されています。
公開番号
2025144431
公報種別
公開特許公報(A)
公開日
2025-10-02
出願番号
2024044195
出願日
2024-03-19
発明の名称
情報処理装置、更新方法及び更新プログラム
出願人
横河電機株式会社
,
本田技研工業株式会社
代理人
弁理士法人酒井国際特許事務所
主分類
H01M
10/48 20060101AFI20250925BHJP(基本的電気素子)
要約
【課題】レファレンス更新の頻度を適正化することを課題とする。
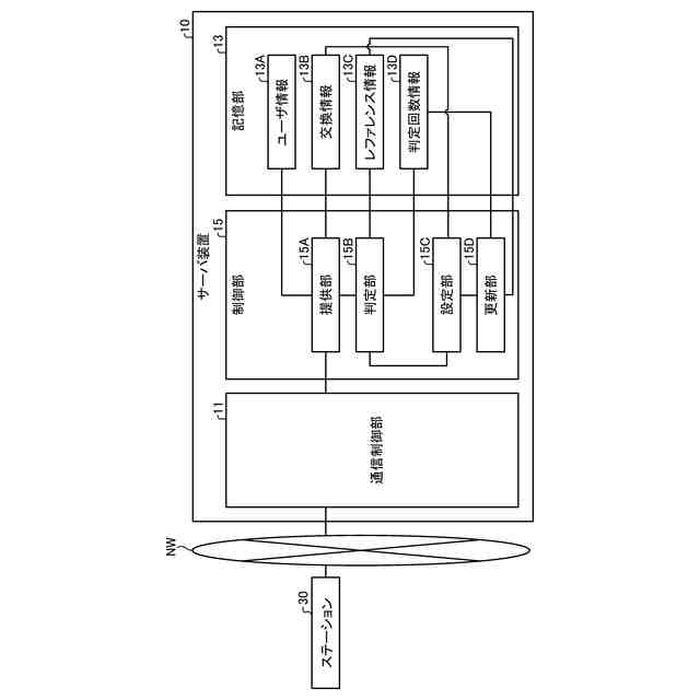
【解決手段】情報処理装置は、バッテリの磁場分布を取得する取得部と、バッテリの磁場分布の取得時にバッテリの真贋判定で参照されるレファレンスの磁場分布を更新する条件が満たされた場合、バッテリの磁場分布を用いてレファレンスの磁場分布を更新する更新部と、を有する。
【選択図】図5
特許請求の範囲
【請求項1】
バッテリの磁場分布を取得する取得部と、
前記バッテリの磁場分布の取得時に前記バッテリの真贋判定で参照されるレファレンスの磁場分布を更新する条件が満たされた場合、前記バッテリの磁場分布を用いて前記レファレンスの磁場分布を更新する更新部と、
を有することを特徴とする情報処理装置。
続きを表示(約 890 文字)
【請求項2】
前記バッテリの磁場分布と、前記レファレンスの磁場分布との比較に基づいて、前記バッテリが正規品であるか否かの真贋判定を実行する判定部をさらに有し、
前記更新部は、前記正規品と判定されたバッテリの磁場分布を用いて、前記レファレンスの磁場分布を更新することを特徴とする請求項1に記載の情報処理装置。
【請求項3】
前記更新部は、前記バッテリに対する前記真贋判定の実行回数が閾値以上である場合、前記レファレンスの磁場分布を更新することを特徴とする請求項1または2に記載の情報処理装置。
【請求項4】
前記バッテリの磁場分布が取得される間隔に基づいて前記閾値を設定する設定部をさらに有することを特徴とする請求項3に記載の情報処理装置。
【請求項5】
前記設定部は、前記間隔が短くなるにしたがって大きい閾値を設定することを特徴とする請求項4に記載の情報処理装置。
【請求項6】
前記バッテリの充電元に対応するステーションで充電されるバッテリが正規品であると判定される頻度に基づいて前記閾値を設定する設定部をさらに有することを特徴とする請求項3に記載の情報処理装置。
【請求項7】
前記設定部は、前記頻度が高くなるにしたがって大きい閾値を設定することを特徴とする請求項6に記載の情報処理装置。
【請求項8】
前記更新部は、前記レファレンスの磁場分布が更新される場合、前記バッテリの真贋判定の実行回数をリセットすることを特徴とする請求項3に記載の情報処理装置。
【請求項9】
前記更新部は、前記バッテリの累積充電回数が閾値以上である場合、前記レファレンスの磁場分布を更新することを特徴とする請求項1または2に記載の情報処理装置。
【請求項10】
前記更新部は、前記バッテリの累積充電量が閾値以上である場合、前記レファレンスの磁場分布を更新することを特徴とする請求項1または2に記載の情報処理装置。
(【請求項11】以降は省略されています)
発明の詳細な説明
【技術分野】
【0001】
本発明は、情報処理装置、更新方法及び更新プログラムに関する。
続きを表示(約 1,400 文字)
【背景技術】
【0002】
カーボンニュートラルを実現する側面から、電気を動力源とするモータにより駆動する電動車、いわゆるxEV(Electric Vehicle)が普及している。このようなxEVの普及に伴って、充電量低下のバッテリおよび充電済みのバッテリの交換を実施する充電設備の提供を通じてxEVのバッテリを交換式とすることにより、バッテリの共有化を実現するバッテリ共有化サービスへの取り組みも進められている。
【0003】
他方、xEVのバッテリとして、メーカにより製造された正規品の他、正規品ではない非正規品が流通しつつある側面がある。例えば、非正規品として、正規のモジュール、あるいは正規のパックの筐体の外観に加え、バッテリの材料調達からリサイクルまでのライフサイクルを管理するバッテリパスポートなどの管理情報にリンクする二次元コードが模造された模造品も存在する。
【0004】
このことから、正規のバッテリの電池特性をレファレンスとして、当該レファレンスの電池特性と、識別対象とするバッテリから測定される電池特性とを比較することで、識別対象のバッテリが正規品であるか否かの真贋判定を実行する技術が提案されている。
【0005】
このようなバッテリの電池特性は、時間経過による劣化の影響を受ける。このため、バッテリの電池特性の時間変化に対応する真贋判定を実現する側面から、時間経過に従ってレファレンスの電池特性が更新される一面がある。
【先行技術文献】
【特許文献】
【0006】
特開2020-169932号公報
特開2012-75212号公報
特開2012-49030号公報
【発明の概要】
【発明が解決しようとする課題】
【0007】
しかしながら、上記の真贋判定に用いるレファレンスを更新する頻度を高くしたとしても、必ずしも真贋判定の精度が向上するとは限らない。例えば、バッテリの電池特性測定時にはバッテリ以外の周囲環境からの外乱が測定した電池特性に重畳するため頻度高く(例えば、毎回)完全に新しく取得した電池特性にレファレンスを更新していくと外れ値がレファレンスとして設定され、真贋判定の精度が低下する場合がある。一方、レファレンスを更新する頻度が低すぎると、バッテリの時間経過による劣化の影響がレファレンスに反映されにくくなるので、真贋判定の精度が低下する場合がある。
【0008】
本発明は、レファレンス更新の頻度を適正化することを目的とする。
【課題を解決するための手段】
【0009】
本発明の一側面にかかる情報処理装置は、バッテリの磁場分布を取得する取得部と、前記バッテリの磁場分布の取得時に前記バッテリの真贋判定で参照されるレファレンスの磁場分布を更新する条件が満たされた場合、前記バッテリの磁場分布を用いて前記レファレンスの磁場分布を更新する更新部と、を有する。
【0010】
本発明の一側面にかかる更新方法は、バッテリの磁場分布を取得し、前記バッテリの磁場分布の取得時に前記バッテリの真贋判定で参照されるレファレンスの磁場分布を更新する条件が満たされた場合、前記バッテリの磁場分布を用いて前記レファレンスの磁場分布を更新する、処理をコンピュータが実行する。
(【0011】以降は省略されています)
この特許をJ-PlatPat(特許庁公式サイト)で参照する
関連特許
横河電機株式会社
測定器
15日前
横河電機株式会社
温度測定装置
15日前
横河電機株式会社
藻類培養装置
25日前
横河電機株式会社
コントローラ
4日前
横河電機株式会社
情報プログラム
4日前
横河電機株式会社
測定装置及び測定方法
12日前
横河電機株式会社
ベースマップの注釈付け
1か月前
横河電機株式会社
研磨用治具および研磨方法
25日前
横河電機株式会社
装置、方法及びプログラム
15日前
横河電機株式会社
測定方法及び測定システム
15日前
横河電機株式会社
フィールド機器及び診断方法
11日前
横河電機株式会社
装置、方法およびプログラム
25日前
横河電機株式会社
装置、方法およびプログラム
26日前
横河電機株式会社
装置、方法およびプログラム
5日前
横河電機株式会社
装置、方法およびプログラム
1か月前
横河電機株式会社
光パルス試験器及び測定方法
11日前
横河電機株式会社
菌体培養槽および菌体培養方法
13日前
横河電機株式会社
装置、方法、およびプログラム
5日前
横河電機株式会社
装置、方法、およびプログラム
25日前
横河電機株式会社
情報処理装置及び情報処理方法
1か月前
横河電機株式会社
水処理システム及び水処理方法
1か月前
横河電機株式会社
装置、方法、およびプログラム
12日前
横河電機株式会社
蛍光読取装置および蛍光読取方法
13日前
横河電機株式会社
細胞穿刺装置及び顕微鏡システム
4日前
横河電機株式会社
制御プログラム及びコントローラ
4日前
横河電機株式会社
細胞穿刺装置及び顕微鏡システム
4日前
横河電機株式会社
分散制御ノード(DCN)冗長性
11日前
横河電機株式会社
表面散乱型濁度計及び濁度測定方法
13日前
横河電機株式会社
メタン生成装置及びメタン生成方法
15日前
横河電機株式会社
測定装置、測定方法、及びプログラム
18日前
横河電機株式会社
制御装置、制御システム及び制御方法
1か月前
横河電機株式会社
測定装置、測定方法、及びプログラム
12日前
横河電機株式会社
測定装置、測定方法、及びプログラム
12日前
横河電機株式会社
解析装置、訓練装置およびプログラム
13日前
横河電機株式会社
測定装置、測定方法、及びプログラム
4日前
横河電機株式会社
診断システム、診断装置および診断方法
25日前
続きを見る
他の特許を見る