TOP
|
特許
|
意匠
|
商標
特許ウォッチ
Twitter
他の特許を見る
10個以上の画像は省略されています。
公開番号
2025142911
公報種別
公開特許公報(A)
公開日
2025-10-01
出願番号
2024042530
出願日
2024-03-18
発明の名称
蛍光読取装置および蛍光読取方法
出願人
横河電機株式会社
代理人
弁理士法人RYUKA国際特許事務所
主分類
G01N
21/64 20060101AFI20250924BHJP(測定;試験)
要約
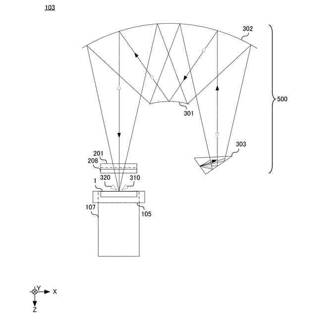
【解決手段】マイクロアレイの蛍光を取得する蛍光読取装置であって、マイクロアレイから放射される蛍光を複数のリフレクタで複数回反射して結像面に結像させる受光光学系と、結像面上に位置する光学センサとを備える蛍光読取装置を提供する。蛍光読取装置は、マイクロアレイの撮像面と結像面とが等倍のテレセントリック光学系であってもよい。複数のリフレクタは、凸面鏡および凹面鏡を含んでもよい。複数のリフレクタは、1つの凸面鏡、および、1つの凹面鏡のみを含んでもよい。
【選択図】図1
特許請求の範囲
【請求項1】
マイクロアレイの蛍光を取得する蛍光読取装置であって、
前記マイクロアレイから放射される蛍光を複数のリフレクタで複数回反射して結像面に結像させる受光光学系と、
前記結像面上に位置する光学センサと
を備える蛍光読取装置。
続きを表示(約 730 文字)
【請求項2】
前記マイクロアレイの撮像面と前記結像面とが等倍のテレセントリック光学系である、
請求項1に記載の蛍光読取装置。
【請求項3】
前記受光光学系はレンズを含まない、
請求項1に記載の蛍光読取装置。
【請求項4】
前記複数のリフレクタは、凸面鏡および凹面鏡を含む、
請求項1から3の何れか一項に記載の蛍光読取装置。
【請求項5】
前記凸面鏡および前記凹面鏡は球面鏡である、
請求項4に記載の蛍光読取装置。
【請求項6】
前記複数のリフレクタは、1つの前記凸面鏡、および、1つの前記凹面鏡のみを含む、
請求項4に記載の蛍光読取装置。
【請求項7】
前記複数のリフレクタは、2つの前記凸面鏡、および、2つの前記凹面鏡のみを含む、
請求項4に記載の蛍光読取装置。
【請求項8】
前記複数のリフレクタは、1つの前記凸面鏡、1つの前記凹面鏡、および、1つのレトロリフレクタのみを含む、
請求項4に記載の蛍光読取装置。
【請求項9】
前記複数のリフレクタは、1つの前記凸面鏡、1つの前記凹面鏡、および、1つの直角リフレクタのみを含む、
請求項4に記載の蛍光読取装置。
【請求項10】
マイクロアレイの蛍光を取得する蛍光読取方法であって、
前記マイクロアレイから放射される蛍光を、受光光学系における複数のリフレクタで複数回反射して結像面に結像させることと、
前記結像面上に位置する光学センサで前記蛍光を受光することと
を備える蛍光読取方法。
発明の詳細な説明
【技術分野】
【0001】
本発明は、蛍光読取装置および蛍光読取方法に関する。
続きを表示(約 1,000 文字)
【背景技術】
【0002】
特許文献1には、「レーザ光による励起により発生したバイオチップ60からの蛍光は、ダイクロイックミラー3、ダイクロイックミラー23、バリアフィルタ11および光学系12を介してCCDカメラ13に入射する。」(段落0040)と記載されている。特許文献2には、「リレー光学系51は、正のパワーを有する第1ミラー46、負のパワーを有する第2ミラー47、および、正のパワーを有する第3ミラー48を有する。ロッドインテグレータ45から出射した光は、リレー光学系51の第1ミラー46、第2ミラー47、および、第3ミラー48を介して、TIRプリズム53で全反射され、画像表示パネルであるDMD(第1光変調素子)49に照明される。」(段落0042)と記載されている。
[先行技術文献]
[特許文献]
[特許文献1] 特開2007-093250
[特許文献2] 特開2020-052342
【発明の概要】
【0003】
本発明の第1の態様においては、マイクロアレイの蛍光を取得する蛍光読取装置を提供する。蛍光読取装置は、前記マイクロアレイから放射される蛍光を複数のリフレクタで複数回反射して結像面に結像させる受光光学系と、前記結像面上に位置する光学センサとを備える。
【0004】
上記の蛍光読取装置は、前記マイクロアレイの撮像面と前記結像面とが等倍のテレセントリック光学系であってもよい。
【0005】
上記の何れかの蛍光読取装置において、前記受光光学系はレンズを含まなくてもよい。
【0006】
上記の何れかの蛍光読取装置において、前記複数のリフレクタは、凸面鏡および凹面鏡を含んでもよい。
【0007】
上記の何れかの蛍光読取装置において、前記凸面鏡および前記凹面鏡は球面鏡であってもよい。
【0008】
上記の何れかの蛍光読取装置において、前記複数のリフレクタは、1つの前記凸面鏡、および、1つの前記凹面鏡のみを含んでもよい。
【0009】
上記の何れかの蛍光読取装置において、前記複数のリフレクタは、2つの前記凸面鏡、および、2つの前記凹面鏡のみを含んでもよい。
【0010】
上記の何れかの蛍光読取装置において、前記複数のリフレクタは、1つの前記凸面鏡、1つの前記凹面鏡、および、1つのレトロリフレクタのみを含んでもよい。
(【0011】以降は省略されています)
この特許をJ-PlatPat(特許庁公式サイト)で参照する
関連特許
横河電機株式会社
測定器
3日前
横河電機株式会社
温度測定装置
3日前
横河電機株式会社
厚さ測定装置
1か月前
横河電機株式会社
藻類培養装置
13日前
横河電機株式会社
測定装置及び測定方法
今日
横河電機株式会社
測定装置および測定方法
1か月前
横河電機株式会社
ベースマップの注釈付け
27日前
横河電機株式会社
装置、方法及びプログラム
3日前
横河電機株式会社
測定方法及び測定システム
3日前
横河電機株式会社
電子機器及び短絡検出方法
2か月前
横河電機株式会社
研磨用治具および研磨方法
13日前
横河電機株式会社
測定装置および推定システム
1か月前
横河電機株式会社
測定装置および回転検出方法
1か月前
横河電機株式会社
装置、方法およびプログラム
13日前
横河電機株式会社
装置、方法およびプログラム
14日前
横河電機株式会社
装置、方法およびプログラム
23日前
横河電機株式会社
情報処理装置及び情報処理方法
22日前
横河電機株式会社
水処理システム及び水処理方法
27日前
横河電機株式会社
装置、方法、およびプログラム
13日前
横河電機株式会社
菌体培養槽および菌体培養方法
1日前
横河電機株式会社
装置、方法、およびプログラム
今日
横河電機株式会社
複合体、及び熱線吸収フィルム
2か月前
横河電機株式会社
複合体、及び熱線吸収フィルム
2か月前
横河電機株式会社
蛍光読取装置および蛍光読取方法
1日前
横河電機株式会社
システム、方法、およびプログラム
2か月前
横河電機株式会社
センサ装置、調整方法及び調整装置
1か月前
横河電機株式会社
メタン生成装置及びメタン生成方法
3日前
横河電機株式会社
表面散乱型濁度計及び濁度測定方法
1日前
横河電機株式会社
測定装置、測定方法、及びプログラム
6日前
横河電機株式会社
解析装置、訓練装置およびプログラム
1日前
横河電機株式会社
制御装置、制御システム及び制御方法
27日前
横河電機株式会社
測定装置、測定方法、及びプログラム
今日
横河電機株式会社
測定装置、測定方法、及びプログラム
今日
横河電機株式会社
診断システム、診断装置および診断方法
13日前
横河電機株式会社
設定装置、設定方法及び設定プログラム
2か月前
横河電機株式会社
監視方法、監視プログラム、及び監視装置
1か月前
続きを見る
他の特許を見る