TOP
|
特許
|
意匠
|
商標
特許ウォッチ
Twitter
他の特許を見る
10個以上の画像は省略されています。
公開番号
2025147200
公報種別
公開特許公報(A)
公開日
2025-10-06
出願番号
2025131788,2020187605
出願日
2025-08-06,2020-11-10
発明の名称
細菌検査デバイス及び細菌検査システム
出願人
シャープセミコンダクターイノベーション株式会社
,
国立大学法人京都大学
,
学校法人兵庫医科大学
代理人
弁理士法人 HARAKENZO WORLD PATENT & TRADEMARK
主分類
G01N
27/22 20060101AFI20250926BHJP(測定;試験)
要約
【課題】細菌を含む液体の誘電率変化を短時間で検出する。
【解決手段】細菌検査デバイス(1)は、ウェル(5)内に配置され被検査体(8)の誘
電率変化により発振周波数が変化する複数個の発振回路(6)を備え、発振回路(6)に
対応して誘電率変化を検知可能なセンシング領域が、寸法Xμm、Yμm、及びZμmを
有し、発振回路(6)の個数Nが、N≧log(0.001)・10
7
/(X・Y・Z)
、を満たす。
【選択図】図1
特許請求の範囲
【請求項1】
半導体集積回路と、
前記半導体集積回路の表面の一部を露出させるように前記半導体集積回路上に形成され
て検査対象とする液体を保持するウェルと、
前記ウェル内の前記半導体集積回路に配置され、前記液体の誘電率変化により発振周波
数が変化する複数個の発振回路とを備え、
前記複数個の発振回路のそれぞれに対応して、前記誘電率変化を検知可能なセンシング
領域が前記液体中に存在し、
各ウェル内の前記半導体集積回路に配置された前記発振回路の個数が、231個以上で
あることを特徴とする細菌検査デバイス。
続きを表示(約 820 文字)
【請求項2】
半導体集積回路と、
前記半導体集積回路の表面の一部を露出させるように前記半導体集積回路上に形成され
て検査対象とする液体を保持するウェルと、
前記ウェル内の前記半導体集積回路に配置され、前記液体の誘電率変化により発振周波
数が変化する複数個の発振回路とを備え、
前記複数個の発振回路のそれぞれに対応して、前記誘電率変化を検知可能なセンシング
領域が前記液体中に存在し、
前記センシング領域は、前記半導体集積回路の表面に沿って互いに交差する方向の寸法
Xμm及び寸法Yμmと、前記半導体集積回路の表面に交差する方向の寸法Zμmとを有
し、
前記発振回路の個数がN個であり、
前記Nが、
N≧log(0.001)・10
7
/(X・Y・Z)、
を満たすことを特徴とする細菌検査デバイス。
【請求項3】
前記半導体集積回路が複数個設けられ、
前記ウェルが各半導体集積回路上にそれぞれ形成され、
各ウェル内の前記半導体集積回路に配置された前記発振回路の個数が、231個以上で
ある請求項2に記載の細菌検査デバイス。
【請求項4】
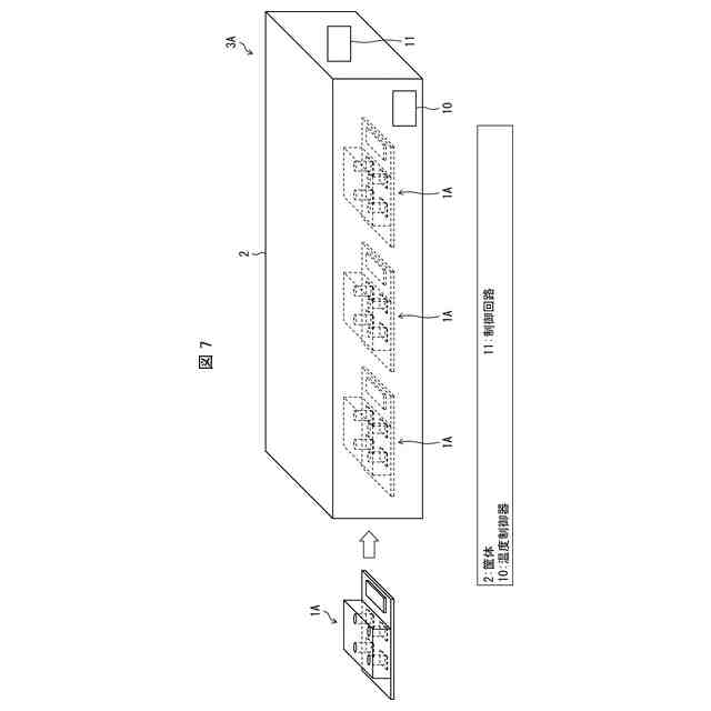
請求項1又は2に記載の細菌検査デバイスと、
前記細菌検査デバイスを内部に保持する筐体とを備え、
前記筐体が、その内部に保持した前記細菌検査デバイスを含む空間の温度を制御する温
度制御器を有することを特徴とする細菌検査システム。
【請求項5】
前記筐体が、前記細菌検査デバイスを制御する制御回路を有する請求項4に記載の細菌
検査システム。
【請求項6】
前記筐体が、複数個の細菌検査デバイスを内部に保持する請求項4又は5に記載の細菌
検査システム。
発明の詳細な説明
【技術分野】
【0001】
本発明は、半導体集積回路の表面に被検出体を接触させて、この被検出体の誘電率又は
誘電率変化を検知するセンサIC(Integrated Circuit:半導体集積回路)を備えた細菌
検査デバイス及び細菌検査システムに関する。
続きを表示(約 2,000 文字)
【背景技術】
【0002】
半導体集積回路の表面における同一平面上にセンサとして機能する複数の発振回路を千
鳥状に配置し、半導体集積回路の表面近傍に存在する被検出体における各部分の誘電率変
化の面内分布を観測するセンサICが従来技術として知られている(特許文献1、非特許
文献1)。
【先行技術文献】
【特許文献】
【0003】
特許第6486740号明細書(2019年3月1日登録)
【非特許文献】
【0004】
T.Mitsunaka, et.al, “CMOS Biosensor IC Focusing on Dielectric Relaxations of Biological Water with 120-GHz and 60-GHz Oscillator Arrays”, JSSC
【発明の概要】
【発明が解決しようとする課題】
【0005】
しかしながら、上述のような従来技術は以下の問題がある。図8は従来の細菌検査デバ
イスの構成を示す平面図である。図9は従来の細菌検査デバイスの動作を説明するための
平面図である。
【0006】
従来の細菌検査デバイスは、プリント配線基板上に形成された半導体集積回路94と、
半導体集積回路94の表面の一部を円形状に露出させるように半導体集積回路94上に形
成されて検査対象とする細菌98を含む液体を保持するウェル95と、ウェル95内の半
導体集積回路94に交互に互い違いに(千鳥状に)配置され、センサとして機能するよう
に上記液体の誘電率変化により発振周波数が変化する複数個の発振回路96とを備える。
【0007】
複数個の発振回路96のそれぞれに対して、上記誘電率変化を検知可能なセンシング領
域が、上記液体中において複数個の発振回路96のそれぞれの上方に各発振回路96の形
状に対応して存在する。この従来の細菌検査デバイスでは、図8に示すように、検査対象
の細菌98の菌濃度が低い場合、細菌98がセンシング領域の上に存在しない確率が高い
。このため、時間をかけて細菌98を培養し、図9に示すように、細菌98がセンシング
領域を覆うコロニー98A(菌集団)に成長してから誘電率変化の検出が可能となる。従
って、この従来の検出方法では、誘電率変化の検出のためには、細菌98が成長するまで
の時間がかかる上に、細菌98の菌濃度が低い場合、誘電率変化を定量化できないという
課題が存在する。
【0008】
本発明の一態様は、検査対象とする細菌を含む液体の誘電率変化を短時間で検出するこ
とができ、また、細菌の菌濃度が低い場合も誘電率変化を検出することができる細菌検査
デバイス及び細菌検査システムを実現することを目的とする。
【課題を解決するための手段】
【0009】
上記の課題を解決するために、本発明の一態様に係る細菌検査デバイスは、半導体集積
回路と、前記半導体集積回路の表面の一部を露出させるように前記半導体集積回路上に形
成されて検査対象とする液体を保持するウェルと、前記ウェル内の前記半導体集積回路に
配置され、前記液体の誘電率変化により発振周波数が変化する複数個の発振回路とを備え
、前記複数個の発振回路のそれぞれに対応して、前記誘電率変化を検知可能なセンシング
領域が前記液体中に存在し、各ウェル内の前記半導体集積回路に配置された前記発振回路
の個数が、231個以上であることを特徴とする。
【0010】
上記の課題を解決するために、本発明の一態様に係る他の細菌検査デバイスは、半導体
集積回路と、前記半導体集積回路の表面の一部を露出させるように前記半導体集積回路上
に形成されて検査対象とする液体を保持するウェルと、前記ウェル内の前記半導体集積回
路に配置され、前記液体の誘電率変化により発振周波数が変化する複数個の発振回路とを
備え、前記複数個の発振回路のそれぞれに対応して、前記誘電率変化を検知可能なセンシ
ング領域が前記液体中に存在し、前記センシング領域は、前記半導体集積回路の表面に沿
って互いに交差する方向の寸法Xμm及び寸法Yμmと、前記半導体集積回路の表面に交
差する方向の寸法Zμmとを有し、前記発振回路の個数がN個であり、前記Nが、N≧l
og(0.001)・10
7
/(X・Y・Z)、を満たすことを特徴とする。
(【0011】以降は省略されています)
特許ウォッチbot のツイートを見る
この特許をJ-PlatPat(特許庁公式サイト)で参照する
関連特許
個人
メジャー文具
7日前
個人
アクセサリー型テスター
今日
ユニパルス株式会社
ロードセル
6日前
日本精機株式会社
位置検出装置
13日前
日本精機株式会社
位置検出装置
13日前
日本精機株式会社
位置検出装置
13日前
アズビル株式会社
圧力センサ
12日前
トヨタ自動車株式会社
監視装置
5日前
エイブリック株式会社
磁気センサ回路
12日前
トヨタ自動車株式会社
検査装置
15日前
株式会社チノー
放射光測温装置
6日前
株式会社ヨコオ
ソケット
5日前
株式会社ユーシン
操作検出装置
15日前
株式会社ヨコオ
ソケット
6日前
ダイキン工業株式会社
監視装置
4日前
株式会社東芝
重量測定装置
11日前
TDK株式会社
ガスセンサ
12日前
TDK株式会社
磁気センサ
5日前
長崎県
形状計測方法
今日
TDK株式会社
ガスセンサ
6日前
TDK株式会社
ガスセンサ
11日前
東レエンジニアリング株式会社
計量装置
15日前
多摩川精機株式会社
冗長エンコーダ
5日前
中国電力株式会社
電柱管理システム
4日前
日本特殊陶業株式会社
センサ
4日前
日本特殊陶業株式会社
センサ
4日前
日本特殊陶業株式会社
センサ
4日前
日本特殊陶業株式会社
センサ
4日前
TDK株式会社
電磁波センサ
6日前
株式会社熊谷組
RI計測装置
13日前
三恵技研工業株式会社
融雪レドーム
5日前
日本特殊陶業株式会社
センサ
4日前
富士電機株式会社
エンコーダ
12日前
ダイハツ工業株式会社
移動支援装置
5日前
三菱マテリアル株式会社
温度センサ
7日前
コイト電工株式会社
座席濡れ検知装置
4日前
続きを見る
他の特許を見る