TOP
|
特許
|
意匠
|
商標
特許ウォッチ
Twitter
他の特許を見る
10個以上の画像は省略されています。
公開番号
2025149097
公報種別
公開特許公報(A)
公開日
2025-10-08
出願番号
2024049541
出願日
2024-03-26
発明の名称
電磁波センサ
出願人
TDK株式会社
代理人
個人
,
個人
主分類
G01J
1/04 20060101AFI20251001BHJP(測定;試験)
要約
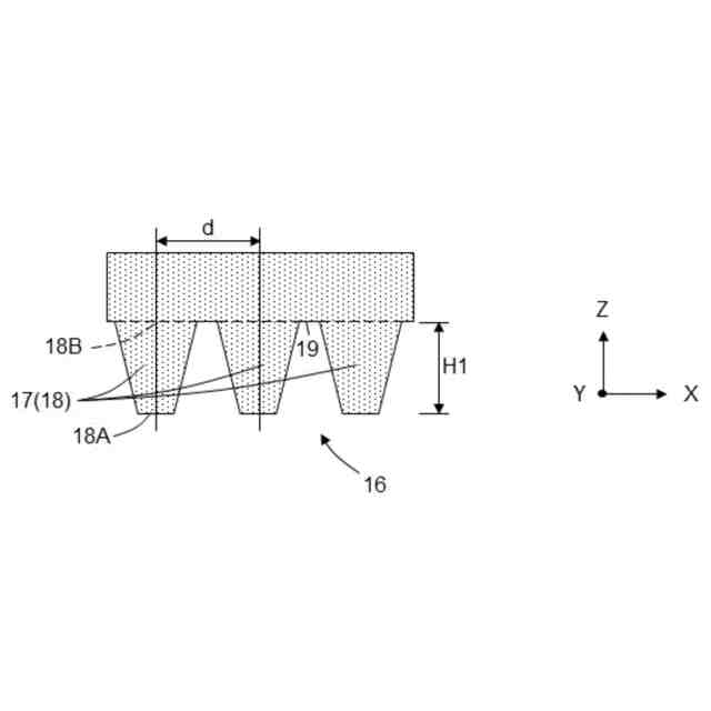
【課題】第2の基板の電磁波の透過比率を高める。
【解決手段】電磁波センサは、第1の基板と、第1の基板と対向し、第1の基板との間に内部空間5を形成し、電磁波を透過する第2の基板3と、内部空間5に設けられた複数の電磁波検知素子6と、を有している。第2の基板3は第1の基板と対向する内側面3Aを有し、内側面3Aは複数の電磁波検知素子6と対向する複数の素子対向領域14を有している。複数の素子対向領域14は凹凸構造16を有し、凹凸構造16は複数の凹部24または複数の凸部18からなる複数の凹凸要素17を有している。第1の基板と第2の基板3が対向する方向Zからみて、凹凸要素17の中心と当該凹凸要素17に最も近接する凹凸要素17の中心との間隔dが8μm未満である。
【選択図】図3
特許請求の範囲
【請求項1】
第1の基板と、
前記第1の基板と対向し、前記第1の基板との間に内部空間を形成し、電磁波を透過する第2の基板と、
前記内部空間に設けられた複数の電磁波検知素子と、を有し、
前記第2の基板は前記第1の基板と対向する内側面を有し、
前記内側面は前記複数の電磁波検知素子と対向する複数の素子対向領域を有し、
前記複数の素子対向領域は凹凸構造を有し、
前記凹凸構造は複数の凹部または複数の凸部からなる複数の凹凸要素を有し、前記第1の基板と前記第2の基板が対向する方向からみて、前記凹凸要素の中心と当該凹凸要素に最も近接する凹凸要素の中心との間隔が8μm未満である、電磁波センサ。
続きを表示(約 1,100 文字)
【請求項2】
前記第2の基板は、前記内側面の裏面である外側面を有し、
前記外側面に設けられた反射防止膜をさらに有する、請求項1に記載の電磁波センサ。
【請求項3】
前記外側面の、前記方向において前記複数の素子対向領域と対向する複数の領域は平坦である、請求項2に記載の電磁波センサ。
【請求項4】
前記複数の電磁波検知素子の各々を支持する支持部を有し、
前記内側面は前記複数の素子対向領域の間に位置する境界領域を有し、
前記支持部は前記境界領域に支持されている、請求項1に記載の電磁波センサ。
【請求項5】
前記境界領域に、前記支持部と前記第2の基板との間に設けられた絶縁膜を有する、請求項4に記載の電磁波センサ。
【請求項6】
前記絶縁膜に支持され、前記電磁波検知素子と電気的に接続された配線を有する、請求項5に記載の電磁波センサ。
【請求項7】
前記複数の凹凸要素は複数の凸部であり、
前記内側面は前記境界領域において支持凸部を有し、
前記支持部は前記支持凸部の先端面で支持され、
前記方向からみて、前記支持凸部の前記先端面に配置可能な最大円の直径が、前記凸部の頂部に配置可能な最大円の直径より大きい、請求項4に記載の電磁波センサ。
【請求項8】
前記複数の凹凸要素は複数の凸部であり、
前記内側面は前記境界領域において前記複数の凸部の頂部に対し引き込んだ支持凹部を有し、
前記支持部は前記支持凹部の底面で支持され、
前記方向からみて、前記支持凹部の前記底面に配置可能な最大円の直径が、前記素子対向領域において前記複数の凸部の基部の間に配置可能な最大円の直径より大きい、請求項4に記載の電磁波センサ。
【請求項9】
前記複数の凹凸要素は複数の凹部であり、
前記内側面は前記境界領域において前記複数の凹部の底面に対し突き出た支持凸部を有し、
前記支持部は前記支持凸部の先端面で支持され、
前記方向からみて、前記支持凸部の先端面に配置可能な最大円の直径が、前記素子対向領域において前記複数の凹部の開口の間に配置可能な最大円の直径より大きい、請求項4に記載の電磁波センサ。
【請求項10】
前記複数の凹凸要素は複数の凹部であり、
前記内側面は前記境界領域において支持凹部を有し、
前記支持部は前記支持凹部の底面で支持され、
前記方向からみて、前記支持凹部の前記底面に配置可能な最大円の直径が、前記凹部の底面に配置可能な最大円の直径より大きい、請求項4に記載の電磁波センサ。
(【請求項11】以降は省略されています)
発明の詳細な説明
【技術分野】
【0001】
本開示は電磁波センサに関する。
続きを表示(約 2,200 文字)
【背景技術】
【0002】
赤外線などの電磁波を検知するセンサが知られている。特許文献1には第1の基板と、第1の基板と対向する第2の基板と、第1の基板との第2の基板との間に配置された電磁波検知素子と、を有する電磁波センサが記載されている。電磁波検知素子は第2の基板を透過した電磁波を検出する。
【先行技術文献】
【特許文献】
【0003】
国際公開第2019/171488号
【発明の概要】
【発明が解決しようとする課題】
【0004】
電磁波の検出感度を高めるためには、電磁波検知素子に入力される電磁波の強度を高めることが望ましく、そのためには第2の基板の電磁波の透過比率を高めることが望ましい。
【課題を解決するための手段】
【0005】
本開示の電磁波センサは、電磁波センサは、第1の基板と、第1の基板と対向し、第1の基板との間に内部空間を形成し、電磁波を透過する第2の基板と、内部空間に設けられた複数の電磁波検知素子と、を有している。第2の基板は第1の基板と対向する内側面を有し、内側面は複数の電磁波検知素子と対向する複数の素子対向領域を有している。複数の素子対向領域は凹凸構造を有し、凹凸構造は複数の凹部または複数の凸部からなる複数の凹凸要素を有している。第1の基板と第2の基板が対向する方向からみて、凹凸要素の中心と当該凹凸要素に最も近接する凹凸要素の中心との間隔が8μm未満である。
【発明の効果】
【0006】
本開示によれば第2の基板の電磁波の透過比率を高めることができる。
【図面の簡単な説明】
【0007】
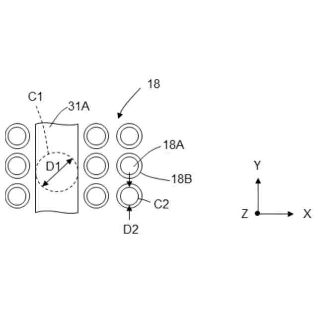
第1の実施形態に係る赤外線センサの概略側方側面図である。
図1に示す赤外線センサの部分平面図である。
図1に示す赤外線センサの第2の基板の部分拡大断面図である。
図3のC部拡大図である。
第2の基板の内側面の概念的な斜視図である。
第2の基板の内側面の概念的な部分平面図である。
シミュレーションで用いたモデルの概要図である。
シミュレーション結果を示すグラフである。
凹凸構造の形成方法を示す断面図である。
凸部の変形例を示す断面図である。
第1の実施形態の変形例に係る第2の基板の部分拡大断面図である。
図11に示す第2の基板の内側面の概念的な斜視図である。
図11に示す第2の基板の内側面の概念的な部分平面図である。
第2の実施形態に係る赤外線センサの第2の基板の部分拡大断面図である。
図14のE部拡大図である。
第2の基板の内側面の概念的な斜視図である。
図14に示す第2の基板の内側面の概念的な部分平面図である。
シミュレーションで用いたモデルの概要図である。
シミュレーション結果を示すグラフである。
第2の実施形態の変形例に係る第2の基板の部分拡大断面図である。
図20に示す第2の基板の内側面の概念的な斜視図である。
図20に示す第2の基板の内側面の概念的な部分平面図である。
【発明を実施するための形態】
【0008】
以下図面を参照して、本開示の電磁波センサの実施形態について説明する。図面は本開示を例示するための模式図であり、要素の形状や寸法が図面間で一致していない場合がある。以下の説明及び図面において、X方向及びY方向は第1の基板2の主面2A及び第2の基板3の主面3Aと平行な向きである。主面2A、3Aは第1の基板2及び第2の基板3の互いに対向する面である。X方向とY方向は互いに直交している。Z方向はX方向及びY方向と直交する方向であり、第1の基板2の主面2A及び第2の基板3の主面3Aと垂直な方向、または第1の基板2と第2の基板3とが対向する方向である。
【0009】
以下の実施形態では、電磁波センサの一例として赤外線センサについて説明する。赤外線センサは主に赤外線カメラの撮像素子として利用される。赤外線カメラは暗所での暗視スコープ、暗視ゴーグルとして利用できるほか、人や物の温度測定などに利用可能である。本開示の電磁波センサは、波長が概ね8μm以上の赤外線を検知する赤外線センサに適用することができるが、検知対象は赤外線に限定されない。本開示は例えばテラヘルツ波などの電磁波を検出する電磁波センサにも適用できる。
【0010】
(第1の実施形態)
図1は赤外線センサ1の概略側方側面図である。赤外線センサ1は互いに対向して配置された第1の基板2及び第2の基板3と、第1の基板2と第2の基板3とを接続し周方向に周回する側壁4と、を有している。第1の基板2と第2の基板3と側壁4とによって、密閉された内部空間5が形成されている。内部空間5には、赤外線センサ1のセンシング部として機能する複数の電磁波検知素子6が設けられている。内部空間5は負圧ないしは真空にされているため、内部空間5での気体の対流が防止または抑制され、電磁波検知素子6への熱的影響を軽減することができる。
(【0011】以降は省略されています)
この特許をJ-PlatPat(特許庁公式サイト)で参照する
関連特許
TDK株式会社
センサ
6日前
TDK株式会社
電子部品
2か月前
TDK株式会社
電子部品
1か月前
TDK株式会社
電子部品
1か月前
TDK株式会社
電子部品
1か月前
TDK株式会社
電子部品
1か月前
TDK株式会社
電子部品
6日前
TDK株式会社
電子部品
6日前
TDK株式会社
電子部品
1か月前
TDK株式会社
電子部品
10日前
TDK株式会社
太陽電池
2か月前
TDK株式会社
フィルタ
10日前
TDK株式会社
電子部品
10日前
TDK株式会社
センサ装置
7日前
TDK株式会社
コイル部品
10日前
TDK株式会社
コイル部品
10日前
TDK株式会社
ガスセンサ
7日前
TDK株式会社
光検知装置
7日前
TDK株式会社
コイル装置
14日前
TDK株式会社
コイル部品
14日前
TDK株式会社
温度センサ
21日前
TDK株式会社
コイル部品
8日前
TDK株式会社
コイル部品
10日前
TDK株式会社
コイル部品
6日前
TDK株式会社
磁気センサ
1か月前
TDK株式会社
コイル部品
2か月前
TDK株式会社
ガスセンサ
1か月前
TDK株式会社
ガスセンサ
1日前
TDK株式会社
コイル部品
1か月前
TDK株式会社
コイル部品
1か月前
TDK株式会社
磁気センサ
1か月前
TDK株式会社
磁気センサ
1か月前
TDK株式会社
磁気センサ
1か月前
TDK株式会社
磁気センサ
1か月前
TDK株式会社
コイル部品
2日前
TDK株式会社
ガスセンサ
10日前
続きを見る
他の特許を見る