TOP
|
特許
|
意匠
|
商標
特許ウォッチ
Twitter
他の特許を見る
10個以上の画像は省略されています。
公開番号
2025149594
公報種別
公開特許公報(A)
公開日
2025-10-08
出願番号
2024050336
出願日
2024-03-26
発明の名称
ユーザ装置、5G移動体通信システム、及びユーザ装置の制御方法
出願人
KDDI株式会社
代理人
個人
,
個人
,
個人
主分類
H04W
24/10 20090101AFI20251001BHJP(電気通信技術)
要約
【課題】クロスリンク干渉の影響を好適に制御する。
【解決手段】ユーザ装置は、メモリとプロセッサとを備える5G移動体通信システムのユーザ装置であって、基地局により割り当てられたリソースブロックを用いて、ビームスイープを行い、前記ビームスイープを行った結果、隣接するユーザ装置により測定された干渉波のノイズ強度に基づく情報を取得し、干渉するビームに関する情報に基づき、使用するビームを決定する。
【選択図】図7
特許請求の範囲
【請求項1】
メモリとプロセッサとを備える5G移動体通信システムのユーザ装置であって、
基地局により割り当てられたリソースブロックを用いて、ビームスイープを行い、
前記ビームスイープを行った結果、隣接するユーザ装置により測定された干渉波のノイズ強度に基づく情報を取得し、
干渉するビームに関する情報に基づき、使用するビームを決定する、
ユーザ装置。
続きを表示(約 1,500 文字)
【請求項2】
前記ビームスイープを行った結果として、隣接するユーザ装置により測定された干渉波のノイズ強度に基づき、干渉すると判定されたビームのインデックスを取得し、
干渉すると判定されたビームのインデックスを除いて、使用するビームを決定する、
請求項1に記載のユーザ装置。
【請求項3】
前記ビームスイープを行った結果として、隣接するユーザ装置により測定された干渉波の干渉波と所望波との割合に関する情報を取得し、
干渉波と所望波との割合に基づき、使用するビームを決定する、
請求項1又は請求項2に記載のユーザ装置。
【請求項4】
前記ビームスイープを行った結果として、隣接するユーザ装置により測定された干渉波のノイズ強度に基づき、干渉すると判定されたビームのインデックスと、干渉波と所望波との割合に関する情報を取得し、
基地局から、自身に隣接するユーザ装置の数に関する情報を取得し、
自身に隣接するユーザ装置の数が少ない場合は干渉すると判定されたビームのインデックスに基づき使用するビームを決定し、自身に隣接するユーザ装置の数が多い場合は干渉波の割合に基づき使用するビームを決定する、
請求項1に記載のユーザ装置。
【請求項5】
前記ビームスイープを行った結果、隣接するユーザ装置により測定された干渉波のノイズ強度に基づく情報を、隣接するユーザ装置から、基地局を経由して取得する、
請求項1又は請求項2に記載のユーザ装置。
【請求項6】
前記ビームスイープを行った結果、隣接するユーザ装置により測定された干渉波のノイズ強度に基づく情報を、隣接するユーザ装置から、基地局を経由せず取得する、
請求項1又は請求項2に記載のユーザ装置。
【請求項7】
メモリとプロセッサとを備えるユーザ装置と、基地局とを備える5G移動体通信システムであって、
前記基地局は、前記ユーザ装置に対してビームスイープをスケジューリングし、
前記ユーザ装置は、
基地局により割り当てられたリソースブロックを用いて、ビームスイープを行い、
前記ビームスイープを行った結果、隣接するユーザ装置により測定された干渉波のノイズ強度に基づく情報を取得し、
干渉するビームに関する情報に基づき、使用するビームを決定する、
5G移動体通信システム。
【請求項8】
前記基地局は、ユーザ装置が前記ビームスイープを行った結果、隣接する複数のユーザ装置により測定された干渉波のノイズ強度に基づく情報を、隣接する複数のユーザ装置それぞれから取得し、
隣接する複数のユーザ装置それぞれから取得した干渉波のノイズ強度に基づく情報を、前記ビームスイープを行ったユーザ装置に対して送信する、
請求項7に記載の5G移動体通信システム。
【請求項9】
前記基地局は、ユーザ装置の位置情報に基づき、隣接するユーザ装置を判定し、
隣接するユーザ装置に対し、干渉波のノイズ強度測定をスケジューリングする、
請求項7又は請求項8に記載の5G移動体通信システム。
【請求項10】
メモリとプロセッサとを備える5G移動体通信システムのユーザ装置の制御方法であって、
基地局により割り当てられたリソースブロックを用いて、ビームスイープを行い、
前記ビームスイープを行った結果、隣接するユーザ装置により測定された干渉波のノイズ強度に基づく情報を取得し、
干渉するビームに関する情報に基づき、使用するビームを決定する、
ユーザ装置の制御方法。
発明の詳細な説明
【技術分野】
【0001】
本発明は、ユーザ装置、5G移動体通信システム、及びユーザ装置の制御方法に関する。
続きを表示(約 3,500 文字)
【背景技術】
【0002】
5G移動体通信システムにおいて、基地局間の干渉及びユーザ装置間の干渉(以下、クロスリンク干渉(Cross-link interference:CLI)と記載する場合がある)の影響を好適に制御することが課題として知られていた。従来、クロスリンク干渉を測定する技術として、特許文献1に記載されたような技術が知られている。
【先行技術文献】
【特許文献】
【0003】
特開2023―052199号公報
【発明の概要】
【発明が解決しようとする課題】
【0004】
クロスリンク干渉のうち、特にユーザ装置間の干渉においては、ユーザ装置の移動により位置関係が変動するため、ユーザ装置間の位置関係の変動に伴い、干渉の特性も大きく変動する。したがって、好適に干渉の影響を制御することができないといった課題があった。例えば、ユーザ装置のビーム選択に、ユーザ装置間の干渉を考慮するには、隣接するユーザ装置への干渉となり得るビームを知ることを要する。しかしながら、現在、ユーザ装置がビームスイープする際に、干渉するビームを特定し、フィードバックし、ビームの選択候補から外すといった手段がなかった。
【0005】
本発明は、このような事情を考慮してなされたものであり、その目的は、クロスリンク干渉の影響を好適に制御することが可能なユーザ装置、5G移動体通信システム、及びユーザ装置の制御方法を提供することにある。
【課題を解決するための手段】
【0006】
(1)本発明の一態様は、メモリとプロセッサとを備える5G移動体通信システムのユーザ装置であって、基地局により割り当てられたリソースブロックを用いて、ビームスイープを行い、前記ビームスイープを行った結果、隣接するユーザ装置により測定された干渉波のノイズ強度に基づく情報を取得し、干渉するビームに関する情報に基づき、使用するビームを決定する、ユーザ装置である。
(2)また、本発明の一態様は、上述した(1)のユーザ装置は、前記ビームスイープを行った結果として、隣接するユーザ装置により測定された干渉波のノイズ強度に基づき、干渉すると判定されたビームのインデックスを取得し、干渉すると判定されたビームのインデックスを除いて、使用するビームを決定するものである。
(3)また、本発明の一態様は、上述した(1)又は(2)のユーザ装置は、前記ビームスイープを行った結果として、隣接するユーザ装置により測定された干渉波の干渉波と所望波との割合に関する情報を取得し、干渉波と所望波との割合に基づき、使用するビームを決定するものである。
(4)また、本発明の一態様は、上述した(1)から(3)のいずれかのユーザ装置は、前記ビームスイープを行った結果として、隣接するユーザ装置により測定された干渉波のノイズ強度に基づき、干渉すると判定されたビームのインデックスと、干渉波と所望波との割合に関する情報と、を取得し、基地局から、自身に隣接するユーザ装置の数に関する情報を取得し、自身に隣接するユーザ装置の数が少ない場合は干渉すると判定されたビームのインデックスに基づき使用するビームを決定し、自身に隣接するユーザ装置の数が多い場合は干渉波の割合に基づき使用するビームを決定するものである。
(5)また、本発明の一態様は、上述した(1)から(4)のいずれかのユーザ装置は、前記ビームスイープを行った結果、隣接するユーザ装置により測定された干渉波のノイズ強度に基づく情報を、隣接するユーザ装置から、基地局を経由して取得するものである。
(6)また、本発明の一態様は、上述した(1)から(5)のいずれかのユーザ装置は、前記ビームスイープを行った結果、隣接するユーザ装置により測定された干渉波のノイズ強度に基づく情報を、隣接するユーザ装置から、基地局を経由せず取得するものである。
(7)また、本発明の一態様は、メモリとプロセッサとを備えるユーザ装置と、基地局とを備える5G移動体通信システムであって、前記基地局は、前記ユーザ装置に対してビームスイープをスケジューリングし、前記ユーザ装置は、基地局により割り当てられたリソースブロックを用いて、ビームスイープを行い、前記ビームスイープを行った結果、隣接するユーザ装置により測定された干渉波のノイズ強度に基づく情報を取得し、干渉するビームに関する情報に基づき、使用するビームを決定する、5G移動体通信システムである。
(8)また、本発明の一態様は、上述した(7)の5G移動体通信システムは、前記基地局は、ユーザ装置が前記ビームスイープを行った結果、隣接する複数のユーザ装置により測定された干渉波のノイズ強度に基づく情報を、隣接する複数のユーザ装置それぞれから取得し、隣接する複数のユーザ装置それぞれから取得した干渉波のノイズ強度に基づく情報を、前記ビームスイープを行ったユーザ装置に対して送信するものである。
(9)また、本発明の一態様は、上述した(7)又は(8)の5G移動体通信システムにおいて、前記基地局は、ユーザ装置の位置情報に基づき、隣接するユーザ装置を判定し、隣接するユーザ装置に対し、干渉波のノイズ強度測定をスケジューリングするものである。
(10)また、本発明の一態様は、メモリとプロセッサとを備える5G移動体通信システムのユーザ装置の制御方法であって、基地局により割り当てられたリソースブロックを用いて、ビームスイープを行い、前記ビームスイープを行った結果、隣接するユーザ装置により測定された干渉波のノイズ強度に基づく情報を取得し、干渉するビームに関する情報に基づき、使用するビームを決定する、ユーザ装置の制御方法である。
【発明の効果】
【0007】
本発明によれば、クロスリンク干渉の影響を好適に制御することが可能なユーザ装置、5G移動体通信システム、及びユーザ装置を提供することができるという効果が得られる。
【図面の簡単な説明】
【0008】
第1の実施形態に係る5G移動体通信システムの構成と、クロスリンク干渉について説明するための図である。
第1の実施形態に係る5G移動体通信システムの機能構成を示す機能構成図である。
第1の実施形態に係る5G移動体通信システムにおけるアップリンク時のクロスリンク干渉の影響を制御するための処理を示すシーケンス図である。
第1の実施形態に係る5G移動体通信システムにおけるダウンリンク時のクロスリンク干渉の影響を制御するための処理を示すシーケンス図である。
第2の実施形態に係るユーザ装置のビームフォーミングの一例について説明するための図である。
第2の実施形態に係るユーザ装置のビームフォーミングの結果、干渉が測定されたビームのIDを示す図である。
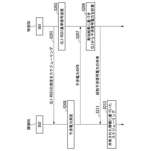
第2の実施形態に係る干渉ビームの測定結果を、基地局からユーザ装置に共有する場合のシーケンス図である。
第2の実施形態に係る干渉ビームの測定結果を、ユーザ装置間で共有する場合のシーケンス図である。
本実施形態に係る基地局の内部構成の一例を示すブロック図である。
【発明を実施するための形態】
【0009】
本発明の態様に係るユーザ装置、5G移動体通信システム、及びユーザ装置について、好適な実施の形態を掲げ、添付の図面を参照しながら以下、詳細に説明する。なお、本発明の態様は、これらの実施の形態に限定されるものではなく、多様な変更または改良を加えたものも含まれる。つまり、以下に記載した構成要素には、当業者が容易に想定できるもの、実質的に同一のものが含まれ、以下に記載した構成要素は適宜組み合わせることが可能である。また、本発明の要旨を逸脱しない範囲で構成要素の種々の省略、置換または変更を行うことができる。また、以下の図面においては、各構成をわかりやすくするために、各構造における縮尺および数等を、実際の構造における縮尺および数等と異ならせる場合がある。
【0010】
[第1の実施形態]
まず、図1から図4を参照しながら、第1の実施形態について説明する。
(【0011】以降は省略されています)
この特許をJ-PlatPat(特許庁公式サイト)で参照する
関連特許
KDDI株式会社
基地局及び基地局の制御方法
4日前
KDDI株式会社
情報処理装置及び情報処理方法
6日前
KDDI株式会社
情報処理装置及び情報処理方法
5日前
KDDI株式会社
基地局装置およびその通信方法
6日前
KDDI株式会社
情報処理装置及び情報処理方法
5日前
KDDI株式会社
情報処理装置及び情報処理方法
5日前
KDDI株式会社
制御装置、方法及びプログラム
5日前
KDDI株式会社
情報処理装置及び情報処理方法
4日前
KDDI株式会社
情報処理装置、方法及びプログラム
4日前
KDDI株式会社
情報処理装置、学習装置及びプログラム
5日前
KDDI株式会社
基地局装置、端末装置及び無線通信方法
4日前
KDDI株式会社
プログラム、情報処理端末及び情報処理方法
5日前
KDDI株式会社
情報処理装置、情報処理方法及びプログラム
5日前
KDDI株式会社
情報処理装置、情報処理方法及びプログラム
7日前
KDDI株式会社
情報処理装置、情報処理方法及びプログラム
6日前
KDDI株式会社
情報処理装置、情報処理方法及びプログラム
5日前
KDDI株式会社
情報処理装置、情報処理方法及びプログラム
7日前
KDDI株式会社
情報処理装置、情報処理方法及びプログラム
5日前
KDDI株式会社
情報処理装置、情報処理方法及びプログラム
5日前
KDDI株式会社
情報処理装置、情報処理方法及びプログラム
5日前
KDDI株式会社
情報処理装置、情報処理方法及びプログラム
5日前
KDDI株式会社
ネットワーク制御方法、システム及びプログラム
7日前
KDDI株式会社
通知装置、通知方法、通知システム及びプログラム
4日前
KDDI株式会社
基地局、5G移動体通信システム及び基地局の制御方法
6日前
KDDI株式会社
周波数変換装置、アンテナサイト、および周波数変換方法
6日前
KDDI株式会社
無線システム、無線中継装置、無線端末及び無線中継方法
6日前
KDDI株式会社
ネットワーク障害情報補正システム、方法及びプログラム
7日前
KDDI株式会社
ユーザ装置、5G移動体通信システム及びユーザ装置の制御方法
5日前
KDDI株式会社
移動通信ネットワーク、無線デバイス及びコンピュータプログラム
7日前
KDDI株式会社
ユーザ装置、5G移動体通信システム、及びユーザ装置の制御方法
6日前
KDDI株式会社
端末装置、基地局装置、通信システム、制御方法、およびプログラム
4日前
KDDI株式会社
サイバー攻撃影響度評価装置、評価システム、評価方法及びプログラム
6日前
KDDI株式会社
量子コンピュータ制御装置、量子ウォークシステム及び量子コンピュータ
7日前
KDDI株式会社
複数の反射板を制御する基地局装置、制御装置、制御方法、及びプログラム
6日前
KDDI株式会社
情報処理装置及び情報処理方法
11日前
KDDI株式会社
RLC-AMにおける不要な送信を防ぐための端末装置、基地局装置、及び制御方法
4日前
続きを見る
他の特許を見る