TOP
|
特許
|
意匠
|
商標
特許ウォッチ
Twitter
他の特許を見る
公開番号
2025147913
公報種別
公開特許公報(A)
公開日
2025-10-07
出願番号
2024048423
出願日
2024-03-25
発明の名称
ネットワーク障害情報補正システム、方法及びプログラム
出願人
KDDI株式会社
代理人
個人
,
個人
主分類
G06F
11/07 20060101AFI20250930BHJP(計算;計数)
要約
【課題】仮想ネットワークにおいてノード間の依存関係に基づいて障害情報を修正する。
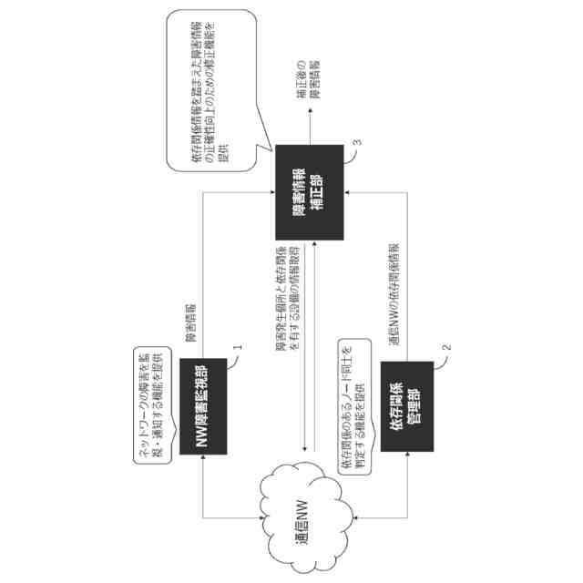
【解決手段】NW障害監視部1は、通信NWにおけるサービス影響や異常を検知して障害情報を通知する。依存関係管理部2は、運用者が定める基準やロジックに基づいて関連性(依存関係)を有するノード同士を判定し、通信NWの依存関係情報として出力する。障害情報補正部3は、依存関係管理部2が出力する依存関係情報に基づいて通信NWの障害情報を補正し、補正後の障害情報を出力する。
【選択図】図1
特許請求の範囲
【請求項1】
仮想ネットワークの障害情報を補正するネットワーク障害情報補正システムにおいて、
仮想ネットワークの障害を監視して障害情報を出力する手段と、
仮想ネットワークを構成する各ノードの依存関係を判定する手段と、
前記障害情報を前記依存関係に基づいて補正する手段とを具備し、
前記補正する手段は、前記障害情報に記述された被疑ノードと依存関係にあるノードのログ情報を仮想ネットワークから取得し、当該当ログ情報に基づいて前記障害情報を修正することを特徴とするネットワーク障害情報補正システム。
続きを表示(約 1,100 文字)
【請求項2】
前記補正する手段は、エラーログ情報に基づいて前記障害情報の被疑ノードを修正する手段を具備したことを特徴とする請求項1に記載のネットワーク障害情報補正システム。
【請求項3】
前記補正する手段は、前記修正した被疑ノードに基づいて、前記障害情報の障害発生時刻情報を修正する手段を具備したことを特徴とする請求項2に記載のネットワーク障害情報補正システム。
【請求項4】
前記補正する手段は、前記修正した被疑ノードに基づいて、前記障害情報において何が起こっているかを記述した情報を修正する手段を具備したことを特徴とする請求項2に記載のネットワーク障害情報補正システム。
【請求項5】
前記補正する手段は、前記依存関係に基づいて、被疑ノードから他の各ノードまでのホップ数を求めて所定のホップ数内の各ノードからログ情報を取得し、当該ログ情報に異常発生の記録があるノードを前記障害情報に被疑ノードとして追加することを特徴とする請求項1ないし4のいずれかに記載のネットワーク障害情報補正システム。
【請求項6】
前記補正する手段は、前記依存関係に基づいて被疑ノードから他の各ノードまでのホップ数を求め、被疑ノードからのホップ数が所定のホップ数を超えるノードを被疑ノードから除外することを特徴とする請求項1ないし4のいずれかに記載のネットワーク障害情報補正システム。
【請求項7】
仮想ネットワークの障害情報をコンピュータが補正するネットワーク障害情報補正方法において、
仮想ネットワークの障害を監視して障害情報を出力し、
仮想ネットワークを構成する各ノードの依存関係を判定し、
前記障害情報を前記依存関係に基づいて、前記障害情報に記述された被疑ノードと依存関係にあるノードのログ情報を仮想ネットワークから取得し、当該当ログ情報に基づいて前記障害情報を修正することを特徴とするネットワーク障害情報補正方法。
【請求項8】
仮想ネットワークの障害情報を補正するネットワーク障害情報補正プログラムにおいて、
仮想ネットワークの障害を監視して障害情報を出力する手順と、
仮想ネットワークを構成する各ノードの依存関係を判定する手順と、
前記障害情報を前記依存関係に基づいて補正する手順とコンピュータに実行させ、
前記補正する手順では、前記障害情報に記述された被疑ノードと依存関係にあるノードのログ情報を仮想ネットワークから取得し、当該当ログ情報に基づいて前記障害情報を修正することを特徴とするネットワーク障害情報補正プログラム。
発明の詳細な説明
【技術分野】
【0001】
本発明は、ネットワーク障害情報補正システム、方法及びプログラムに係り、特に、ネットワーク運用管理において、障害情報を自動収集して補正するネットワーク障害情報補正システム、方法及びプログラムに関する。
続きを表示(約 2,000 文字)
【背景技術】
【0002】
特許文献1には、仮想ネットワークシステムにおいて適切な復旧処置をとる障害監視装置として、仮想ネットワーク機器から障害が発生した旨を示す通知を取得する通知取得部と、通知を取得した前記仮想ネットワーク機器、当該仮想ネットワーク機器を実装する物理機器および当該仮想ネットワーク機器と依存関係を有する他の仮想ネットワーク機器のうち、障害対応の優先度が最も高いものについて復旧処置を実行する復旧処置部とを備える障害監視装置が開示されている。
【先行技術文献】
【特許文献】
【0003】
WO2016/125387
【発明の概要】
【発明が解決しようとする課題】
【0004】
通信NWの運用では、いつ、どこで、どんな障害が、何が原因で発生し、いつ復旧したかに関する障害情報が記録される。しかしながら、障害同士の関連性やノードの依存関係がわからない場合、障害の発生/復旧時間や被疑ノードを正確に捉えきれない場合があり、障害情報を利用したシステム(例えば障害検知・原因特定システム)の性能に支障をきたす可能性がある。特許文献1は、ノードの依存関係をテーブル形式で管理する機能を開示するものの、障害の伝搬に影響する障害情報を捕捉・修正することができない。
【0005】
本発明の目的は、上記の技術課題を解決し、仮想ネットワークにおいてノード間の依存関係に基づいて障害情報を修正できるネットワーク障害情報補正システム、方法及びプログラムを提供することにある。
【課題を解決するための手段】
【0006】
上記の目的を達成するために、本発明は、仮想ネットワークの障害情報を補正するネットワーク障害情報補正システムにおいて、仮想ネットワークの障害を監視して障害情報を生成する手段と、仮想ネットワークを構成する各ノードの依存関係を判定する手段と、障害情報を依存関係に基づいて補正する手段とを具備し、障害情報に記述された被疑ノードと依存関係にあるノードのログ情報を仮想ネットワークから取得し、当該当ログ情報に基づいて障害情報を修正するようにした。
【発明の効果】
【0007】
本発明によれば、仮想ネットワークにおいてノード間の依存関係に基づいて障害情報を修正できるので、障害の発生したノードとの依存関係が無いノードを被疑ノードと誤認する可能性や、障害の発生したノードとの依存関係が有るノードを被疑ノードではないと誤認する可能性を低減できる。
【図面の簡単な説明】
【0008】
本発明の一実施形態に係るネットワーク障害情報補正システムの主要部の構成を示したブロック図である。
NW障害監視部の構成を示したブロック図である。
依存関係管理部の構成を示したブロック図である。
障害情報補正部の構成を示したブロック図である。
通信NWの主要部の構成を示した機能ブロック図である。
通信NWに想定される障害の例を示した図である。
通信NWに想定される障害によるサービス影響発生のタイミングを示した図である。
NW障害に対してNW障害監視部が出力する障害情報の例を示した図である。
依存関係管理部における依存関係抽出機能の例を示した図である。
障害情報補正部の被疑ノード情報修正機能による修正手順を示したフローチャートである。
隣接行列を用いて依存関係の抽出する例を示した図である。
各ノードが発出するエラーログの例を示した図である。
障害発生時刻情報修正機能の動作を示したフローチャートである。
障害原因情報修正機能の動作を示したフローチャートである。
修正後の障害情報の例を示した図である。
【発明を実施するための形態】
【0009】
以下、図面を参照して本発明の実施の形態について詳細に説明する。図1は、本発明の一実施形態に係るネットワーク障害情報補正システムの主要部の構成を示したブロック図であり、通信ネットワーク(NW)、NW障害監視部1、依存関係管理部2及び障害情報補正部3を主要な構成としている。
【0010】
このようなネットワーク障害情報補正システムは、CPU、ROM、RAM、バス、インタフェース等を備えた少なくとも1台の汎用のコンピュータやサーバに、以下に詳述する各機能を実現するアプリケーション(プログラム)を実装することで構成できる。あるいはアプリケーションの一部をハードウェア化またはソフトウェア化した専用機や単能機としても構成できる。
(【0011】以降は省略されています)
この特許をJ-PlatPat(特許庁公式サイト)で参照する
関連特許
個人
地球保全システム
8日前
個人
残土処理システム
1日前
個人
知的財産出願支援システム
2日前
株式会社キーエンス
受発注システム
7日前
個人
食品レシピ生成システム
7日前
株式会社キーエンス
受発注システム
7日前
株式会社キーエンス
受発注システム
7日前
個人
帳票自動生成型SaaSシステム
2日前
キヤノン株式会社
表示システム
7日前
個人
音声・通知・再配達UX制御構造
2日前
個人
マーケティング活動支援装置
6日前
株式会社カネカ
製造工場の管理システム
2日前
株式会社キーエンス
製品受発注システム
7日前
個人
本人認証連動型帳票出力支援システム
10日前
株式会社梓総合研究所
冷却システム
6日前
株式会社国際電気
タスク管理システム
6日前
ワキ製薬株式会社
配置薬管理システム
6日前
本田技研工業株式会社
会話装置
6日前
株式会社カネカ
生産計画立案システム
10日前
株式会社デンソー
移動体制御装置
7日前
株式会社北國銀行
勘定系システム
10日前
グローリー株式会社
キオスク端末
1日前
株式会社ライト
情報処理システム
1日前
ミサワホーム株式会社
リフォーム支援装置
6日前
個人
検索装置、検索方法、及びプログラム
10日前
トヨタ自動車株式会社
情報処理装置
10日前
トヨタ自動車株式会社
情報処理装置
10日前
トヨタ自動車株式会社
情報処理装置
10日前
トヨタ自動車株式会社
情報処理装置
10日前
ミサワホーム株式会社
リフォーム支援装置
6日前
個人
アンケート入力型汎用帳票自動生成システム
2日前
個人
自動配車・地域拠点連携型配送支援システム
2日前
株式会社フューチャーアイ
サービス提供システム
7日前
株式会社デンソー
電子制御装置
6日前
個人
計算装置
9日前
株式会社椿知財サービス
情報処理装置
3日前
続きを見る
他の特許を見る