TOP
|
特許
|
意匠
|
商標
特許ウォッチ
Twitter
他の特許を見る
公開番号
2025151625
公報種別
公開特許公報(A)
公開日
2025-10-09
出願番号
2024053149
出願日
2024-03-28
発明の名称
情報処理装置及び情報処理方法
出願人
KDDI株式会社
代理人
個人
,
個人
,
個人
主分類
G06Q
30/0203 20230101AFI20251002BHJP(計算;計数)
要約
【課題】一又は複数の外国人旅行者から構成される外国人旅行者グループを特定して消費行動の分析を行うこと。
【解決手段】情報処理装置は、外国人旅行者の免税取引情報を記憶する記憶部と、外国人旅行者が契約する携帯端末の位置情報を取得する取得部と、前記位置情報に基づいて外国人旅行者グループを特定する判定部と、前記特定された外国人旅行者グループに属する外国人旅行者の前記位置情報及び前記免税取引情報に基づいて、前記特定された外国人旅行者グループの消費行動を分析する分析部と、前記分析の結果を出力する出力部と、を備える。
【選択図】図2
特許請求の範囲
【請求項1】
外国人旅行者の免税取引情報を記憶する記憶部と、
外国人旅行者が契約する携帯端末の位置情報を取得する取得部と、
前記位置情報に基づいて、一又は複数の外国人旅行者から構成される外国人旅行者グループを特定する判定部と、
前記特定された外国人旅行者グループに属する外国人旅行者の前記位置情報及び前記免税取引情報に基づいて、前記特定された外国人旅行者グループの消費行動を分析する分析部と、
前記分析の結果を出力する出力部と、
を備える情報処理装置。
続きを表示(約 880 文字)
【請求項2】
前記分析部は、前記特定された外国人旅行者グループに属する外国人旅行者の人数別に前記消費行動の分析を行う、
請求項1に記載の情報処理装置。
【請求項3】
前記分析部は、前記特定された外国人旅行者グループに属する外国人旅行者の人数が所定の団体旅行判定閾値以上である場合に、所定の団体旅行分析方法を用いて前記消費行動の分析を行う、
請求項2に記載の情報処理装置。
【請求項4】
前記分析部は、前記特定された外国人旅行者グループに属する外国人旅行者の人数が所定の個人旅行判定閾値以下である場合に、所定の個人旅行分析方法を用いて前記消費行動の分析を行う、
請求項2に記載の情報処理装置。
【請求項5】
前記分析部は、特定の店舗を対象に前記消費行動の分析を行う、
請求項1に記載の情報処理装置。
【請求項6】
前記分析部は、商品の種類別に前記消費行動の分析を行う、
請求項1に記載の情報処理装置。
【請求項7】
前記分析部は、特定の店舗と前記特定の店舗以外の他の店舗とに分けて前記消費行動の分析を行う、
請求項6に記載の情報処理装置。
【請求項8】
前記分析部は、特定の店舗に来店した外国人旅行者を対象に、免税購入した外国人旅行者の割合を算出する、
請求項1に記載の情報処理装置。
【請求項9】
前記判定部は、外国人旅行者グループの旅行期間を判定し、
前記分析部は、外国人旅行者グループの旅行期間の日別に前記消費行動の分析を行う、
請求項1に記載の情報処理装置。
【請求項10】
前記取得部は、外国人旅行者グループに属する外国人旅行者が契約する携帯端末の契約期間情報を取得し、
前記判定部は、前記契約期間情報に基づいて外国人旅行者グループの旅行期間を判定する、
請求項9に記載の情報処理装置。
(【請求項11】以降は省略されています)
発明の詳細な説明
【技術分野】
【0001】
本発明は、情報処理装置及び情報処理方法に関する。
続きを表示(約 2,900 文字)
【背景技術】
【0002】
非特許文献1には、都道府県別に訪日外国人の免税取引額について、地域(アジア、ヨーロッパ等)や国や地域別の割合などをヒートマップや棒グラフにより表示するシステムが開示されている。
特許文献1には、旅行支援サービスの機能を有するアプリケーションの初期設定において、ユーザが性別や国籍、年代、訪問目的等の情報を入力することで、自動的にユーザ属性を属性データベースに登録する技術が開示されている。
【先行技術文献】
【特許文献】
【0003】
特開2019-23851号公報
【非特許文献】
【0004】
「地域経済分析システム 基本操作マニュアル 外国人消費の構造(免税取引)」、RESAS 地域経済分析システム、[令和6年3月15日検索]、インターネット<URL:https://resas-portal.go.jp/medias/6Vuxduqfp9I6h262p3q6wo/d8f6a6fddf509e17327af336ffb5dd91/manual_map_consume06.pdf>
【発明の概要】
【発明が解決しようとする課題】
【0005】
外国人旅行者が単独で旅行する場や外国人旅行者が他の外国人旅行者と一緒に外国人旅行者グループで旅行する場合があるが、上述した非特許文献1及び特許文献2に記載された技術では、一又は複数の外国人旅行者から構成される外国人旅行者グループを特定して消費行動の分析を行うことができない。
【0006】
本発明は、このような事情を考慮してなされたものであり、その目的は、一又は複数の外国人旅行者から構成される外国人旅行者グループを特定して消費行動の分析を行うことができる情報処理装置及び情報処理方法を提供することにある。
【課題を解決するための手段】
【0007】
本発明の一態様は、外国人旅行者の免税取引情報を記憶する記憶部と、外国人旅行者が契約する携帯端末の位置情報を取得する取得部と、前記位置情報に基づいて、一又は複数の外国人旅行者から構成される外国人旅行者グループを特定する判定部と、前記特定された外国人旅行者グループに属する外国人旅行者の前記位置情報及び前記免税取引情報に基づいて、前記特定された外国人旅行者グループの消費行動を分析する分析部と、前記分析の結果を出力する出力部と、を備える情報処理装置である。
本発明の一態様は、上記の情報処理装置において、前記分析部は、前記特定された外国人旅行者グループに属する外国人旅行者の人数別に前記消費行動の分析を行う、情報処理装置である。
本発明の一態様は、上記の情報処理装置において、前記分析部は、前記特定された外国人旅行者グループに属する外国人旅行者の人数が所定の団体旅行判定閾値以上である場合に、所定の団体旅行分析方法を用いて前記消費行動の分析を行う、情報処理装置である。
本発明の一態様は、上記の情報処理装置において、前記分析部は、前記特定された外国人旅行者グループに属する外国人旅行者の人数が所定の個人旅行判定閾値以下である場合に、所定の個人旅行分析方法を用いて前記消費行動の分析を行う、情報処理装置である。
本発明の一態様は、上記の情報処理装置において、前記分析部は、特定の店舗を対象に前記消費行動の分析を行う、情報処理装置である。
本発明の一態様は、上記の情報処理装置において、前記分析部は、商品の種類別に前記消費行動の分析を行う、情報処理装置である。
本発明の一態様は、上記の情報処理装置において、前記分析部は、特定の店舗と前記特定の店舗以外の他の店舗とに分けて前記消費行動の分析を行う、情報処理装置である。
本発明の一態様は、上記の情報処理装置において、前記分析部は、特定の店舗に来店した外国人旅行者を対象に、免税購入した外国人旅行者の割合を算出する、情報処理装置である。
本発明の一態様は、上記の情報処理装置において、前記判定部は、外国人旅行者グループの旅行期間を判定し、前記分析部は、外国人旅行者グループの旅行期間の日別に前記消費行動の分析を行う、情報処理装置である。
本発明の一態様は、上記の情報処理装置において、前記取得部は、外国人旅行者グループに属する外国人旅行者が契約する携帯端末の契約期間情報を取得し、前記判定部は、前記契約期間情報に基づいて外国人旅行者グループの旅行期間を判定する、情報処理装置である。
本発明の一態様は、上記の情報処理装置において、前記取得部は、外国人旅行者グループに属する外国人旅行者が契約する携帯端末によって起動される外国人旅行者専用のアプリケーションが利用された実績を示すアプリケーション利用情報を取得し、前記判定部は、前記アプリケーション利用情報に基づいて外国人旅行者グループの旅行期間を判定する、情報処理装置である。
本発明の一態様は、上記の情報処理装置において、前記判定部は、外国人旅行者グループが特定の店舗に来店する前に滞在した滞在場所と前記特定の店舗に来店した後に滞在した滞在場所とのうち、少なくとも一方の滞在場所を特定し、前記分析部は、前記特定の店舗に関する前記分析の結果に、前記特定された滞在場所を含める、情報処理装置である。
【0008】
本発明の一態様は、情報処理装置が実行する情報処理方法であって、外国人旅行者の免税取引情報を記憶する記憶ステップと、外国人旅行者が契約する携帯端末の位置情報を取得する取得ステップと、前記位置情報に基づいて、一又は複数の外国人旅行者から構成される外国人旅行者グループを特定する判定ステップと、前記特定された外国人旅行者グループに属する外国人旅行者の前記位置情報及び前記免税取引情報に基づいて、前記特定された外国人旅行者グループの消費行動を分析する分析ステップと、前記分析の結果を出力する出力ステップと、を含む情報処理方法である。
【発明の効果】
【0009】
本発明によれば、一又は複数の外国人旅行者から構成される外国人旅行者グループを特定して消費行動の分析を行うことができるという効果が得られる。
【図面の簡単な説明】
【0010】
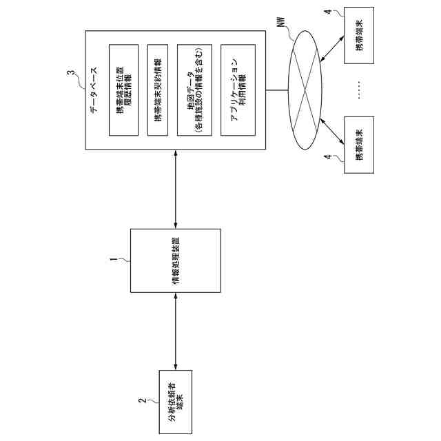
一実施形態に係る情報提供システムの構成例を示すブロック図である。
一実施形態に係る情報処理装置の構成例を示すブロック図である。
一実施形態に係る情報処理方法の手順の例を示すフローチャートである。
一実施形態に係る分析結果データの表示画面の構成例を示す図である。
一実施形態に係る分析結果データの表示画面の構成例を示す図である。
【発明を実施するための形態】
(【0011】以降は省略されています)
特許ウォッチbot のツイートを見る
この特許をJ-PlatPat(特許庁公式サイト)で参照する
関連特許
KDDI株式会社
光増幅器
21日前
KDDI株式会社
光増幅器
21日前
KDDI株式会社
光増幅器
8日前
KDDI株式会社
光増幅器
8日前
KDDI株式会社
光接続ノード
8日前
KDDI株式会社
緊急ネットワーク分離方法
9日前
KDDI株式会社
基地局及び基地局の制御方法
今日
KDDI株式会社
情報処理装置及び情報処理方法
21日前
KDDI株式会社
情報処理装置及び情報処理方法
1か月前
KDDI株式会社
情報処理装置及び情報処理方法
1か月前
KDDI株式会社
情報処理装置及び情報処理方法
2日前
KDDI株式会社
情報処理装置及び情報処理方法
1か月前
KDDI株式会社
情報処理装置及び情報処理方法
21日前
KDDI株式会社
情報処理装置及び情報処理方法
1日前
KDDI株式会社
情報処理装置及び情報処理方法
7日前
KDDI株式会社
情報処理装置及び情報処理方法
7日前
KDDI株式会社
情報処理装置及び情報処理方法
1か月前
KDDI株式会社
基地局装置およびその通信方法
2日前
KDDI株式会社
情報処理装置及び情報処理方法
7日前
KDDI株式会社
情報処理装置及び情報処理方法
1日前
KDDI株式会社
情報処理装置及び情報処理方法
1日前
KDDI株式会社
情報処理装置及び情報処理方法
今日
KDDI株式会社
制御装置、方法及びプログラム
1日前
KDDI株式会社
通信制御システム及び通信制御方法
15日前
KDDI株式会社
通信制御システム及び通信制御方法
15日前
KDDI株式会社
通信制御システム及び通信制御方法
15日前
KDDI株式会社
通信制御システム及び通信制御方法
15日前
KDDI株式会社
情報処理装置、方法及びプログラム
今日
KDDI株式会社
ネットワーク制御装置及びプログラム
1か月前
KDDI株式会社
基地局装置、端末装置及び無線通信方法
今日
KDDI株式会社
飛行体、情報処理装置及び情報処理方法
11日前
KDDI株式会社
認証装置、認証方法及び認証プログラム
1か月前
KDDI株式会社
通信装置、無線デバイス及びプログラム
1か月前
KDDI株式会社
通信装置、無線デバイス及びプログラム
11日前
KDDI株式会社
認証装置、認証方法及び認証プログラム
1か月前
KDDI株式会社
通信装置、無線デバイス及びプログラム
1か月前
続きを見る
他の特許を見る