TOP
|
特許
|
意匠
|
商標
特許ウォッチ
Twitter
他の特許を見る
公開番号
2025153906
公報種別
公開特許公報(A)
公開日
2025-10-10
出願番号
2024056619
出願日
2024-03-29
発明の名称
端末装置、基地局装置、通信システム、制御方法、およびプログラム
出願人
KDDI株式会社
代理人
弁理士法人大塚国際特許事務所
主分類
H04W
36/36 20090101AFI20251002BHJP(電気通信技術)
要約
【課題】ビーム障害を検出した端末装置が非サービングセルにハンドオーバするまでの時間を短縮する技術を提供すること
【解決手段】端末装置は、接続中の基地局装置から、他の基地局装置へのハンドオーバのための事前設定であって、ビーム障害発生時に使用すべきビームの候補となる他の基地局装置が形成しているビームのリストを含む、事前設定を受信し、基地局装置との通信に使用しているビームにビーム障害が発生したことを検出し、基地局装置が形成するビームとリストに示される他の基地局装置が形成するビームとを含む複数のビームの無線品質を測定し、測定結果に基づいて、ビーム障害が発生した場合に使用すべきビームを決定する。
【選択図】図4
特許請求の範囲
【請求項1】
端末装置であって、
接続中の基地局装置から、他の基地局装置へのハンドオーバのための事前設定であって、ビーム障害発生時に使用すべきビームの候補となる前記他の基地局装置が形成しているビームのリストを含む、前記事前設定を受信する受信手段と、
前記基地局装置との通信に使用しているビームにビーム障害が発生したことを検出する検出手段と、
前記基地局装置が形成するビームと前記リストに示される前記他の基地局装置が形成するビームとを含む複数のビームの無線品質を測定する測定手段と、
前記測定手段の測定結果に基づいて、ビーム障害が発生した場合に使用すべきビームを決定する制御手段と、
を備えることを特徴とする端末装置。
続きを表示(約 2,100 文字)
【請求項2】
前記受信手段は、RRC Reconfigurationメッセージを介して前記事前設定を受信することを特徴とする請求項1に記載の端末装置。
【請求項3】
前記事前設定は、前記他の基地局装置へのハンドオーバに使用する設定情報を含むことを特徴とする請求項1に記載の端末装置。
【請求項4】
前記検出手段で所定の期間内に所定の回数ビーム障害が発生したことを検出したことに応じて、無線リンク障害が発生したことを検出する第2の検出手段と、
前記第2の検出手段で前記無線リンク障害が発生したことを検出した場合に、再接続処理を実行する実行手段と、
をさらに備えることを特徴とする請求項1に記載の端末装置。
【請求項5】
基地局装置であって、
前記基地局装置へ接続している端末装置へ、他の基地局装置へのハンドオーバのための事前設定であって、ビーム障害発生時に使用すべきビームの候補となる他の基地局装置が形成しているビームのリストを含む、事前設定を送信する送信手段を備えることを特徴とする基地局装置。
【請求項6】
前記他の基地局装置から、前記他の基地局装置が形成可能なビームの識別情報を取得する取得手段を備えることを特徴とする請求項5に記載の基地局装置。
【請求項7】
第1の基地局装置と、第2の基地局装置と、端末装置とを備える無線通信システムであって、
前記端末装置は、
接続中の前記第1の基地局装置から、前記第2の基地局装置へのハンドオーバのための事前設定であって、ビーム障害発生時に使用すべきビームの候補となる前記第2の基地局装置が形成しているビームのリストを含む、前記事前設定を受信する受信手段と、
前記第1の基地局装置との通信に使用しているビームにビーム障害が発生したことを検出する検出手段と、
前記第1の基地局装置が形成するビームと前記リストに示される前記第2の基地局装置が形成するビームとを含む複数のビームの無線品質を測定する測定手段と、
前記測定手段の測定結果に基づいて、ビーム障害が発生した場合に使用すべきビームを決定する制御手段と、
を備え、
前記第1の基地局装置は、
前記端末装置へ、前記第2の基地局装置へのハンドオーバのための事前設定であって、ビーム障害発生時に使用すべきビームの候補となる前記第2の基地局装置が形成しているビームのリストを含む、事前設定を送信する送信手段を備える、無線通信システム。
【請求項8】
端末装置の制御方法であって、
接続中の基地局装置から、他の基地局装置へのハンドオーバのための事前設定であって、ビーム障害発生時に使用すべきビームの候補となる前記他の基地局装置が形成しているビームのリストを含む、前記事前設定を受信することと、
前記基地局装置との通信に使用しているビームにビーム障害が発生したことを検出することと、
前記基地局装置が形成するビームと前記リストに示される前記他の基地局装置が形成するビームとを含む複数のビームの無線品質を測定することと、
測定結果に基づいて、ビーム障害が発生した場合に使用すべきビームを決定することと、
を含むことを特徴とする制御方法。
【請求項9】
基地局装置の制御方法であって、
前記基地局装置へ接続している端末装置へ、他の基地局装置へのハンドオーバのための事前設定であって、ビーム障害発生時に使用すべきビームの候補となる他の基地局装置が形成しているビームのリストを含む、事前設定を送信することを含むことを特徴とする制御方法。
【請求項10】
第1の基地局装置と、第2の基地局装置と、端末装置とを備える無線通信システムが実行する制御方法であって、
前記端末装置において、
接続中の前記第1の基地局装置から、前記第2の基地局装置へのハンドオーバのための事前設定であって、ビーム障害発生時に使用すべきビームの候補となる前記第2の基地局装置が形成しているビームのリストを含む、前記事前設定を受信することと、
前記第1の基地局装置との通信に使用しているビームにビーム障害が発生したことを検出することと、
前記第1の基地局装置が形成するビームと前記リストに示される前記第2の基地局装置が形成するビームとを含む複数のビームの無線品質を測定することと、
測定結果に基づいて、ビーム障害が発生した場合に使用すべきビームを決定することと、
を含み、
前記第1の基地局装置において、
前記端末装置へ、前記第2の基地局装置へのハンドオーバのための事前設定であって、ビーム障害発生時に使用すべきビームの候補となる前記第2の基地局装置が形成しているビームのリストを含む、事前設定を送信すること
を含む、制御方法。
(【請求項11】以降は省略されています)
発明の詳細な説明
【技術分野】
【0001】
本発明は、端末装置、基地局装置、通信システム、制御方法、およびプログラムに関する。
続きを表示(約 1,900 文字)
【背景技術】
【0002】
移動体通信システムでは、端末装置の移動に伴い、その端末装置の接続先のセル(基地局装置)を切り替えるハンドオーバが行われる。従来、端末装置は、基地局装置からのハンドオーバの指示を受信した後に、接続の切り替え先のセルにおける同期確立や設定処理を実行して接続を確立する処理が行われる。この接続先の切り替えのための処理には一定の時間がかかり、この処理が行われている期間には端末装置がユーザデータの通信を行うことができない。
【0003】
これに対して、非特許文献1に記載の手法では、ハンドオーバ元の基地局装置が、端末装置に対して、ハンドオーバが実際に行われる前に、ハンドオーバ先の他の基地局装置との接続のための無線リソース制御(RRC)レイヤにおいて通信パラメータを提供しておく。そして、ハンドオーバ元の基地局装置は、ハンドオーバが行われるべきタイミングにおいて、そのセルの切り替えを指示するレイヤ1又はレイヤ2のコマンドを端末装置に送信する。端末装置は、そのコマンドを受信したことに応じて、ハンドオーバ先の基地局装置との間でランダムアクセス手順を実行することにより、その後のRRCレイヤでの設定処理を行うことなく、ハンドオーバを完了することができる。このようなセル切り替えの技術はLTM(L1/L2 Triggered Mobility)と呼ばれ、ハンドオーバに関する通信効率の劣化を抑制するものとされている。
【先行技術文献】
【非特許文献】
【0004】
3GPP(登録商標) 寄書、R2-2209255
【発明の概要】
【発明が解決しようとする課題】
【0005】
ここで、端末装置がビーム障害を検出した(BFD : Beam Failure Detection)後、通信中のセル(Serving Cell)において品質の良いビームへ遷移する。一方、品質の良いビームがない場合、無線リンク障害であると判断し、通信中のセル以外のセルでビーム探索が行われるため、通信中のセル以外のセルにおけるビーム探索を行い、ハンドオーバするまでに時間がかかるという課題があった。
【0006】
本開示は、このような状況に鑑み、ビーム障害を検出した端末装置が非サービングセルにハンドオーバするまでの時間を短縮する技術を提供することを目的とする。
【課題を解決するための手段】
【0007】
上記目的を達成するために本発明の一態様に係る端末装置は、
接続中の基地局装置から、他の基地局装置へのハンドオーバのための事前設定であって、ビーム障害発生時に使用すべきビームの候補となる前記他の基地局装置が形成しているビームのリストを含む、前記事前設定を受信する受信手段と、
前記基地局装置との通信に使用しているビームにビーム障害が発生したことを検出する検出手段と、
前記基地局装置が形成するビームと前記リストに示される前記他の基地局装置が形成するビームとを含む複数のビームの無線品質を測定する測定手段と、
前記測定手段の測定結果に基づいて、ビーム障害が発生した場合に使用すべきビームを決定する制御手段と、
を備えることを特徴とする。
【発明の効果】
【0008】
本発明によれば、ビーム障害を検出した端末装置が非サービングセルにハンドオーバするまでの時間を短縮する技術を提供することが可能になる。
【図面の簡単な説明】
【0009】
本実施形態に係る無線通信システムを示す図。
端末装置、基地局装置のハードウェア構成を示す図。
(A)は端末装置の機能構成図、(B)は基地局装置の機能構成図。
本実施形態に係るビームサーチ処理例を示すシーケンス図。
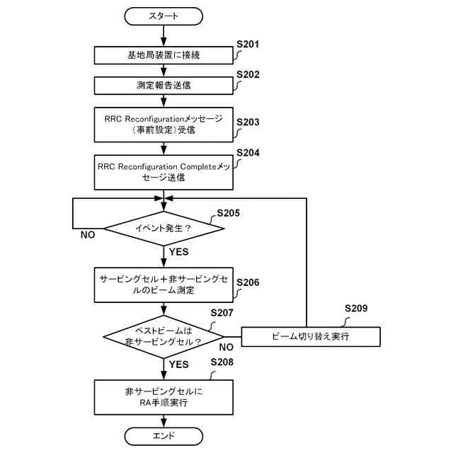
本実施形態に係る端末装置が実行する処理例を示すフローチャート。
本実施形態に係る基地局装置が実行する処理例を示すフローチャート。
【発明を実施するための形態】
【0010】
以下、添付図面を参照して実施形態を詳しく説明する。なお、以下の実施形態は特許請求の範囲に係る発明を限定するものでない。実施形態には複数の特徴が記載されているが、これらの複数の特徴の全てが発明に必須のものとは限らず、また、複数の特徴は任意に組み合わせられてもよい。さらに、添付図面においては、同一若しくは同様の構成に同一の参照番号を付し、重複した説明は省略する。
(【0011】以降は省略されています)
この特許をJ-PlatPat(特許庁公式サイト)で参照する
関連特許
KDDI株式会社
光増幅器
11日前
KDDI株式会社
光増幅器
11日前
KDDI株式会社
光増幅器
24日前
KDDI株式会社
光増幅器
24日前
KDDI株式会社
光接続ノード
11日前
KDDI株式会社
解析装置及びプログラム
1か月前
KDDI株式会社
緊急ネットワーク分離方法
12日前
KDDI株式会社
基地局及び基地局の制御方法
3日前
KDDI株式会社
情報処理装置及び情報処理方法
10日前
KDDI株式会社
情報処理装置及び情報処理方法
1か月前
KDDI株式会社
情報処理装置及び情報処理方法
1か月前
KDDI株式会社
情報処理装置及び情報処理方法
1か月前
KDDI株式会社
情報処理装置及び情報処理方法
1か月前
KDDI株式会社
基地局装置およびその通信方法
5日前
KDDI株式会社
情報処理装置及び情報処理方法
4日前
KDDI株式会社
情報処理装置及び情報処理方法
4日前
KDDI株式会社
情報処理装置及び情報処理方法
10日前
KDDI株式会社
情報処理装置及び情報処理方法
10日前
KDDI株式会社
制御装置、方法及びプログラム
4日前
KDDI株式会社
情報処理装置及び情報処理方法
5日前
KDDI株式会社
情報処理装置及び情報処理方法
24日前
KDDI株式会社
情報処理装置及び情報処理方法
4日前
KDDI株式会社
情報処理装置及び情報処理方法
3日前
KDDI株式会社
情報処理装置及び情報処理方法
24日前
KDDI株式会社
通信制御システム及び通信制御方法
18日前
KDDI株式会社
通信制御システム及び通信制御方法
18日前
KDDI株式会社
通信制御システム及び通信制御方法
18日前
KDDI株式会社
通信制御システム及び通信制御方法
18日前
KDDI株式会社
情報処理装置、方法及びプログラム
3日前
KDDI株式会社
ネットワーク制御装置及びプログラム
1か月前
KDDI株式会社
通信装置、無線デバイス及びプログラム
14日前
KDDI株式会社
認証装置、認証方法及び認証プログラム
1か月前
KDDI株式会社
中継装置、中継方法及び中継プログラム
1か月前
KDDI株式会社
飛行体、情報処理装置及び情報処理方法
14日前
KDDI株式会社
基地局装置、端末装置及び無線通信方法
3日前
KDDI株式会社
認証装置、認証方法及び認証プログラム
1か月前
続きを見る
他の特許を見る