TOP
|
特許
|
意匠
|
商標
特許ウォッチ
Twitter
他の特許を見る
公開番号
2025150799
公報種別
公開特許公報(A)
公開日
2025-10-09
出願番号
2024051897
出願日
2024-03-27
発明の名称
画像形成装置及び画像形成装置の制御方法
出願人
シャープ株式会社
代理人
個人
,
個人
,
個人
,
個人
主分類
H02P
8/12 20060101AFI20251002BHJP(電力の発電,変換,配電)
要約
【課題】周囲の熱影響を受ける部位に設けられたステッピングモータの温度上昇を抑えられる画像形成装置等を提供する。
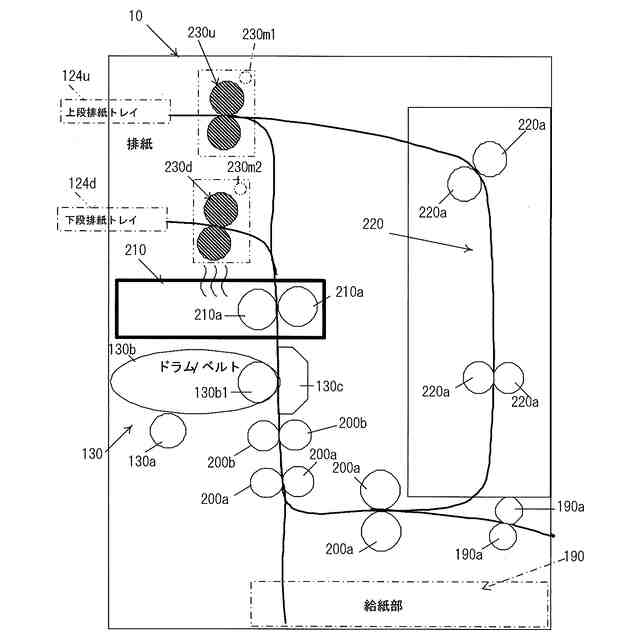
【解決手段】電子写真方式で記録用紙に形成されたトナー画像に熱を加えて定着させる定着部(210)と、定着部の周辺に設置された、記録用紙搬送用のステッピングモータ(230m1)、(230m2)と、前記記録用紙の種類に応じて、前記ステッピングモータの電流減衰設定を制御する制御部(100)とを備えたことを特徴とする画像形成装置。
【選択図】図2
特許請求の範囲
【請求項1】
電子写真方式で記録用紙に形成されたトナー画像に熱を加えて定着させる定着部と、
前記定着部の周辺に設置された、記録用紙搬送用のステッピングモータと、
前記記録用紙の種類に応じて、前記ステッピングモータの電流減衰設定を制御する制御部と、
を備えたことを特徴とする画像形成装置。
続きを表示(約 670 文字)
【請求項2】
前記ステッピングモータは、前記定着部の上方であって当該定着部の熱影響を受ける部位に設置されていることを特徴とする請求項1に記載の画像形成装置。
【請求項3】
前記記録用紙について、厚紙、普通紙、薄紙等の用紙種をユーザが設定する設定部を備え、
前記制御部は、前記記録用紙に普通紙よりも厚い用紙種が設定された場合、高速の電流減衰設定にし、一方、前記記録用紙に普通紙又は厚さが普通紙よりも薄い用紙種が設定された場合、低速の電流減衰設定に切り替えることを特徴とする請求項1又は2に記載の画像形成装置。
【請求項4】
前記記録用紙について、厚紙、普通紙、薄紙等の用紙種をユーザが設定する設定部を備え、
前記制御部は、前記記録用紙に普通紙よりも厚い用紙種が設定された場合、排紙スピードを低速回転領域とし、かつ、高速の電流減衰設定にし、一方、前記記録用紙に普通紙又は普通紙よりも薄い用紙種が設定された場合、排紙スピードを高速回転領域とし、かつ、低速の電流減衰設定とすることを特徴とする請求項1又は2に記載の画像形成装置。
【請求項5】
電子写真方式で記録用紙に形成されたトナー画像に熱を加えて定着部により定着させる定着工程と、
前記定着部の周辺に設置された、記録用紙搬送用のステッピングモータを駆動する工程と、
前記記録用紙の種類に応じて、前記ステッピングモータの電流減衰設定を制御する制御工程と、
を含むことを特徴とする画像形成装置の制御方法。
発明の詳細な説明
【技術分野】
【0001】
本開示は画像形成装置等に関する。
続きを表示(約 1,100 文字)
【背景技術】
【0002】
従来、画像形成装置には、印刷に関する部材をステッピングモータにより駆動するものにおいて、複数の減衰モードを設けて、ステッピングモータの加速・減速のような回転速度の変化に応じ、適切な電流減衰モードを設定し、振動や損失を軽減するものが提案されている(例えば、特許文献1参照)。
【0003】
また、最適な駆動方法を模索するために適した、複数設けられた電流減衰モードを電流の増減率によって変えることができる定電流方式のモータドライバを有する記録装置が提案されている(例えば、特許文献2参照)。
【0004】
特許文献1、2は、加速・減速の回転速度の変化に応じた電流の増減率によって電流減衰(Decay)設定を随時切り替えるものであると考えられる。
【先行技術文献】
【特許文献】
【0005】
特開2016-127630号公報
特開2000-125593号公報
【発明の概要】
【発明が解決しようとする課題】
【0006】
しかしながら、ステッピングモータにおいては、ドライバIC(Integrated Circuit)やモータ が定着部の周囲等の熱影響をうける部位に設置されている場合、モータ自身の発熱に加えて熱影響による温度上昇で問題が発生する可能性がある。
【0007】
本開示は、周囲の熱影響を受ける部位に設けられたステッピングモータの温度上昇を抑えられる画像形成装置等を提供しようとするものである。
【課題を解決するための手段】
【0008】
本開示は、電子写真方式で記録用紙に形成されたトナー画像に熱を加えて定着させる定着部と、定着部の周辺に設置された、記録用紙搬送用のステッピングモータと、前記記録用紙の種類に応じて、前記ステッピングモータの電流減衰設定を制御する制御部とを備えたことを特徴とする画像形成装置に係るものである。
【0009】
また、本開示は、電子写真方式で記録用紙に形成されたトナー画像に熱を加えて定着させる定着工程と、定着部の周辺に設置された、記録用紙搬送用のステッピングモータを駆動する工程と、前記記録用紙の種類に応じて、前記ステッピングモータの電流減衰設定を制御する制御工程と、を含むことを特徴とする画像形成装置の制御方法である。
【発明の効果】
【0010】
本開示の画像形成装置によれば、熱影響を受ける部位に設けられたステッピングモータの温度上昇を抑えられるという優れた効果を奏し得る。
【図面の簡単な説明】
(【0011】以降は省略されています)
この特許をJ-PlatPat(特許庁公式サイト)で参照する
関連特許
株式会社アイシン
ロータ
3日前
西部電機株式会社
充電装置
6日前
西部電機株式会社
充電装置
6日前
日本精機株式会社
サージ保護回路
6日前
トヨタ自動車株式会社
回転子
10日前
トヨタ自動車株式会社
固定子
4日前
トヨタ自動車株式会社
製造装置
4日前
個人
連続ガウス加速器形磁力増幅装置
6日前
株式会社ダイヘン
充電装置
3日前
株式会社アイシン
ステータ
3日前
株式会社アイシン
ステータ
3日前
株式会社ダイヘン
充電装置
3日前
株式会社ダイヘン
充電装置
3日前
個人
太陽エネルギー収集システム
4日前
カヤバ株式会社
筒型リニアモータ
5日前
株式会社ミツバ
ブラシレスモータ
5日前
株式会社アイシン
ステータ
3日前
株式会社アイシン
ステータ
3日前
株式会社ダイヘン
充電装置
3日前
東京瓦斯株式会社
通信装置
5日前
トヨタ自動車株式会社
被膜形成装置
4日前
日産自動車株式会社
ステータ
11日前
ニチコン株式会社
AC入力検出回路
10日前
株式会社ミツバ
回転電機
3日前
株式会社デンソー
電力変換装置
10日前
株式会社ダイヘン
電力システム
6日前
東京瓦斯株式会社
給電システム
5日前
ASTI株式会社
電力変換装置
4日前
株式会社ダイヘン
電力変換装置
6日前
株式会社アイシン
保護装置
4日前
キヤノン株式会社
無線電力伝送システム
4日前
株式会社アイシン
駆動装置
4日前
株式会社アイシン
回転電機
6日前
シャープ株式会社
表示装置
4日前
大和ハウス工業株式会社
システム
5日前
株式会社アイシン
回転電機
10日前
続きを見る
他の特許を見る