TOP
|
特許
|
意匠
|
商標
特許ウォッチ
Twitter
他の特許を見る
10個以上の画像は省略されています。
公開番号
2025151042
公報種別
公開特許公報(A)
公開日
2025-10-09
出願番号
2024052263
出願日
2024-03-27
発明の名称
偏向装置、光走査装置および光測距装置
出願人
北陽電機株式会社
代理人
弁理士法人ブライタス
主分類
G01S
7/497 20060101AFI20251002BHJP(測定;試験)
要約
【課題】所定の方向に配列された複数の受光素子を備えた偏向装置において、光偏向部の揺動振幅を計測するセンサを設けることなく、光偏向部の揺動振幅を制御することができる技術を提供する。
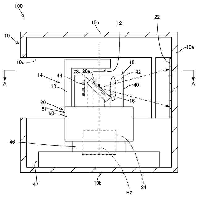
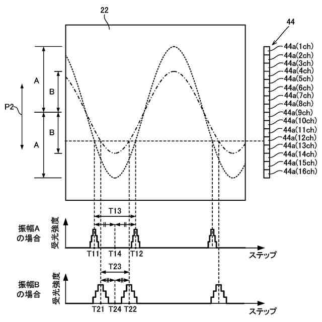
【解決手段】偏向装置14は、投光部12と、投光部12から出射された測定光を偏向反射しかつ第1軸心P1周りに揺動可能な偏向ミラー28aを備えた第1偏向機構16と、第1軸心P1周りの方向に沿う方向に配列される複数の受光素子44aを有する受光部44と、第1偏向機構16および受光部44を第2軸心P2周りに回転駆動する第2偏向機構20と、投光部12から出射され偏向ミラー28aで偏向反射された測定光が照射される基準反射部材22と、受光部44の複数の受光素子44aの一部で受光された基準反射部材22からの反射光に基づいて、第1偏向機構16を制御する揺動制御部70と、備える。
【選択図】図2
特許請求の範囲
【請求項1】
測定光を出射する投光部と、
前記投光部から出射された前記測定光を偏向反射する光偏向部を含みかつ第1軸心周りに揺動可能な可動部および前記可動部を揺動駆動する駆動部を備えた第1偏向機構と、
前記第1軸心周りの方向に沿う所定の方向に配列される複数の受光素子を有し、前記測定光のうち物体で反射された反射光をいずれかの前記受光素子で受光する受光部と、
少なくとも前記第1偏向機構および前記受光部を前記第1軸心とは異なる第2軸心周りに回転駆動する第2偏向機構と、
前記投光部から出射され前記光偏向部で偏向反射された測定光が照射される基準反射部材と、
前記受光部の前記複数の受光素子の一部で受光された前記基準反射部材からの反射光に基づいて、前記駆動部を制御する揺動制御部と、
を備える、偏向装置。
続きを表示(約 1,500 文字)
【請求項2】
前記受光部の前記複数の受光素子のうちから前記反射光を受光する前記受光素子を選択する選択部をさらに備える、
請求項1に記載の偏向装置。
【請求項3】
前記選択部は、前記測定光が前記基準反射部材に照射される期間に、前記基準反射部材からの反射光を受光する前記受光部の前記受光素子を、前記複数の受光素子のうちのいずれかに固定するように選択する、
請求項2に記載の偏向装置。
【請求項4】
前記選択部は、前記測定光が前記基準反射部材に照射される期間に、前記基準反射部材からの反射光を受光する前記受光部の前記受光素子を、前記所定の方向に配列される前記複数の受光素子のうちの中心位置から対称な2つに固定するように選択する、
請求項3に記載の偏向装置。
【請求項5】
2つの前記受光部を有し、
前記選択部は、前記測定光が前記基準反射部材に照射される期間に、前記基準反射部材からの反射光を受光する前記受光部の前記受光素子を、前記2つの前記受光部のうちの一方の前記受光部の一つの前記受光素子と、前記2つの前記受光部のうちの他方の前記受光部の一つの前記受光素子とに固定するように選択する、
請求項2に記載の偏向装置。
【請求項6】
前記可動部は、原位置から前記第1軸心周りの一方側および他方側へ揺動し、
前記測定光が前記基準反射部材に照射される期間に、前記選択部が選択する前記一方の前記受光部の前記一つの受光素子は、前記可動部が前記原位置から前記第1軸心周りの前記一方側へ所定角度揺動したときに前記光偏向部で偏向反射された測定光に基づく反射光を受光する受光素子であり、
前記測定光が前記基準反射部材に照射される期間に、前記選択部が選択する前記他方の前記受光部の前記一つの受光素子は、前記可動部が前記原位置から前記第1軸心周りの前記他方側へ前記所定角度揺動したときに前記光偏向部で偏向反射された測定光に基づく反射光を受光する受光素子である、
請求項5に記載の偏向装置。
【請求項7】
前記選択部は、前記測定光が前記基準反射部材に照射されない期間に、前記揺動制御部からの制御信号に基づいて、前記物体で反射された反射光を受光する前記複数の受光素子のうちのいずれかの前記受光素子を、前記第1偏向機構の前記可動部の前記第1軸心周りの動きに対応して選択する、
請求項2に記載の偏向装置。
【請求項8】
前記第1偏向機構は、前記第2軸心周りに回転可能に前記第2偏向機構に支持された固定部と、前記可動部を前記固定部に支持させる梁部とを備えて構成され、
前記梁部は、前記駆動部により捻り回転駆動または撓み揺動駆動され、前記第1軸心として機能する、
請求項1に記載の偏向装置。
【請求項9】
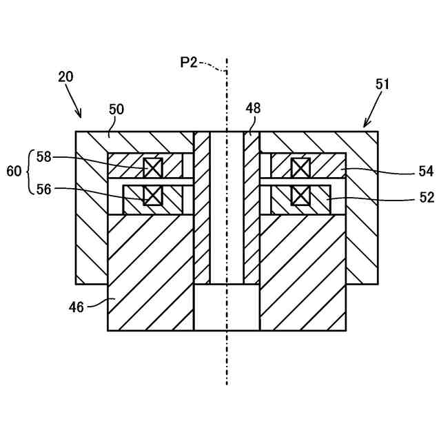
前記第2偏向機構の回転に伴って前記第2軸心周りに回転するように配置された受電部と、前記受電部と共通の軸心上で対向配置された送電部とを有する非接触給電部をさらに備え、
前記非接触給電部では、前記送電部から前記受電部に給電する、
請求項1に記載の偏向装置。
【請求項10】
前記基準反射部材は、前記第2軸心周りに沿って反射率が等しい領域を備え、
前記揺動制御部は、前記受光部で受光された前記基準反射部材の前記反射率が等しい領域からの反射光に基づいて前記第1偏向機構による揺動振幅を検知する振幅検知部と、前記振幅検知部で検知された揺動振幅が所定の揺動振幅になるように前記駆動部を制御する振幅制御部と、を備えている、請求項1に記載の偏向装置。
(【請求項11】以降は省略されています)
発明の詳細な説明
【技術分野】
【0001】
本発明は、偏向装置、光走査装置および光測距装置に関する。
続きを表示(約 1,800 文字)
【背景技術】
【0002】
TOF(Time Of Flight)方式を利用して対象物までの距離を測定する測距装置が知られている。TOF方式を利用した測距装置では、対象物に対して測定光を照射した時刻からその測定光の反射光を受信した時刻までの時間を検出することによって、対象物までの距離を測定することができる。
【0003】
例えば、特許文献1に開示された測距装置では、投受光部と、偏向ミラーを有する第1偏向機構と、第1偏向機構を回転駆動する第2偏向機構とを備えている。偏向ミラーは、投受光部から出射された測定光を偏向反射するとともに物体で反射された反射光を投受光部に向かって偏向反射する。この測距装置では、第1偏向機構によって偏向ミラーを水平方向に延びる第1軸心周りに揺動しつつ、第2偏向機構によって第1偏向機構を鉛直方向に延びる第2軸心周りに回転させることで、測定光を二次元的に走査して、三次元の距離計測を行うことができる。
【0004】
上記のような測距装置においては、温度変動等の種々の要因によって偏向ミラーの揺動振幅が変動する場合がある。偏向ミラーの揺動振幅が変動すると適切な測定を行うことができないので、偏向ミラーの揺動振幅は所定の値に維持される必要がある。偏向ミラーの揺動振幅を所定の値に維持する方法としては、例えば、偏向ミラーの揺動振幅を計測するセンサを設け、センサによって計測された揺動振幅に基づいて、第1偏向機構を制御することが考えられる。しかしながら、この場合、センサおよびセンサを駆動するための構成が必要になり、測距装置の製造コストが上昇する。
【0005】
この点について、特許文献1の測距装置では、偏向ミラー等を収容するケーシングのうち、偏向ミラーで偏向された測定光を外部空間に出射するための光学窓が形成されていない領域に、偏向ミラーで偏向反射された測定光を反射するための基準反射部材が設けられている。そして、受光部で受光された基準反射部材からの反射光に基づいて、偏向ミラーの揺動振幅を制御している。この場合、偏向ミラーの揺動振幅を計測するためのセンサを設ける必要がないので、測距装置の製造コストを抑制することができる。
【0006】
ところで、上記の測距装置において反射光の検出感度を向上させるためには、偏向ミラーの寸法を大きくして、反射光の受光量を大きくする必要がある。しかしながら、偏向ミラーの寸法を大きくした場合、測距装置の小型化が難しくなり、偏向ミラーの揺動範囲が狭くなる。また、偏向ミラーの揺動速度を大きくすることが難しくなる。
【0007】
そこで、偏向ミラーの寸法を大きくすることなく測距装置の感度を向上させる技術が提案されている。例えば、特許文献2に開示されたレーザー距離計測装置は、光源から出力された出力光を偏向させるMEMSミラーと、出力光が物体によって反射された反射光を検出器に対して集光させる集光レンズと、検出器によって検出された反射光に基づいて出力光を反射した物体までの距離を計測する計測部と、を備えている。光検出器は、複数の検出素子を有している。MEMSミラーによって鉛直方向に走査された出力光の反射光は、鉛直方向の走査角度に応じた検出素子で検出される。計測部は、複数の検出素子によってそれぞれ検出された反射光に基づいて、各反射光を反射した物体までの距離をそれぞれ計測する。
【0008】
特許文献2には、上記のような構成により、小型、高感度の3次元LiDARを実現できることが記載されている。
【先行技術文献】
【特許文献】
【0009】
特開2014-109686号公報
特開2018-128432号公報
【発明の概要】
【発明が解決しようとする課題】
【0010】
特許文献2には、MEMSミラーの揺動振幅を計測する具体的な手段は開示されていない。上述したように、MEMSミラーの揺動振幅は、センサによって計測することができるが、センサおよびセンサを駆動するための構成が必要になり、装置の製造コストが上昇する。
(【0011】以降は省略されています)
この特許をJ-PlatPat(特許庁公式サイト)で参照する
関連特許
北陽電機株式会社
光測距装置
10日前
北陽電機株式会社
偏向装置、光走査装置および光測距装置
10日前
北陽電機株式会社
物体検出装置および物体検出装置が搭載される移動体
4か月前
個人
メジャー文具
12日前
個人
高精度同時多点測定装置
4日前
個人
アクセサリー型テスター
5日前
日本精機株式会社
位置検出装置
18日前
日本精機株式会社
位置検出装置
18日前
日本精機株式会社
位置検出装置
18日前
ユニパルス株式会社
ロードセル
11日前
大和製衡株式会社
組合せ秤
23日前
大和製衡株式会社
組合せ秤
23日前
アズビル株式会社
圧力センサ
17日前
株式会社チノー
放射光測温装置
11日前
株式会社ユーシン
操作検出装置
20日前
ダイキン工業株式会社
監視装置
9日前
トヨタ自動車株式会社
監視装置
10日前
エイブリック株式会社
磁気センサ回路
17日前
株式会社東芝
センサ
23日前
株式会社東芝
センサ
23日前
株式会社ヨコオ
ソケット
11日前
株式会社ヨコオ
ソケット
10日前
トヨタ自動車株式会社
検査装置
20日前
長崎県
形状計測方法
5日前
ローム株式会社
半導体装置
3日前
東レエンジニアリング株式会社
計量装置
20日前
TDK株式会社
ガスセンサ
11日前
株式会社東芝
重量測定装置
16日前
TDK株式会社
ガスセンサ
16日前
ローム株式会社
半導体装置
3日前
TDK株式会社
磁気センサ
10日前
TDK株式会社
ガスセンサ
17日前
三恵技研工業株式会社
融雪レドーム
10日前
日本特殊陶業株式会社
センサ
9日前
株式会社熊谷組
RI計測装置
18日前
日本特殊陶業株式会社
センサ
9日前
続きを見る
他の特許を見る