TOP
|
特許
|
意匠
|
商標
特許ウォッチ
Twitter
他の特許を見る
10個以上の画像は省略されています。
公開番号
2025151430
公報種別
公開特許公報(A)
公開日
2025-10-09
出願番号
2024052856
出願日
2024-03-28
発明の名称
電力貯蔵装置監視システム及び電力貯蔵装置監視方法、並びに、電力貯蔵システム
出願人
株式会社日立製作所
代理人
弁理士法人信友国際特許事務所
主分類
G01R
31/396 20190101AFI20251002BHJP(測定;試験)
要約
【課題】電力貯蔵装置の内部状態を正確に把握し、かつ高頻度に情報更新可能な電力貯蔵装置監視システムを提供する。
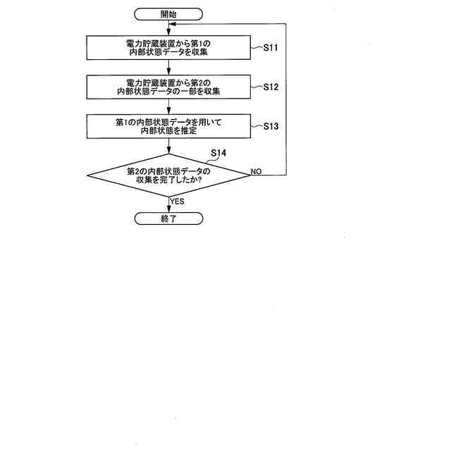
【解決手段】本発明の電力貯蔵装置監視システム10は、第1の周期において、電力貯蔵装置20の第1の内部状態データを収集するとともに、第1の内部状態データよりもデータ量の多い第2の内部状態データの一部を収集するデータ収集部111と、第1の内部状態データを入力として、第2の内部状態データに含まれる電力貯蔵装置20の内部状態を計算して出力する内部状態推定部113と、を備える。そして、好ましくは、データ収集部111は、第1の周期よりも長い第2の周期において、第2の内部状態データの収集を完了する。
【選択図】図5
特許請求の範囲
【請求項1】
電力貯蔵装置の状態を監視する電力貯蔵装置監視システムであって、
第1の周期において、前記電力貯蔵装置の第1の内部状態データを収集するとともに、前記第1の内部状態データよりもデータ量の多い第2の内部状態データの一部を収集するデータ収集部と、
前記第1の内部状態データを入力として、前記第2の内部状態データに含まれる前記電力貯蔵装置の内部状態を計算して出力する内部状態推定部と、
を備える
電力貯蔵装置監視システム。
続きを表示(約 880 文字)
【請求項2】
前記データ収集部は、前記第1の周期よりも長い第2の周期において、前記第2の内部状態データの収集を完了する
請求項1に記載の電力貯蔵装置監視システム。
【請求項3】
前記第2の内部状態データの間欠したデータを内挿して補完するデータ加工部
をさらに備える
請求項1に記載の電力貯蔵装置監視システム。
【請求項4】
前記内部状態推定部は、電圧源及び抵抗素子で構成された電気的等価回路を含んで構成される
請求項1に記載の電力貯蔵装置監視システム。
【請求項5】
前記第1の内部状態データは、前記電力貯蔵装置に入出力する電流、及び/又は、前記電力貯蔵装置の電圧を含む
請求項1に記載の電力貯蔵装置監視システム。
【請求項6】
前記第2の内部状態データは、前記電力貯蔵装置を構成する複数の蓄電素子における電流、電圧、温度、充電率、劣化率、充放電許容電力のうち少なくとも一つを含む
請求項1に記載の電力貯蔵装置監視システム。
【請求項7】
前記第2の内部状態データと、前記内部状態推定部が出力する内部状態の計算結果とを比較する検証部と、
前記内部状態推定部が保持するパラメータを更新する更新部と、
をさらに備える
請求項1に記載の電力貯蔵装置監視システム。
【請求項8】
前記第1の周期は、10秒以内である
請求項1に記載の電力貯蔵装置監視システム。
【請求項9】
前記電力貯蔵装置を構成する電池モジュールの内部状態を監視するモジュール管理装置
をさらに備え、
前記モジュール管理装置の数は100個以上である
請求項1に記載の電力貯蔵装置監視システム。
【請求項10】
前記電池モジュールは、複数のリチウムイオン電池セルで構成されている
請求項9に記載の電力貯蔵装置監視システム。
(【請求項11】以降は省略されています)
発明の詳細な説明
【技術分野】
【0001】
本発明は、電力貯蔵装置の状態を監視する電力貯蔵装置監視システム及び電力貯蔵装置監視方法、並びに、電力貯蔵システムに関する。
続きを表示(約 2,100 文字)
【背景技術】
【0002】
太陽光発電や風力発電は、天候や時間帯によって出力が変動するため、電力系統の需給調整用途として、蓄電素子を用いた電力貯蔵装置の活用が期待されている。電力貯蔵装置を導入することで、例えば、太陽光発電の発電電力量が相対的に大きい昼間の時間帯に電力を貯蔵し、電力需要が相対的に大きくなる夜間に電力を放出して供給する。このような電力貯蔵装置は、顧客ニーズに応えるために大容量化が進展しており、膨大な数の蓄電素子で構成されるようになっている。電力貯蔵装置を安全に運用するためには、これらの蓄電素子の状態を常時監視する電力貯蔵装置監視システムが不可欠である。
【0003】
しかし、蓄電素子の数が増えるほど監視すべき電力貯蔵装置の内部状態量も増えるため、電力貯蔵装置監視システムと電力貯蔵装置との間におけるデータ通信に要する時間が長くなる。そのため、電力貯蔵装置監視システムの情報更新が不十分になるという問題がある。
【0004】
電力貯蔵装置の内部状態を監視するために、電力貯蔵装置のデジタルツインが導入されている。デジタルツインは、電力貯蔵装置のデジタルなコンピュータ上の複製である。このデジタルツインは、電力貯蔵装置の挙動を模擬する(即ち、シミュレーションを行う)ことで、蓄電池の充電率(State of Charge:SOC)や健康度/健全度(State of Health:SOH)などの状態量を逐次計算して電力貯蔵装置の内部状態量を監視することができる。また、このデジタルツインをシミュレーションモデルとして用いることで、電力貯蔵装置の最適な容量設計や運用計画立案に役立てることができる。
【0005】
電力貯蔵装置の内部状態量の診断、推定、予測の精度を向上し得る電力貯蔵装置監視システムに関する技術として、特許文献1に記載のデータ処理装置がある。この特許文献1には、「データ処理装置は、蓄電素子毎、又は、複数の蓄電素子をグループ分けした蓄電素子群毎に測定された測定データを入力した場合に、測定データを再現するように学習されたオートエンコーダを用いた判定モデルを記憶した記憶部と、蓄電素子毎、又は、蓄電素子群毎の測定データを判定モデルに入力した場合に出力される再現データと、測定データとの誤差に基づいて、蓄電素子毎、又は、蓄電素子群毎の測定データにおける蓄電素子の想定モデルから外れた異質な蓄電素子から得た測定データを特定する特定部と、を備える。」と記載されている。
【先行技術文献】
【特許文献】
【0006】
特許第7390310号公報
【発明の概要】
【発明が解決しようとする課題】
【0007】
上述したように、蓄電素子の数が膨大である場合には、データ通信に要する時間が長くなるために、電力貯蔵装置監視システムが各蓄電素子の内部状態の情報を収集するのに要する時間が長くなってしまう。ところが、特許文献1には、その対処法についての記載は見当たらない。すなわち、特許文献1に記載の従来技術では、電力貯蔵装置の各蓄電素子の内部状態の情報を収集するのに要する時間が長くなってしまうことへの対応策については何ら考慮されておらず、膨大な数の蓄電素子で構成された電力貯蔵装置を安全に運用できるとは言い難い。
【0008】
本発明は、このような背景に鑑みてなされたものであり、電力貯蔵装置の内部状態を正確に把握し、かつ、高頻度に情報更新可能な電力貯蔵装置監視システム及び電力貯蔵装置監視方法、並びに、当該電力貯蔵装置監視システムを有する電力貯蔵システムを提供することを目的とする。
【課題を解決するための手段】
【0009】
上記課題を解決するために、例えば特許請求の範囲に記載の構成を採用する。
本願は上記課題を解決する手段を複数含んでいるが、その一例を挙げるならば、第1の周期において、電力貯蔵装置の第1の内部状態データを収集するとともに、第1の内部状態データよりもデータ量の多い第2の内部状態データの一部を収集するデータ収集部と、第1の内部状態データを入力として、第2の内部状態データに含まれる電力貯蔵装置の内部状態を計算して出力する内部状態推定部と、を備える電力貯蔵装置監視システムである。そして、好ましくは、データ収集部は、第1の周期よりも長い第2の周期において、第2の内部状態データの収集を完了する。
【0010】
また、第1の周期において、電力貯蔵装置の第1の内部状態データを収集する処理ステップと、第1の内部状態データよりもデータ量の多い第2の内部状態データの一部を収集する処理ステップと、第1の内部状態データを入力として、第2の内部状態データに含まれる電力貯蔵装置の内部状態を計算して出力する処理ステップと、の各処理を実行する電力貯蔵装置監視方法である。そして、好ましくは、第1の周期よりも長い第2の周期において、第2の内部状態データの収集を完了する。
【発明の効果】
(【0011】以降は省略されています)
この特許をJ-PlatPat(特許庁公式サイト)で参照する
関連特許
株式会社日立製作所
鉄道車両
7日前
株式会社日立製作所
放射線モニタ
今日
株式会社日立製作所
ガス分離システム
7日前
株式会社日立製作所
調停案提示システム
8日前
株式会社日立製作所
データ変換装置および方法
1日前
株式会社日立製作所
治療効果予測システムおよび方法
8日前
株式会社日立製作所
計算機システム及び障害対処支援方法
8日前
株式会社日立製作所
圧延設定支援装置及び圧延設定支援方法
7日前
株式会社日立製作所
燃料電池ブロックおよび燃料電池システム
8日前
株式会社日立製作所
不具合文書処理装置、及び不具合文書処理方法
2日前
株式会社日立製作所
搬送装置を制御する制御システム及び制御方法
7日前
株式会社日立製作所
商品演出支援システム、及び商品演出支援方法
1日前
株式会社日立製作所
事象分析装置、事象分析方法および分析システム
1日前
株式会社日立製作所
情報処理システム、情報処理方法およびプログラム
1日前
株式会社日立製作所
計算機システム、プログラム、及びデータ圧縮方法
今日
株式会社日立製作所
行動分析装置、行動分析方法及び案内情報提供システム
今日
株式会社日立製作所
情報処理装置、情報処理方法、及び情報処理プログラム
2日前
株式会社日立製作所
エネルギー貯蔵先選択装置およびエネルギー貯蔵先選択方法
今日
株式会社日立製作所
管路推定システム、管路推定方法、および管路推定プログラム
7日前
株式会社日立製作所
電力需給管理システム、電力需給管理方法および自律分散復旧装置
1日前
株式会社日立製作所
水素製造システム、電力供給装置及び水素製造システムの制御方法
今日
株式会社日立製作所
オブジェクト指向システム、及び、オブジェクト指向システムの作成方法
1日前
株式会社日立製作所
ロボット制御装置、ロボット、ロボット制御システム、および、ロボット制御方法
今日
株式会社日立製作所
電力系統運用計画装置、電力系統運用計画システム、および、電力系統運用計画方法
1日前
株式会社日立製作所
回転電機の駆動装置、駆動方法および鉄道車両
今日
個人
メジャー文具
17日前
個人
アクセサリー型テスター
10日前
個人
高精度同時多点測定装置
9日前
株式会社ミツトヨ
測定器
今日
ユニパルス株式会社
ロードセル
16日前
アズビル株式会社
電磁流量計
3日前
株式会社ヨコオ
ソケット
15日前
トヨタ自動車株式会社
監視装置
15日前
エイブリック株式会社
磁気センサ回路
22日前
株式会社ヨコオ
ソケット
16日前
ダイキン工業株式会社
監視装置
14日前
続きを見る
他の特許を見る