TOP
|
特許
|
意匠
|
商標
特許ウォッチ
Twitter
他の特許を見る
10個以上の画像は省略されています。
公開番号
2025157956
公報種別
公開特許公報(A)
公開日
2025-10-16
出願番号
2024060339
出願日
2024-04-03
発明の名称
燃料電池ブロックおよび燃料電池システム
出願人
株式会社日立製作所
代理人
弁理士法人筒井国際特許事務所
主分類
H01M
8/2404 20160101AFI20251008BHJP(基本的電気素子)
要約
【課題】発電に利用できる実効面積の低下を抑制でき、複数の燃料電池セルを高密度に配置できる燃料電池ブロックと、複数の燃料電池ブロックを備えた燃料電池システムとを提供する。また、そのような燃料電池ブロックおよび燃料電池システムを実現するための燃料電池セルを提供する。
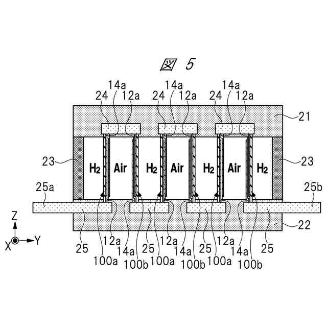
【解決手段】燃料電池ブロック(200)は、第1板部材21と、第2板部材22と、枠部材23と、複数の第1燃料電池セル100aと、複数の第2燃料電池セル100bとを備える。第1燃料電池セル100aでは、第1引き出し部14aが第1板部材21側に位置し、且つ、第2引き出し部12aが第2板部材22側に位置する。第2燃料電池セル100bでは、第2引き出し部12aが第1板部材21側に位置し、且つ、第1引き出し部14aが第2板部材22側に位置する。
【選択図】図5
特許請求の範囲
【請求項1】
第1板部材と、
前記第1板部材と対向するように配置された第2板部材と、
前記第1板部材および前記第2板部材に挟まれた枠部材と、
前記第1板部材、前記第2板部材および前記枠部材によって囲まれたガス容器内に配置された複数の燃料電池セルと、
を備え、
前記燃料電池セルは、多孔質絶縁基板の上に、第1電極膜、第2電極膜、および、前記第1電極膜と前記第2電極膜との間に形成された固体の電解質膜からなる積層構造を持ち、
前記燃料電池セルは、前記第1電極膜、前記電解質膜および前記第2電極膜の積層方向から見た平面視において、長方形状を成し、
前記燃料電池セルの一方の長辺側に位置する前記第1電極膜の一部は、前記燃料電池セルの外部と電気的な導通を取るための第1引き出し部を構成し、
前記燃料電池セルの他方の長辺側に位置する前記第2電極膜の一部は、前記燃料電池セルの外部と電気的な導通を取るための第2引き出し部を構成し、
前記複数の前記燃料電池セルは、前記第1引き出し部が前記第1板部材側に位置し、且つ、前記第2引き出し部が前記第2板部材側に位置する複数の第1燃料電池セルと、前記第2引き出し部が前記第1板部材側に位置し、且つ、前記第1引き出し部が前記第2板部材側に位置する複数の第2燃料電池セルとを含み、
前記第1燃料電池セルの前記第1電極膜と前記第2燃料電池セルの前記第1電極膜とが対向し、且つ、前記第1燃料電池セルの前記多孔質絶縁基板と前記第2燃料電池セルの前記多孔質絶縁基板とが対向するように、前記第1燃料電池セルおよび前記第2燃料電池セルが繰り返し隣り合わせに配置されている、燃料電池ブロック。
続きを表示(約 1,800 文字)
【請求項2】
請求項1に記載の燃料電池ブロックにおいて、
前記積層方向から見た平面視において、前記第1引き出し部は、前記第2電極膜に重ならず、前記第2引き出し部は、前記第1電極膜に重ならない、燃料電池ブロック。
【請求項3】
請求項1に記載の燃料電池ブロックにおいて、
前記複数の前記燃料電池セルは、前記ガス容器を、対向する前記第1電極膜に酸化剤ガスを供給するための第1ガス流路と、対向する前記第2電極膜に燃料ガスを供給するための第2ガス流路とに分断する隔壁として機能する、燃料電池ブロック。
【請求項4】
請求項3に記載の燃料電池ブロックにおいて、
前記第1板部材の内部に設けられた複数の第1集電配線と、
前記第2板部材の内部に設けられた複数の第2集電配線と、
を更に備え、
前記複数の前記第1集電配線は、それぞれ、前記第1燃料電池セルの前記第1引き出し部と、前記第2燃料電池セルの前記第2引き出し部とに電気的に接続され、
前記複数の前記第2集電配線は、それぞれ、前記第2燃料電池セルの前記第1引き出し部と、前記第1燃料電池セルの前記第2引き出し部とに電気的に接続され、
前記複数の前記燃料電池セルが、互いに直列接続されている、燃料電池ブロック。
【請求項5】
請求項4に記載の燃料電池ブロックにおいて、
前記第1板部材の外部に引き出された前記複数の前記第1集電配線の一部、または、前記第2板部材の外部に引き出された前記複数の前記第2集電配線の一部は、前記燃料電池ブロックの外部と電気的な導通を取るための正極出力端子および負極出力端子を構成する、燃料電池ブロック。
【請求項6】
請求項5に記載の燃料電池ブロックにおいて、
前記第1ガス流路に前記酸化剤ガスを供給するための第1ガス供給配管と、
前記第1ガス流路に残留するガスを排気するための第1ガス排気配管と、
前記第2ガス流路に前記燃料ガスを供給するための第2ガス供給配管と、
前記第2ガス流路に残留するガスを排気するための第2ガス排気配管と、
を更に備えた、燃料電池ブロック。
【請求項7】
請求項6に記載の燃料電池ブロックにおいて、
前記枠部材には、前記第1ガス流路と前記第1ガス供給配管とを連通させる第1貫通孔と、前記第1ガス流路と前記第1ガス排気配管とを連通させる第2貫通孔と、前記第2ガス流路と前記第2ガス供給配管とを連通させる第3貫通孔と、前記第2ガス流路と前記第2ガス排気配管とを連通させる第4貫通孔とが形成されている、燃料電池ブロック。
【請求項8】
請求項6に記載の燃料電池ブロックにおいて、
前記第1板部材のうち前記複数の前記第1集電配線が設けられていない箇所、または、前記第2板部材のうち前記複数の前記第2集電配線が設けられていない箇所には、前記第1ガス流路と前記第1ガス供給配管とを連通させる第1貫通孔と、前記第1ガス流路と前記第1ガス排気配管とを連通させる第2貫通孔と、前記第2ガス流路と前記第2ガス供給配管とを連通させる第3貫通孔と、前記第2ガス流路と前記第2ガス排気配管とを連通させる第4貫通孔とが形成されている、燃料電池ブロック。
【請求項9】
請求項6に記載の燃料電池ブロックを複数備えた燃料電池システムであって、
前記複数の前記燃料電池ブロックは、互いに隣接配置された2つの燃料電池ブロックを含み、
前記複数の前記燃料電池ブロックは、直列接続または並列接続され、
前記2つの前記燃料電池ブロックは、一方の前記第1板部材および他方の前記第2板部材、前記一方の前記第1板部材および他方の前記第1板部材、または、一方の前記第2板部材および前記他方の前記第2板部材が対向するように隣接配置されているか、互いの前記枠部材が対向するように隣接配置されている、燃料電池システム。
【請求項10】
請求項9に記載の燃料電池システムであって、
前記一方の前記第1板部材および前記他方の前記第2板部材が対向するように、前記2つの前記燃料電池ブロックが隣接配置され、
前記2つの前記燃料電池ブロックは、並列接続されている、燃料電池システム。
(【請求項11】以降は省略されています)
発明の詳細な説明
【技術分野】
【0001】
本発明は、複数の燃料電池セルを備えた燃料電池ブロック、および、複数の燃料電池ブロックを備えた燃料電池システムに関する。
続きを表示(約 1,400 文字)
【背景技術】
【0002】
特許文献1、特許文献2および特許文献3には、固体酸化物燃料電池(Solid Oxide Fuel Cell:SOFC)を用いた技術が開示されている。
【0003】
特許文献1には、スタック構造のSOFCが開示されている。スタック構造のSOFCでは、各層毎に、燃料ガスの流路および酸化剤ガスの流路が形成されている。積層方向において、燃料電池セル、燃料ガスの流路、導電体であるセパレータ、および、酸化剤ガスの流路が、順番に繰り返し積層されている。
【0004】
発生した電力は、アノード電極に接続された集電体と、カソード電極に接続された集電体とを介して、上下方向に引き出される。複数の燃料電池セルは、セパレータを介して直列に接続されている。最下段に配置された燃料電池セルと、最上段に配置された燃料電池セルから、スタック構造の外部へ電力が出力される。
【0005】
これに対して特許文献2には、薄膜型のSOFCを搭載したスタック構造が開示されている。薄膜型のSOFCについては、近年盛んに研究開発が進められている。薄膜型のSOFCの特徴として、固体の電解質膜であるイットリア安定化ジルコニア(YSZ)の厚さが、非常に薄く、1μm以下である。薄膜化によって電解質膜の抵抗が低減するので、発電能力が数W/cm
2
(∝A/cm
2
)に向上する。
【0006】
通常、薄膜型のSOFCは、何らかの支持体の上に形成される。特許文献2では、多孔質絶縁基板(陽極酸化アルミナ膜)上に、アノード電極膜、YSZ膜およびカソード電極膜が、順番に形成されている。多孔質絶縁基板の平面サイズが、数cm
2
に制限されるので、特許文献2では、複数の燃料電池セルを並列接続させて中間基板に実装し、この中間基板を縦方向に積層し、並列接続させた複数の燃料電池セルを直列接続することで、高出力を得ている。
【0007】
特許文献3では、中間基板で更に複数の燃料電池セルを直列接続または並列接続させ、この中間基板を縦方向に積層し、直列接続または並列接続させた複数の燃料電池セルを直列接続することで、スタック構造を構成している。これにより、出力電圧を更に増大させて、スタック構造内の寄生抵抗によって生じるオーミック損失を低減させている。
【先行技術文献】
【特許文献】
【0008】
特開2022-66744号公報
特開2023-167722号公報
特開2023-155085号公報
【発明の概要】
【発明が解決しようとする課題】
【0009】
薄膜型のSOFCでは、例えば1W/cm
2
のような高い発電効率と、例えば500℃のような低温動作とが可能である。一方で、薄膜型のSOFC固有の問題点がある。
【0010】
一つ目の問題点として、特許文献1に開示されているような集電体によるカソード電極の引き出しが困難である。カソード電極の直下には、固体の電解質膜を介してアノード電極が設けられている。集電体を圧接すると、均一な押し圧にはならず、応力集中によって固体の電解質膜に亀裂が生じる。その結果、アノード電極とカソード電極との間でショート不良が発生する。
(【0011】以降は省略されています)
この特許をJ-PlatPat(特許庁公式サイト)で参照する
関連特許
株式会社日立製作所
鉄道車両
今日
株式会社日立製作所
ガス分離システム
今日
株式会社日立製作所
調停案提示システム
1日前
株式会社日立製作所
治療効果予測システムおよび方法
1日前
株式会社日立製作所
情報処理システム、及び情報処理方法
7日前
株式会社日立製作所
計算機システム及び障害対処支援方法
1日前
株式会社日立製作所
圧延設定支援装置及び圧延設定支援方法
今日
株式会社日立製作所
燃料電池ブロックおよび燃料電池システム
1日前
株式会社日立製作所
制御装置,移動体,制御システム及び制御方法
3日前
株式会社日立製作所
搬送装置を制御する制御システム及び制御方法
今日
株式会社日立製作所
生産ラインを編成する装置、システムおよび方法
2日前
株式会社日立製作所
異常事象対処支援装置および異常事象対処支援方法
2日前
株式会社日立製作所
エンティティ抽出システム、エンティティ選択方法
2日前
株式会社日立製作所
飛行体検知装置、飛行体検知方法、及び飛行体制御システム
7日前
株式会社日立製作所
情報処理方法、情報処理プログラム、及び情報処理システム
7日前
株式会社日立製作所
管路推定システム、管路推定方法、および管路推定プログラム
今日
株式会社日立製作所
ロボットの動作学習装置、動作学習システム、および、動作学習方法
7日前
株式会社日立製作所
セキュリティ侵害分析装置、セキュリティ侵害分析方法、及びセキュリティ分析システム
7日前
株式会社日立製作所
ストレージコントローラにおいて実行されるソフトウェアの起動における改ざん検証のテストを行うシステム
7日前
個人
フレキシブル電気化学素子
7日前
日本発條株式会社
積層体
18日前
個人
防雪防塵カバー
18日前
ローム株式会社
半導体装置
16日前
ローム株式会社
半導体装置
9日前
ローム株式会社
半導体装置
16日前
ローム株式会社
半導体装置
16日前
株式会社ユーシン
操作装置
7日前
ローム株式会社
半導体装置
14日前
日新イオン機器株式会社
イオン源
3日前
太陽誘電株式会社
全固体電池
14日前
株式会社GSユアサ
蓄電装置
18日前
株式会社GSユアサ
蓄電設備
7日前
株式会社GSユアサ
蓄電設備
7日前
太陽誘電株式会社
コイル部品
7日前
株式会社ホロン
冷陰極電子源
1日前
株式会社ホロン
冷陰極電子源
14日前
続きを見る
他の特許を見る