TOP
|
特許
|
意匠
|
商標
特許ウォッチ
Twitter
他の特許を見る
10個以上の画像は省略されています。
公開番号
2025160832
公報種別
公開特許公報(A)
公開日
2025-10-23
出願番号
2024063655
出願日
2024-04-10
発明の名称
データ変換装置および方法
出願人
株式会社日立製作所
代理人
弁理士法人ウィルフォート国際特許事務所
主分類
G06F
16/906 20190101AFI20251016BHJP(計算;計数)
要約
【課題】データからイベントを探知するルールの迅速な適用を可能にする技術を提供する。
【解決手段】データ変換装置は、アセットと、イベントの内容を定めるルールと、イベントを検知する対象とするアセットであるターゲットと、イベントを検知するための条件であるトリガーとに関する情報を取得し、管理情報を作成する管理情報作成部と、前記管理情報を記憶する管理情報記憶部と、前記アセットからのデータに基づいて前記イベントを検知するために必要な情報を前記管理情報から選択し、検知情報としてキャッシュメモリに保存し、前記キャッシュメモリ上の前記検知情報を利用して、前記アセットからの入力データから前記イベントを検知するイベント探知エンジンと、を有する。
【選択図】図2
特許請求の範囲
【請求項1】
アセットと、イベントの内容を定めるルールと、イベントを検知する対象とするアセットであるターゲットと、イベントを検知するための条件であるトリガーとに関する情報を取得し、管理情報を作成する管理情報作成部と、
前記管理情報を記憶する管理情報記憶部と、
前記アセットからのデータに基づいて前記イベントを検知するために必要な情報を前記管理情報から選択し、検知情報としてキャッシュメモリに保存し、前記キャッシュメモリ上の前記検知情報を利用して、前記アセットからの入力データから前記イベントを検知するイベント探知エンジンと、
を有するデータ変換装置。
続きを表示(約 1,900 文字)
【請求項2】
前記管理情報作成部は、前記アセット、前記ルール、前記ターゲット、および前記トリガーに関する情報をユーザから受け付けることにより、前記管理情報を作成し、
前記イベント探知エンジンは、
前記ターゲットとするアセットからのデータを抽出するためのアセット検知情報と、抽出された前記データが前記イベントに該当したことを検知するためのトリガー検知情報とを、前記検知情報として前記キャッシュメモリに保存し、
前記アセット検知情報を利用して、前記入力データの中から前記ターゲットからのデータをターゲットデータとして抽出し、
前記トリガー検知情報を利用して、前記ターゲットデータが前記トリガーに該当したことを検知する、
請求項1に記載のデータ変換装置。
【請求項3】
前記アセット検知情報は、アセットからのデータに付与される該アセットに固有の情報であるアセットシリアルと、アセットを識別するアセットIDとを紐づける情報である、
請求項2に記載のデータ変換装置。
【請求項4】
前記イベント探知エンジンは、
前記ターゲットとするアセットと該アセットからのデータに適用するルールを識別するルールマスタIDとを紐づけるアセットルールマスター情報と、前記ルールマスタIDと該ルールマスタIDにより識別されるルールのトリガーと前記イベントとを紐づけるイベントルールトリガー情報とを、前記トリガー検知情報として、前記キャッシュメモリに保存し、
前記アセットルールマスター情報に基づいて、前記ターゲットデータに適用するルールのルールマスタIDを特定し、
前記ターゲットデータが、前記イベントルールトリガー情報において前記ルールマスタIDに紐づけられたルールのトリガーの条件を満たしたとき、前記イベントルールトリガー情報において前記ルールマスタIDに紐づけられた前記イベントが発生したことを検知する、
請求項3に記載のデータ変換装置。
【請求項5】
前記イベント探知エンジンは、前記管理情報作成部によって前記管理情報が更新されると、更新された前記管理情報に基づいて前記キャッシュメモリ上の前記検知情報を更新する、
請求項1に記載のデータ変換装置。
【請求項6】
前記管理情報作成部は、ユーザによるターゲットとするアセットの指定を可能にする第1画面を表示し、前記第1画面上で指定されたターゲットとするアセットを受け付け、ユーザによるイベントのトリガーの登録を可能にする第2画面を表示し、前記第2画面上で登録されたトリガーを受け付ける、
請求項2に記載のデータ変換装置。
【請求項7】
前記管理情報作成部は、前記第2画面において、データの項目を入力する第1入力領域と、該データに対するトリガーの内容を入力する第2入力領域とを表示するものであり、前記第1入力領域にデータの項目が入力されると、入力されたデータの項目に対応して過去に前記第2入力領域に入力されたトリガーの内容を、前記第2入力領域にてレコメンドとして確定または書き換えの操作が可能なように表示する、
請求項6に記載のデータ変換装置。
【請求項8】
前記管理情報作成部は、データに示された値と所定の閾値とを比較した結果と、データに示された文字列と所定の文字列とを比較した結果と、データが所定の頻度で発生することと、データが所定の日時に発生することとの少なくともひとつに基づいてイベントの有無を判定するトリガーを受け付ける、
請求項2に記載のデータ変換装置。
【請求項9】
前記管理情報作成部は、データが所定の条件を満たしたという複数の事象に対する論理演算の結果に基づいてイベントの有無を判別するトリガーを受け付ける、
請求項2に記載のデータ変換装置。
【請求項10】
アセットと、イベントの内容を定めるルールと、イベントを検知する対象とするアセットであるターゲットと、イベントを検知するための条件であるトリガーとに関する情報を取得して、管理情報を作成し、
前記管理情報を記憶し、
前記アセットからのデータに基づいて前記イベントを検知するために必要な情報を前記管理情報から選択し、検知情報としてキャッシュメモリに保存し、
前記キャッシュメモリ上の前記検知情報を利用して、前記アセットからの入力データから前記イベントを検知する、
ことをコンピュータが実行するデータ変換方法。
発明の詳細な説明
【技術分野】
【0001】
本開示は、データからイベントを検知する技術に関する。
続きを表示(約 2,300 文字)
【背景技術】
【0002】
近年、様々な機器(アセット)に様々なセンサーを設けることにより、IoT(Internet of Things)データを生み出すことが可能となり、そのIoTデータを利活用することの重要性が高まっている。例えば、多種多様なIoTデータからアセットやその周囲における障害を検知したり(障害検知)、障害等の予兆の有無を診断したり(予兆診断)することが考えられる。
【0003】
アセットからのIoTデータを処理して障害やその予兆を検知し、障害やその予兆を表すイベントを出力するデータ変換装置を配置することにより、これまで人手を介して行われていた予兆診断や障害検知を、人手を介さずに行うことが可能となる。この場合、データからイベントを検知するために、データ変換装置には、データとイベントとを関連付けるルールを予め定義しておくことになる。
【0004】
これに関連して、特許文献1には、IoTデータを有意なイベントに関連付ける手法が開示されている。特許文献1の開示によれば、IoTイベントオブジェクトは、特定のデバイスタイプおよび能力に合わせることができる。IoTイベントオブジェクトは、再構成され得るイベントの柔軟な定義を使用することができる。IoTイベントオブジェクトは、異なるトリガ条件および優先順位を設定する能力を可能にする。個々のイベント定義は、より複合的なイベントを生成するように拡張されることができる。通知ハンドラは、アクションを要求するイベントに応答して、要求またはコマンドを送信することをサポートする。
【先行技術文献】
【特許文献】
【0005】
特表2016-535359号公報
【発明の概要】
【発明が解決しようとする課題】
【0006】
IoTデータの種類やデータ量が増えればIoTデータの利活用の向上が見込める。しかし、IoTデータの種類やデータ量が増えれば、そのデータを利用してより的確な判断を可能にするために、ルールが複雑化することが考えられる。その場合、ルールを規定するソースコードの改修に要する作業工数や作業時間も増える。また、ルールが複雑化することにより、イベント検知の処理も複雑化し、処理負荷も増大する。そのため、新たな資材をデプロイすることが必要になる場合もある。そして、ソースコードの改修や資材のデプロイを行っている間はイベントの検知を実行できない。ルールを更新する際に発生するイベントを検知できない時間はできるだけ短い方がよく、新たなルールを迅速に適用することが求められる。
【0007】
この点、特許文献1の手法によれば、IoTデータをイベントに関連付けるルールの作成を支援することができるが、新たなルールを迅速に適用することが考慮されていない。
本開示に含まれるひとつの目的は、データからイベントを探知するルールの迅速な適用を可能にする技術を提供することである。
【課題を解決するための手段】
【0008】
本開示のひとつの態様によるデータ変換装置は、アセットと、イベントの内容を定めるルールと、イベントを検知する対象とするアセットであるターゲットと、イベントを検知するための条件であるトリガーとに関する情報を取得し、管理情報を作成する管理情報作成部と、前記管理情報を記憶する管理情報記憶部と、前記アセットからのデータに基づいて前記イベントを検知するために必要な情報を前記管理情報から選択し、検知情報としてキャッシュメモリに保存し、前記キャッシュメモリ上の前記検知情報を利用して、前記アセットからの入力データから前記イベントを検知するイベント探知エンジンと、を有する。
【発明の効果】
【0009】
本開示のひとつの態様によれば、データからイベントを探知するルールの迅速な適用が可能となる。
【図面の簡単な説明】
【0010】
イベント探知システムのブロック図である。
データ変換装置のブロック図である。
データ変換装置が実行する全体処理のフローチャートである。
管理情報作成処理のフローチャートである。
アセット管理情報を作成するためのGUI画面の一例を示す図である。
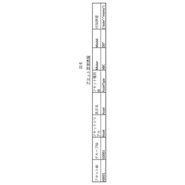
データベース上のアセット管理情報の一例を示す図である。
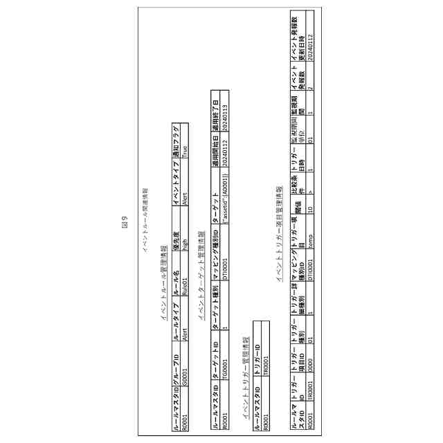
イベントルール管理情報およびイベントターゲット管理情報を作成するためのGUI画面の一例を示す図である。
イベントトリガー項目管理情報におけるトリガーを作成するためのGUI画面の一例を示す図である。
イベントルール関連情報の一例を示す図である。
検知情報キャッシュ処理のフローチャートである。
キャッシュメモリに保存されるアセット検知情報の一例を示す図である。
キャッシュメモリに保存されるトリガー検知情報の一例を示す図である。
イベント探知処理のフローチャートである。
アセット検出処理の様子を示す概念図である。
トリガー確認処理の様子を示す概念図である。
イベント検出処理の様子を示す概念図である。
データ変換装置のハードウェア構成を示すブロック図である。
2つのサーバー装置を備えるデータ変換装置の構成例を示すブロック図である。
【発明を実施するための形態】
(【0011】以降は省略されています)
この特許をJ-PlatPat(特許庁公式サイト)で参照する
関連特許
株式会社日立製作所
鉄道車両
8日前
株式会社日立製作所
放射線モニタ
1日前
株式会社日立製作所
形状制御システム
24日前
株式会社日立製作所
ガス分離システム
8日前
株式会社日立製作所
調停案提示システム
9日前
株式会社日立製作所
部品管理装置及び方法
15日前
株式会社日立製作所
データ変換装置および方法
2日前
株式会社日立製作所
ソフトウェア生成システム
18日前
株式会社日立製作所
情報処理装置、情報処理方法
17日前
株式会社日立製作所
費用対効果算出方法および装置
24日前
株式会社日立製作所
情報処理装置及び情報処理方法
22日前
株式会社日立製作所
回転電機および電動機システム
22日前
株式会社日立製作所
蒸発乾固装置および蒸発乾固方法
16日前
株式会社日立製作所
情報処理システム、及び予測方法
23日前
株式会社日立製作所
治療効果予測システムおよび方法
9日前
株式会社日立製作所
物流計画システム及び物流計画方法
24日前
株式会社日立製作所
情報処理システム、及び情報処理方法
17日前
株式会社日立製作所
情報処理システム、及び情報処理方法
15日前
株式会社日立製作所
計算機システム及び障害対処支援方法
9日前
株式会社日立製作所
設計図書のチェックシステムおよび方法
22日前
株式会社日立製作所
半導体装置および半導体装置の駆動方法
18日前
株式会社日立製作所
故障要因分析装置及び故障要因分析方法
16日前
株式会社日立製作所
圧延設定支援装置及び圧延設定支援方法
8日前
株式会社日立製作所
説明情報生成装置及び説明情報生成方法
16日前
株式会社日立製作所
仮想空間生成装置および仮想空間生成方法
22日前
株式会社日立製作所
臨床試験計画装置および臨床試験計画方法
17日前
株式会社日立製作所
燃料電池ブロックおよび燃料電池システム
9日前
株式会社日立製作所
商品演出支援システム、及び商品演出支援方法
2日前
株式会社日立製作所
制御装置,移動体,制御システム及び制御方法
11日前
株式会社日立製作所
テスト支援システム、および、テスト支援方法
24日前
株式会社日立製作所
制御設計支援方法、および、制御設計支援装置
18日前
株式会社日立製作所
ノイズ低減方法、装置、電子機器及び可読媒体
23日前
株式会社日立製作所
搬送装置を制御する制御システム及び制御方法
8日前
株式会社日立製作所
不具合文書処理装置、及び不具合文書処理方法
3日前
株式会社日立製作所
仮想化システム及び仮想化システムの制御方法
24日前
株式会社日立製作所
仮想化システム及び仮想化システムの制御方法
24日前
続きを見る
他の特許を見る