TOP
|
特許
|
意匠
|
商標
特許ウォッチ
Twitter
他の特許を見る
10個以上の画像は省略されています。
公開番号
2025151751
公報種別
公開特許公報(A)
公開日
2025-10-09
出願番号
2024053321
出願日
2024-03-28
発明の名称
屋根構造及びカバー部材
出願人
積水ハウス株式会社
,
株式会社カナメ
,
株式会社カネカ
代理人
個人
,
個人
主分類
H02S
20/23 20140101AFI20251002BHJP(電力の発電,変換,配電)
要約
【課題】本発明は、屋根部材と太陽電池モジュールとの間で一体感があり、従来に比べて意匠性に優れた屋根構造及びカバー部材を提供する。
【解決手段】屋根下地上に第1屋根部材と第2屋根部材が段状に重なりをもって軒棟方向に配置され、第2屋根部材は、軒先側の部分が第1屋根部材の棟側の部分と重なっており、太陽電池モジュールと、保持金具と、取付金具と、カバー部材を有し、保持金具は、太陽電池モジュールの軒先側端部を保持するものであり、取付金具は、第1屋根部材と第2屋根部材に跨って設けられ、太陽電池モジュールを平面視したときに第2屋根部材と重なる位置で保持金具が固定されており、カバー部材は、取付金具と保持金具に挟持される被挟持部と、被挟持部から第1屋根部材に向かって傾斜して延びた延伸部を有し、延伸部は、軒先側端部が第1屋根部材に近接した位置で自由端となっている構成とする。
【選択図】図5
特許請求の範囲
【請求項1】
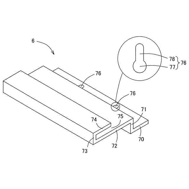
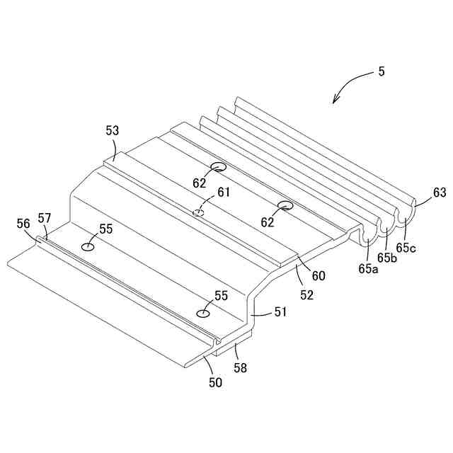
屋根下地上に第1屋根部材と第2屋根部材が段状に重なりをもって軒棟方向に配置される屋根構造であって、
前記第2屋根部材は、軒先側の部分が前記第1屋根部材の棟側の部分と重なっており、
太陽電池モジュールと、保持金具と、取付金具と、カバー部材を有し、
前記保持金具は、前記太陽電池モジュールの軒先側端部を保持するものであり、
前記取付金具は、前記第1屋根部材と前記第2屋根部材に跨って設けられ、前記太陽電池モジュールを平面視したときに前記第2屋根部材と重なる位置で前記保持金具が固定されており、
前記カバー部材は、前記取付金具と前記保持金具に挟持される被挟持部と、前記被挟持部から前記第1屋根部材に向かって傾斜して延びた延伸部を有し、
前記延伸部は、軒先側端部が前記第1屋根部材に近接した位置で自由端となっている、屋根構造。
続きを表示(約 1,000 文字)
【請求項2】
前記延伸部の軒先側端部と前記第1屋根部材との最短距離が0mm超過3mm以下である、請求項1に記載の屋根構造。
【請求項3】
前記カバー部材は、前記延伸部の延び方向の中途から前記取付金具に向かって延びた脚部を有し、
前記取付金具は、前記脚部よりも軒先側にあって、かつ前記脚部と前記軒棟方向に係合する係合部を有する、請求項1又は2に記載の屋根構造。
【請求項4】
前記脚部は、前記取付金具上に載置されている、請求項3に記載の屋根構造。
【請求項5】
頭部と軸部を有する締結要素を有し、
前記締結要素は、前記軸部が前記被挟持部と前記取付金具に挿入され、前記被挟持部を前記取付金具に対して固定しており、
前記被挟持部は、前記締結要素の頭部を収容可能な収容溝を有し、
前記収容溝は、前記保持金具によって覆われている、請求項1又は2に記載の屋根構造。
【請求項6】
前記被挟持部は、前記収容溝の底部を形成する底壁部を有し、
前記被挟持部は、前記底壁部に前記取付金具と係合する位置決め部を備えている、請求項5に記載の屋根構造。
【請求項7】
前記被挟持部は、前記収容溝の底部を形成する底壁部を有し、
前記被挟持部は、前記底壁部の前記取付金具側の面に、前記底壁部と前記取付金具との間隔を形成する間隔形成部を備える、請求項5に記載の屋根構造。
【請求項8】
屋根下地上に第1屋根部材と第2屋根部材が段状に重なりをもって軒棟方向に配置され、太陽電池モジュールと保持金具と取付金具を有する屋根構造を構成するカバー部材であって、
前記第2屋根部材は、軒先側の部分が前記第1屋根部材の棟側の部分と重なっており、
前記保持金具は、前記太陽電池モジュールの軒先側端部を保持するものであり、
前記取付金具は、前記第1屋根部材と前記第2屋根部材に跨って設けられ、前記太陽電池モジュールを平面視したときに前記第2屋根部材と重なる位置で前記保持金具が固定されており、
前記屋根構造を組み立てたときに、前記取付金具と前記保持金具に挟持される被挟持部と、前記被挟持部から前記第1屋根部材に向かって傾斜して延びた延伸部を有し、前記延伸部の軒先側端部が前記第1屋根部材に近接した位置で自由端となる、カバー部材。
発明の詳細な説明
【技術分野】
【0001】
本発明は、太陽電池モジュールが取り付けられた屋根構造及び当該屋根構造に使用されるカバー部材に関する。
続きを表示(約 1,500 文字)
【背景技術】
【0002】
従来から、屋根下地上に屋根部材が敷設され、屋根部材上に太陽電池モジュールが敷設された屋根構造が知られている(例えば、特許文献1)。
【先行技術文献】
【特許文献】
【0003】
特開2012-112127号公報
【発明の概要】
【発明が解決しようとする課題】
【0004】
ところで、屋根の軒先からではなく、軒棟方向の中途から太陽電池モジュールを設置する場合がある。
このような場合、特許文献1の太陽電池システムは、太陽電池モジュールが縦ラックと横ラックで構成された架台を介して屋根の瓦材に設置されるため、屋根の瓦材に対して架台の高さ分、太陽電池モジュールが浮いた状態となり、見栄えが悪い問題がある。
【0005】
そこで、本発明は、屋根部材と太陽電池モジュールとの間で一体感があり、従来に比べて意匠性に優れた屋根構造及びカバー部材を提供することを目的とする。
【課題を解決するための手段】
【0006】
上記した課題を解決するための本発明の一つの様相は、屋根下地上に第1屋根部材と第2屋根部材が段状に重なりをもって軒棟方向に配置される屋根構造であって、前記第2屋根部材は、軒先側の部分が前記第1屋根部材の棟側の部分と重なっており、太陽電池モジュールと、保持金具と、取付金具と、カバー部材を有し、前記保持金具は、前記太陽電池モジュールの軒先側端部を保持するものであり、前記取付金具は、前記第1屋根部材と前記第2屋根部材に跨って設けられ、前記太陽電池モジュールを平面視したときに前記第2屋根部材と重なる位置で前記保持金具が固定されており、前記カバー部材は、前記取付金具と前記保持金具に挟持される被挟持部と、前記被挟持部から前記第1屋根部材に向かって傾斜して延びた延伸部を有し、前記延伸部は、軒先側端部が前記第1屋根部材に近接した位置で自由端となっている、屋根構造である。
【0007】
本様相によれば、延伸部の軒先側端部が第1屋根部材に近接しているので、軒先側の第1屋根部材と太陽電池モジュールとの間で一体的な外観が得られる。その結果、屋根部材と太陽電池モジュールとの間で一体感があり、従来に比べて意匠性に優れている。
本様相によれば、延伸部の軒先側端部が第1屋根部材に近接しているので、鳥獣等が延伸部の軒先側端部と第1屋根部材の隙間から太陽電池モジュールと第2屋根部材との間に入りにくい。
本様相によれば、延伸部の軒先側端部が第1屋根部材に近接しているので、風が延伸部の軒先側端部と第1屋根部材の隙間から太陽電池モジュールと第2屋根部材との間に入りにくく、吹上力による荷重を受けにくい。そのため、太陽電池モジュールが屋根下地から離れにくい。
本様相によれば、延伸部の軒先側端部が第1屋根部材に近接した位置で自由端となっているので、風荷重を受けてカバー部材が傾いた場合でも、延伸部の軒先側端部が第1屋根部材に当接し、カバー部材が外れることを防止できる。
【0008】
好ましい様相は、前記延伸部の軒先側端部と前記第1屋根部材との最短距離が0mm超過3mm以下である。
【0009】
本様相によれば、鳥獣等が延伸部の軒先側端部と第1屋根部材の隙間からより入りこみにくい。
【0010】
好ましい様相は、前記カバー部材は、前記延伸部の延び方向の中途から前記取付金具に向かって延びた脚部を有し、前記取付金具は、前記脚部よりも軒先側にあって、かつ前記脚部と前記軒棟方向に係合する係合部を有する。
(【0011】以降は省略されています)
この特許をJ-PlatPat(特許庁公式サイト)で参照する
関連特許
個人
単極モータ
5日前
株式会社アイシン
ロータ
5日前
株式会社アイシン
ロータ
9日前
西部電機株式会社
充電装置
12日前
西部電機株式会社
充電装置
12日前
日本精機株式会社
サージ保護回路
12日前
トヨタ自動車株式会社
固定子
10日前
トヨタ自動車株式会社
製造装置
10日前
株式会社デンソー
回転機
3日前
個人
連続ガウス加速器形磁力増幅装置
12日前
株式会社ダイヘン
充電装置
9日前
株式会社アイシン
ステータ
9日前
株式会社アイシン
ステータ
9日前
株式会社アイシン
ステータ
9日前
個人
太陽エネルギー収集システム
10日前
株式会社ダイヘン
充電装置
9日前
株式会社ダイヘン
充電装置
9日前
株式会社ダイヘン
充電装置
9日前
東京瓦斯株式会社
通信装置
11日前
株式会社アイシン
ステータ
9日前
株式会社ミツバ
ブラシレスモータ
11日前
カヤバ株式会社
筒型リニアモータ
11日前
トヨタ自動車株式会社
被膜形成装置
10日前
株式会社kaisei
発電システム
5日前
ニチコン株式会社
AC入力検出回路
16日前
株式会社ダイヘン
電力システム
12日前
東京瓦斯株式会社
給電システム
11日前
株式会社デンソー
電力変換装置
4日前
ASTI株式会社
電力変換装置
10日前
株式会社ミツバ
回転電機
2日前
株式会社ダイヘン
電力変換装置
12日前
株式会社ミツバ
回転電機
9日前
株式会社アイシン
回転電機
12日前
大和ハウス工業株式会社
システム
11日前
シャープ株式会社
表示装置
10日前
株式会社アイシン
駆動装置
10日前
続きを見る
他の特許を見る