TOP
|
特許
|
意匠
|
商標
特許ウォッチ
Twitter
他の特許を見る
10個以上の画像は省略されています。
公開番号
2025151792
公報種別
公開特許公報(A)
公開日
2025-10-09
出願番号
2024053382
出願日
2024-03-28
発明の名称
光触媒装置およびその制御方法
出願人
セイコーエプソン株式会社
代理人
個人
,
個人
,
個人
主分類
B01J
35/39 20240101AFI20251002BHJP(物理的または化学的方法または装置一般)
要約
【課題】酸化還元反応の効率を高めることができる光触媒装置を提供する。
【解決手段】基板と、前記基板に設けられ、c面および半極性面の少なくとも一方である第1面と、m面である第2面と、を有し、In
x
Ga
1-x
N(0≦x<1)を含む複数の柱状部と、前記第2面を避けて前記第1面に設けられ、In
y
Ga
1-y
O
z
(0≦y<1、0<z)を含む第1酸化物層と、を含む、光触媒装置。
【選択図】図1
特許請求の範囲
【請求項1】
基板と、
前記基板に設けられ、c面および半極性面の少なくとも一方である第1面と、m面である第2面と、を有し、In
x
Ga
1-x
N(0≦x<1)を含む複数の柱状部と、
前記第2面を避けて前記第1面に設けられ、In
y
Ga
1-y
O
z
(0≦y<1、0<z)を含む第1酸化物層と、
を含む、光触媒装置。
続きを表示(約 770 文字)
【請求項2】
請求項1において、
前記第1酸化物層の前記複数の柱状部とは反対側に設けられた第1助触媒を含む、光触媒装置。
【請求項3】
請求項2において、
前記第2面に設けられ、前記第1助触媒と材質が異なる第2助触媒を含む、光触媒装置。
【請求項4】
請求項1において、
前記第1面は、c面である、光触媒装置。
【請求項5】
請求項1において、
前記基板のc面である第3面に設けられ、In
v
Ga
1-v
O
w
(0≦v<1、0<w)を含む第2酸化物層を含み、
前記第2酸化物層には、複数の開口部が形成され、
前記複数の柱状部は、前記複数の開口部に設けられ、
前記基板は、In
u
Ga
1-u
N(0≦u<1)を含む、光触媒装置。
【請求項6】
請求項1において、
前記複数の柱状部に、光が照射される、光触媒装置。
【請求項7】
基板に、c面および半極性面の少なくとも一方である面と、m面と、を有し、In
x
Ga
1-x
N(0≦x<1)を含む複数の柱状部を形成する工程と、
前記複数の柱状部を、強塩基性水溶液に浸漬する工程と、
前記強塩基性水溶液に浸漬された前記複数の柱状部に紫外線を照射し、前記c面および半極性面の少なくとも一方である面を酸化させて、酸化物層を形成する工程と、
を含む、光触媒装置の製造方法。
【請求項8】
請求項7において、
前記強塩基性水溶液は、水酸化ナトリウム水溶液である、光触媒装置の製造方法。
発明の詳細な説明
【技術分野】
【0001】
本発明は、光触媒装置およびその制御方法に関する。
続きを表示(約 1,700 文字)
【背景技術】
【0002】
光が照射されることによって、触媒作用を示す光触媒が知られている。
【0003】
例えば、特許文献1には、InGaNで構成されたコアと、コアを被覆するTiO
2
で構成されたシェルと、を備えたナノ構造体からなる可視光応答型光触媒が記載されている。可視光応答型光触媒では、バンドギャップに対応するエネルギー以上のエネルギーを有する光が吸収されると、正孔と電子とが生成され、正孔は、水の酸化反応に用いられて酸素を発生させ、電子は、水の還元反応に用いられて水素を発生させる。
【先行技術文献】
【特許文献】
【0004】
国際公開第2016/104072号
【発明の概要】
【発明が解決しようとする課題】
【0005】
上記のような可視光応答型光触媒では、酸化還元反応の効率を高めることが望まれている。
【課題を解決するための手段】
【0006】
本発明に係る光触媒装置の一態様は、
基板と、
前記基板に設けられ、c面および半極性面の少なくとも一方である第1面と、m面である第2面と、を有し、In
x
Ga
1-x
N(0≦x<1)を含む複数の柱状部と、
前記第2面を避けて前記第1面に設けられ、In
y
Ga
1-y
O
z
(0≦y<1、0<z)を含む第1酸化物層と、
を含む。
【0007】
本発明に係る光触媒装置の製造方法の一態様は、
基板に、c面および半極性面の少なくとも一方である面と、m面と、を有し、In
x
Ga
1-x
N(0≦x<1)を含む複数の柱状部を形成する工程と、
前記複数の柱状部を、強塩基性水溶液に浸漬する工程と、
前記強塩基性水溶液に浸漬された前記複数の柱状部に紫外線を照射し、前記c面および半極性面の少なくとも一方である面を酸化させて、第1酸化物層を形成する工程と、
を含む。
【図面の簡単な説明】
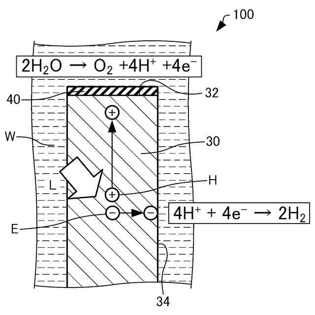
【0008】
第1実施形態に係る光触媒装置を模式的に示す断面図。
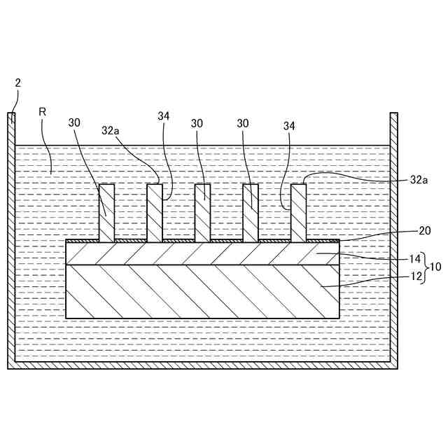
第1実施形態に係る光触媒装置を模式的に示す平面図。
GaNのバンド構造を説明するための図。
第1実施形態に係る光触媒装置の動作を説明するための図。
第1実施形態に係る光触媒装置の製造方法を説明するためのフローチャート。
第1実施形態に係る光触媒装置の製造工程を模式的に示す断面図。
第1実施形態に係る光触媒装置の製造工程を模式的に示す断面図。
第1実施形態の変形例に係る光触媒装置を模式的に示す断面図。
第2実施形態に係る光触媒装置を模式的に示す断面図。
第2実施形態に係る光触媒装置の製造工程を模式的に示す断面図。
第2実施形態に係る光触媒装置の製造工程を模式的に示す断面図。
第3実施形態に係る光触媒装置を模式的に示す断面図。
【発明を実施するための形態】
【0009】
以下、本発明の好適な実施形態について、図面を用いて詳細に説明する。なお、以下に説明する実施形態は、特許請求の範囲に記載された本発明の内容を不当に限定するものではない。また、以下で説明される構成の全てが本発明の必須構成要件であるとは限らない。
【0010】
1. 第1実施形態
1.1. 光触媒装置
1.1.1. 構成
まず、第1実施形態に係る光触媒装置について、図面を参照しながら説明する。図1は、第1実施形態に係る光触媒装置100を模式的に示す断面図である。図2は、第1実施形態に係る光触媒装置100を模式的に示す平面図である。なお、図1は、図2のI-I線断面図である。
(【0011】以降は省略されています)
この特許をJ-PlatPat(特許庁公式サイト)で参照する
関連特許
株式会社西部技研
除湿装置
8日前
株式会社日本触媒
ドロー溶質
2日前
ユニチカ株式会社
複合中空糸膜
22日前
サンノプコ株式会社
消泡剤
今日
東レ株式会社
中空糸膜モジュール
21日前
株式会社ニクニ
液体処理装置
1か月前
日本化薬株式会社
メタノール改質触媒
1か月前
株式会社MRT
微細バブル発生装置
25日前
東京理化器械株式会社
クリップ
29日前
株式会社笹山工業所
濁水処理システム
25日前
個人
攪拌装置
25日前
松岡紙業 株式会社
油吸着体の製造方法
2日前
ヤマシンフィルタ株式会社
フィルタ装置
23日前
個人
気液混合装置
今日
ノリタケ株式会社
ガス吸収シート
1か月前
大和ハウス工業株式会社
反応装置
15日前
大陽日酸株式会社
CO2の回収方法
17日前
株式会社フクハラ
圧縮空気圧回路ユニット
今日
本田技研工業株式会社
ガス回収装置
17日前
杉山重工株式会社
回転円筒型反応装置
25日前
本田技研工業株式会社
分離システム
25日前
本田技研工業株式会社
二酸化炭素回収装置
15日前
本田技研工業株式会社
二酸化炭素回収装置
17日前
本田技研工業株式会社
二酸化炭素回収装置
10日前
本田技研工業株式会社
二酸化炭素回収装置
23日前
本田技研工業株式会社
二酸化炭素回収装置
15日前
ノリタケ株式会社
触媒材料およびその利用
15日前
本田技研工業株式会社
二酸化炭素回収装置
21日前
本田技研工業株式会社
二酸化炭素回収装置
23日前
本田技研工業株式会社
二酸化炭素回収装置
23日前
本田技研工業株式会社
二酸化炭素回収装置
15日前
本田技研工業株式会社
二酸化炭素回収装置
15日前
ノリタケ株式会社
触媒材料およびその利用
15日前
ノリタケ株式会社
触媒材料およびその利用
15日前
株式会社インパクト
消臭剤又は消臭紙の製造方法
28日前
個人
フッ化炭素糸物にフッ素をコーティングした浄水手段
今日
続きを見る
他の特許を見る