TOP
|
特許
|
意匠
|
商標
特許ウォッチ
Twitter
他の特許を見る
公開番号
2025151998
公報種別
公開特許公報(A)
公開日
2025-10-09
出願番号
2024053683
出願日
2024-03-28
発明の名称
プログラム
出願人
株式会社コロプラ
代理人
弁理士法人信栄事務所
主分類
A63F
13/216 20140101AFI20251002BHJP(スポーツ;ゲーム;娯楽)
要約
【課題】興趣性を向上させる。
【解決手段】プログラムは、コンピュータに、現実空間の特定の位置に配置されているオブジェクトと、プレイヤ、または前記プレイヤの移動もしくは操作に応じて位置が変化するプレイヤオブジェクトとの撮影画像を取得させ、撮影中における前記プレイヤまたは前記プレイヤオブジェクトの動作に応じて、特定の効果を発揮させる。
【選択図】図2
特許請求の範囲
【請求項1】
コンピュータに、
現実空間の特定の位置に配置されているオブジェクトと、プレイヤ、または前記プレイヤの移動もしくは操作に応じて位置が変化するプレイヤオブジェクトとの撮影画像を取得させ、
撮影中における前記プレイヤまたは前記プレイヤオブジェクトの動作に応じて、特定の効果を発揮させる、プログラム。
続きを表示(約 700 文字)
【請求項2】
撮影中において、前記プレイヤまたは前記プレイヤオブジェクトが、前記特定の位置に対応づけられた特定の動作を行う場合、前記特定の効果を発揮させる、請求項1に記載のプログラム。
【請求項3】
前記特定の位置として、複数の位置が設定されており、
撮影中において、前記プレイヤまたは前記プレイヤオブジェクトが、前記複数の位置のそれぞれにおいて、前記特定の位置に対応づけられた特定の動作を行う場合、前記特定の効果を発揮させる、請求項2に記載のプログラム。
【請求項4】
前記プレイヤが、複数の前記特定の位置を巡回するルートに応じて、前記特定の効果を変化させる、請求項3に記載のプログラム。
【請求項5】
前記プレイヤが、複数の前記特定の位置を巡回した回数に応じて、前記特定の効果を変化させる、請求項3に記載のプログラム。
【請求項6】
前記オブジェクトと共に撮影されたプレイヤまたはプレイヤオブジェクトの数、および撮影中における各プレイヤまたは各プレイヤオブジェクトの動作に応じて、前記特定の効果を変化させる、請求項1に記載のプログラム。
【請求項7】
前記オブジェクトと共に撮影された複数のプレイヤまたは複数のプレイヤオブジェクトの組み合わせに応じて、前記特定の効果を変化させる、請求項1に記載のプログラム。
【請求項8】
前記オブジェクトと、撮影中における前記プレイヤまたは前記プレイヤオブジェクトの動作との対応関係に応じて、前記特定の効果を発揮させる、請求項1に記載のプログラム。
発明の詳細な説明
【技術分野】
【0001】
本開示は、プログラムに関する。
続きを表示(約 1,400 文字)
【背景技術】
【0002】
特許文献1には、端末装置を所有するユーザの行動履歴を取得可能な処理システムであって、第1のユーザの行動履歴を第2のユーザに開示し、第2のユーザが第1のユーザの行動履歴を模倣した場合、第1のユーザおよび第2のユーザの少なくとも一方に特典を付与する処理システムが開示されている。
【先行技術文献】
【特許文献】
【0003】
特開2018-57456号公報
【発明の概要】
【発明が解決しようとする課題】
【0004】
本開示は、興趣性を向上させることを目的とする。
【課題を解決するための手段】
【0005】
本開示に示す一実施形態に係るプログラムは、
コンピュータに、
現実空間の特定の位置に配置されているオブジェクトと、プレイヤ、または前記プレイヤの移動もしくは操作に応じて位置が変化するプレイヤオブジェクトとの撮影画像を取得させ、
撮影中における前記プレイヤまたは前記プレイヤオブジェクトの動作に応じて、特定の効果を発揮させる。
【発明の効果】
【0006】
本開示によれば、興趣性を向上させることができる。
【図面の簡単な説明】
【0007】
図1は、本開示の実施形態に係る情報処理システムの構成を示す図である。
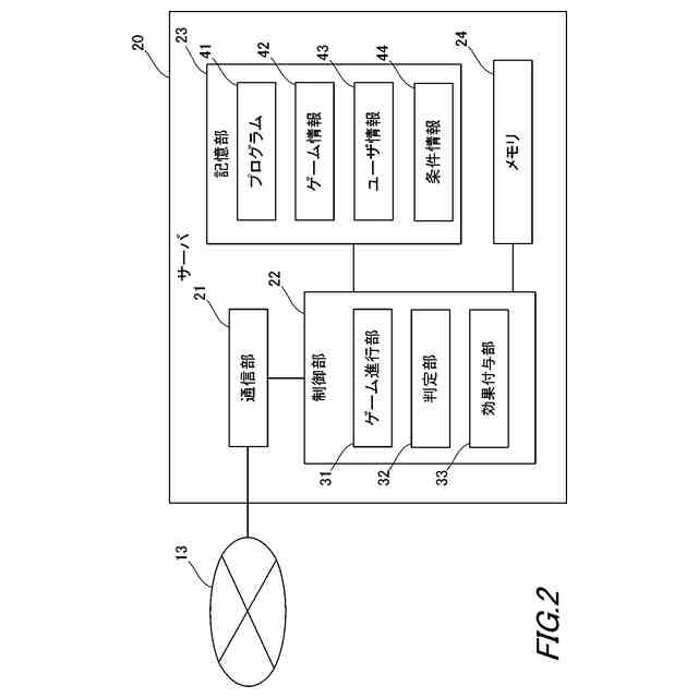
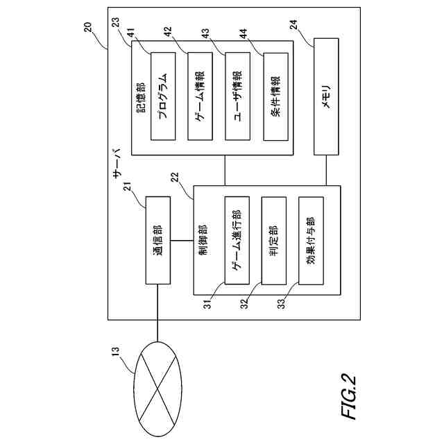
図2は、本開示の実施形態に係るサーバの構成を示すブロック図である。
図3は、本開示の実施形態におけるサーバにより提供されるプレイ画面の一例を示す図である。
図4は、図2に示す判定部による判定処理の流れを説明するためのフローチャートである。
図5は、図2に示す条件情報の一例を説明するための図である。
図6は、図2に示す効果付与部によって発揮される効果の具体例を説明するための図である。
図7は、図2に示す効果付与部によって発揮される効果の具体例を説明するための図である。
図8は、複数のプレイヤが互いに異なる動作を行うことにより、図2に示す効果付与部によって特定の効果が発揮される例を説明するための図である。
【発明を実施するための形態】
【0008】
以下、この技術的思想の実施形態について図面を参照しながら詳細に説明する。以下の説明では、同一の部品等には同一の符号を付してある。それらの名称および機能も同じである。したがって、それらについての詳細な説明は繰り返さない。
【0009】
[情報処理システムの構成]
図1は、本開示の実施形態に係る情報処理システム1の構成を示す図である。図1に示すように、情報処理システム1は、複数のユーザがそれぞれ使用する複数の端末10と、サーバ(コンピュータ)20とを含み、これらの装置がネットワーク13を介して互いに通信可能に接続されている。
【0010】
端末10は、スマートフォン、ファブレットまたはタブレットなどである。端末10は、携帯型の端末であってもよいし、身体に装着させるウェアラブルデバイス、PC(Personal Computer)またはゲーム機等の設置型の端末であってもよい。ユーザによって端末10が操作されると、例えば、サーバ20と当該端末10との間でゲームに関するデータが送受信される。
(【0011】以降は省略されています)
この特許をJ-PlatPat(特許庁公式サイト)で参照する
関連特許
株式会社コロプラ
プログラム
15日前
株式会社コロプラ
プログラム
17日前
株式会社コロプラ
プログラム
8日前
株式会社コロプラ
プログラム及びシステム
17日前
株式会社コロプラ
プログラム及びシステム
17日前
株式会社コロプラ
プログラム及びシステム
14日前
株式会社コロプラ
プログラムおよびシステム
15日前
株式会社コロプラ
プログラムおよびシステム
15日前
株式会社コロプラ
プログラム、およびシステム
16日前
株式会社コロプラ
プログラム、およびシステム
15日前
株式会社コロプラ
プログラム、情報処理システム
15日前
株式会社コロプラ
プログラム及び情報処理システム
17日前
株式会社コロプラ
プログラム及び情報処理システム
15日前
株式会社コロプラ
プログラム、及び情報処理システム
15日前
株式会社コロプラ
プログラム、及び情報処理システム
15日前
株式会社コロプラ
プログラムおよび情報処理システム
15日前
株式会社コロプラ
プログラムおよび情報処理システム
15日前
株式会社コロプラ
プログラムおよび情報処理システム
15日前
株式会社コロプラ
プログラムおよび情報処理システム
15日前
株式会社コロプラ
プログラムおよび情報処理システム
15日前
株式会社コロプラ
プログラムおよび情報処理システム
15日前
株式会社コロプラ
ゲーム用プログラム
8日前
株式会社コロプラ
プログラム、およびシステム
10日前
株式会社コロプラ
プログラム、及び、システム
10日前
株式会社コロプラ
プログラム、情報処理システム
21日前
株式会社コロプラ
プログラム、及び情報処理システム
10日前
株式会社コロプラ
プログラムおよび情報処理システム
10日前
個人
玩具
1か月前
個人
玩具
4か月前
個人
自走玩具
1か月前
個人
ゲーム玩具
5か月前
個人
盤上遊戯具
9か月前
個人
玩具
8か月前
個人
運動補助具
3か月前
個人
打撃練習用具
15日前
株式会社三共
遊技機
1か月前
続きを見る
他の特許を見る