TOP
|
特許
|
意匠
|
商標
特許ウォッチ
Twitter
他の特許を見る
10個以上の画像は省略されています。
公開番号
2025152049
公報種別
公開特許公報(A)
公開日
2025-10-09
出願番号
2024053757
出願日
2024-03-28
発明の名称
プログラム、情報処理システム
出願人
株式会社コロプラ
代理人
個人
主分類
A63F
13/655 20140101AFI20251002BHJP(スポーツ;ゲーム;娯楽)
要約
【課題】興趣性を向上させる。
【解決手段】現実空間の位置に関連付けて、ユーザーによる操作が可能なオブジェクトを仮想空間に配置させ、現実空間を撮影してプレイする場合と、現実空間を撮影せずにプレイする場合とで、オブジェクトの操作可能範囲を変化させる。
【選択図】図15
特許請求の範囲
【請求項1】
コンピューターに、
現実空間の位置に関連付けて、ユーザーによる操作が可能なオブジェクトを仮想空間に配置させ、
現実空間を撮影してプレイする場合と、現実空間を撮影せずにプレイする場合とで、前記オブジェクトの操作可能範囲を変化させる、プログラム。
続きを表示(約 890 文字)
【請求項2】
現実空間を撮影してプレイする場合には、前記仮想空間のうち、現実空間を撮影した画像に含まれる範囲内に配置された前記オブジェクトを操作可能とさせる、請求項1に記載のプログラム。
【請求項3】
現実空間を撮影してプレイする場合には、現実空間において、ユーザーの位置と前記オブジェクトが関連付けられた位置との間に遮蔽物がないことを条件として前記オブジェクトを操作可能とさせる、請求項2に記載のプログラム。
【請求項4】
現実空間を撮影してプレイする場合における前記オブジェクトの操作可能範囲には、現実空間を撮影せずにプレイする場合における前記オブジェクトの操作可能範囲外の位置を含む、請求項1~請求項3のうち何れか一項に記載のプログラム。
【請求項5】
現実空間を撮影してプレイする場合と、現実空間を撮影せずにプレイする場合とで、操作可能な前記オブジェクトの種別を異ならせる、請求項1に記載のプログラム。
【請求項6】
現実空間を撮影せずにプレイする場合には、現実空間を撮影してプレイする場合よりも多くの種別の前記オブジェクトを操作可能とさせる、請求項4に記載のプログラム。
【請求項7】
現実空間を撮影してプレイする場合に操作可能範囲に含まれるオブジェクトが存在する旨をユーザーに通知させる、請求項1に記載のプログラム。
【請求項8】
現実空間におけるユーザーの移動に関する情報を蓄積させ、蓄積された前記移動に関する情報が所定条件を満たした場合に現実空間を撮影してプレイ可能とさせる、請求項1に記載のプログラム。
【請求項9】
所定の対価が支払われた場合に現実空間を撮影してプレイ可能とさせる、請求項1に記載のプログラム。
【請求項10】
現実空間を撮影してプレイした位置から所定範囲内にユーザーが位置している場合には、現実空間を撮影してのプレイを制限する、請求項1に記載のプログラム。
(【請求項11】以降は省略されています)
発明の詳細な説明
【技術分野】
【0001】
本開示は、プログラム、及び情報処理システムに関する。
続きを表示(約 2,400 文字)
【背景技術】
【0002】
従来、現実空間を撮影した画像に仮想的な画像を配置して表示させる機能、いわゆる拡張現実(Augmented Reality)機能を備えた情報処理システムが知られている。例えば、特許文献1には、拡張現実機能を利用して、あたかも現実空間に仮想のキャラクター等が存在するような映像を提供することで、ゲームのリアリティーを高めることが開示されている。
【先行技術文献】
【特許文献】
【0003】
特開2018-200519号公報
【発明の概要】
【発明が解決しようとする課題】
【0004】
興趣性を向上させることを目的としている。
【課題を解決するための手段】
【0005】
本開示の一態様に係るプログラムは、コンピューターに、現実空間の位置に関連付けて、ユーザーによる操作が可能なオブジェクトを仮想空間に配置させ、現実空間を撮影してプレイする場合と、現実空間を撮影せずにプレイする場合とで、前記オブジェクトの操作可能範囲を変化させる。
【発明の効果】
【0006】
本開示によれば、興趣性を向上させることができる。
【図面の簡単な説明】
【0007】
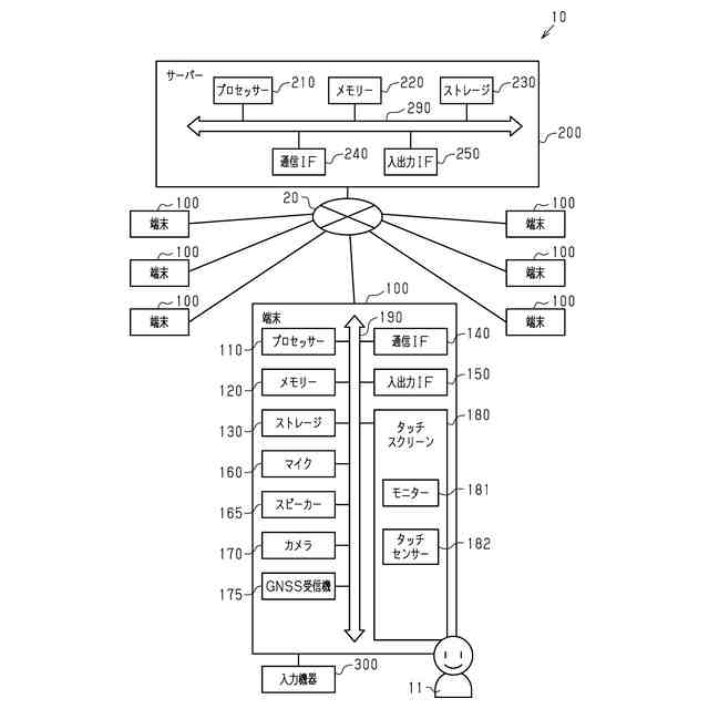
図1は、情報処理システムの概要を示す図である。
図2は、端末のモジュール構成の一例を示す図である。
図3は、サーバーのモジュール構成の一例を示す図である。
図4は、図2の端末における画面遷移の一例を示す図である。
図5は、ゲームを実行する処理の流れの一例を示す図である。
図6は、拡張現実機能を開始させる処理の流れの一例を示す図である。
図7は、拡張現実機能を終了させる処理の流れの一例を示す図である。
図8は、拡張現実機能の使用を許可する処理の流れの一例を示す図である。
図9は、イベントを実行する処理の流れの一例を示す図である。
図10は、拡張現実機能を使用していない場合において端末がイベント位置に到達したかを判定する処理の流れの一例を示す図である。
図11は、拡張現実機能を使用した場合において端末がイベント位置に到達したかを判定する処理の流れの一例を示す図である。
図12は、図2の端末に表示される移動画面の一例を示す図である。
図13は、図2の端末に表示される拡張現実画面の一例を示す図である。
図14は、図2の端末に表示されるイベント画面の一例を示す図である。
図15は、イベントオブジェクトの操作可能範囲の具体的な一例を示す図である。
図16は、拡張現実機能を使用していない場合におけるイベントオブジェクトの操作可能範囲の具体的な一例を示す図である。
図17は、拡張現実機能を使用した場合におけるイベントオブジェクトの操作可能範囲の具体的な一例を示す図である。
図18は、拡張現実機能を使用した場合におけるイベントオブジェクトの操作可能範囲の具体的な一例を示す図である。
図19は、特定通知に関する処理の流れの一例を示す図である。
図20は、特定通知を実行するときの移動画面の一例を示す図である。
図21は、拡張現実機能を使用した場合においてイベントオブジェクトの操作を制限する処理の流れの一例を示す図である。
図22は、イベントオブジェクトの操作を制限するときの拡張現実画面の一例を示す図である。
【発明を実施するための形態】
【0008】
本開示に係る情報処理システムについて図面を参照しつつ説明する。
(第1実施形態)
[システムの概略]
図1に示すように、情報処理システム10は、ネットワーク20と、複数の端末100と、1以上のサーバー200と、を含む。情報処理システム10は、家庭用のシステムとして、又は業務用のシステムとして提供される。各端末100は、ネットワーク20を介してサーバー200と通信できるように構成される。一例として、情報処理システム10は、各端末100のユーザー11に対してゲームを提供するゲームシステムとして構成される。以下の説明において、単に「ゲーム」と示す場合、情報処理システム10が提供するゲームを意味する。各端末100は、ゲーム端末として使用され得る。ゲーム端末としての端末100は、ゲームをプレイする機能(以下、ゲーム機能という)をユーザー11に提供する。各端末100のユーザー11は、ゲームのプレイヤーとなり得る。各端末100は、コンピューター(情報処理装置)の一例である。サーバー200は、コンピューター(情報処理装置)の一例である。
【0009】
[ネットワーク]
一例として、ネットワーク20は、インターネット、及び無線基地局を含む移動通信システムで構成される。一例として、移動通信システムは、3G、4G、5G移動通信システム、LTE(Long Term Evolution)、又はアクセスポイントによってインターネットに接続可能な無線ネットワークとして実現できる。
【0010】
[端末のハードウェア構成]
一例として、各端末100は、スマートフォンである。各端末100は、フィーチャーフォン、PDA(Personal Digital Assistant)、スマートグラス、ARグラス、ウェアラブルデバイス、又はタブレット型コンピューターといった、携帯端末装置であってもよい。各端末100は、パーソナルコンピューター(PC)、又はワークステーションといった、固定端末装置であってもよい。
(【0011】以降は省略されています)
この特許をJ-PlatPat(特許庁公式サイト)で参照する
関連特許
株式会社コロプラ
プログラム
今日
株式会社コロプラ
プログラム
18日前
株式会社コロプラ
プログラム
20日前
株式会社コロプラ
プログラム
11日前
株式会社コロプラ
プログラム及びシステム
20日前
株式会社コロプラ
プログラム及びシステム
17日前
株式会社コロプラ
プログラム及びシステム
20日前
株式会社コロプラ
プログラムおよびシステム
18日前
株式会社コロプラ
プログラムおよびシステム
18日前
株式会社コロプラ
プログラム、およびシステム
18日前
株式会社コロプラ
プログラム、およびシステム
19日前
株式会社コロプラ
プログラム、情報処理システム
18日前
株式会社コロプラ
プログラム及び情報処理システム
20日前
株式会社コロプラ
プログラム及び情報処理システム
18日前
株式会社コロプラ
プログラムおよび情報処理システム
18日前
株式会社コロプラ
プログラム、及び情報処理システム
18日前
株式会社コロプラ
プログラム、及び情報処理システム
18日前
株式会社コロプラ
プログラムおよび情報処理システム
18日前
株式会社コロプラ
プログラムおよび情報処理システム
18日前
株式会社コロプラ
プログラムおよび情報処理システム
18日前
株式会社コロプラ
プログラムおよび情報処理システム
18日前
株式会社コロプラ
プログラムおよび情報処理システム
18日前
株式会社コロプラ
ゲーム用プログラム
11日前
株式会社コロプラ
プログラム、およびシステム
13日前
株式会社コロプラ
プログラム、及び、システム
13日前
株式会社コロプラ
プログラムおよび情報処理システム
13日前
株式会社コロプラ
プログラム、及び情報処理システム
13日前
個人
玩具
1か月前
個人
玩具
4か月前
個人
自走玩具
1か月前
個人
ゲーム玩具
5か月前
個人
運動補助具
3か月前
個人
パズル
今日
個人
打撃練習用具
18日前
株式会社三共
遊技機
6か月前
株式会社三共
遊技機
7か月前
続きを見る
他の特許を見る