TOP
|
特許
|
意匠
|
商標
特許ウォッチ
Twitter
他の特許を見る
公開番号
2025152425
公報種別
公開特許公報(A)
公開日
2025-10-09
出願番号
2024054318
出願日
2024-03-28
発明の名称
分子除去方法および分子除去装置
出願人
株式会社日立ハイテク
代理人
弁理士法人筒井国際特許事務所
主分類
B01D
3/12 20060101AFI20251002BHJP(物理的または化学的方法または装置一般)
要約
【課題】分子蒸留法のみでは除去が困難な分子成分の除去を可能とする分子除去方法および分子除去装置を提供する。
【解決手段】基油から分子成分を除去する分子除去方法であって、(a)チャンバ内に前記基油と前記基油内に配置された攪拌子とが入った容器を配置した状態で、前記チャンバ内を真空排気する工程、(b)前記真空排気により、前記チャンバ内の圧力が1mPa未満となった状態で、前記攪拌子を回転させて前記基油を攪拌する工程、を有する分子除去方法を用いる。
【選択図】図1
特許請求の範囲
【請求項1】
基油から分子成分を除去する分子除去方法であって、
(a)チャンバ内に前記基油と前記基油内に配置された攪拌子とが入った容器を配置した状態で、前記チャンバ内を排気する工程、
(b)前記排気により、前記チャンバ内の圧力が1mPa未満となった状態で、前記攪拌子を回転させて前記基油を攪拌する工程、
を有する、分子除去方法。
続きを表示(約 980 文字)
【請求項2】
請求項1に記載の分子除去方法において、
前記攪拌子は、磁石を内蔵し、
前記攪拌子は、前記容器の外部に配置された回転ユニットが磁場を回転させることによって回転し、
前記攪拌子は、前記回転ユニットと非接触で回転する、分子除去方法。
【請求項3】
請求項2に記載の分子除去方法において、
前記攪拌子および前記回転ユニットは、マグネチックスターラを構成している、分子除去方法。
【請求項4】
請求項1に記載の分子除去方法において、
前記(b)工程では、前記攪拌子の回転により前記基油の表面に渦を発生させる、分子除去方法。
【請求項5】
請求項4に記載の分子除去方法において、
前記(b)工程では、前記渦の下の前記攪拌子は、前記基油に覆われている、分子除去方法。
【請求項6】
基油を攪拌し、前記基油内の分子成分を除去する分子除去装置であって、
チャンバと、
前記チャンバ内の雰囲気を100μPa未満の圧力に排気可能な真空ポンプと、
前記チャンバ内に配置可能な容器と、
前記容器内に入れられ、磁石を含む攪拌子と、
磁場を回転させることによって前記攪拌子を回転可能に構成された回転ユニットと、
を備え、
前記攪拌子の回転により、前記容器内に入れられた前記基油を攪拌する、分子除去装置。
【請求項7】
請求項6に記載の分子除去装置において、
前記回転ユニットを制御するコンピュータシステムをさらに有し、
前記コンピュータシステムは、前記チャンバ内の圧力が1mPa未満の状態で、前記回転ユニットに磁場を回転させ、これにより前記攪拌子を回転させる、分子除去装置。
【請求項8】
請求項6に記載の分子除去装置において、
前記基油内で前記攪拌子を回転させることで、前記基油の表面に渦を発生させる、分子除去装置。
【請求項9】
請求項6に記載の分子除去装置において、
前記チャンバ内に配置されたヒータをさらに有し、
前記ヒータを加熱させることで、前記チャンバの内壁に付着した分子成分を放出させる、分子除去装置。
発明の詳細な説明
【技術分野】
【0001】
本開示は、基油から低分子成分を除去して潤滑剤を精製する際に用いる分子除去方法および分子除去装置に関する。
続きを表示(約 1,300 文字)
【背景技術】
【0002】
電子顕微鏡等、真空チャンバを備えた装置に搭載されている試料ステージ等の摺動部の潤滑剤として、フッ素系潤滑油が使用されている。フッ素系潤滑油は気化する温度範囲が広く、フッ素などの分子(ガス)が周辺環境へ放出され易い。この放出される分子(ガス)を減少させる方法として、特許文献1(特開2017-25324号公報)に、分子蒸留法によってポリマー組成物から低沸点成分および高沸点成分を除去する手法が開示されている。
【先行技術文献】
【特許文献】
【0003】
特開2017-25324号公報
【発明の概要】
【発明が解決しようとする課題】
【0004】
特許文献1に開示されているような分子蒸留法によって分子成分を除去する手法は、真空環境下で蒸発面と凝縮面との間隔を近接させた状態で蒸留を行うものであるが、基油に含まれる低分子成分の量が多いと十分に分子成分を除去できない場合がある。フッ素系の化合物等の低分子成分が十分に除去されていないと、例えば電子顕微鏡の真空チャンバ内で当該低分子成分がガス化し、観察対象である半導体ウェハ、または真空チャンバの内壁に付着し、二次的なガスの発生源となり得る。
【0005】
本開示に記載の技術は、分子蒸留法のみでは除去が困難な分子成分の除去を可能とする分子除去方法および分子除去装置の提供を目的とする。
【課題を解決するための手段】
【0006】
本願において開示される実施の形態のうち、代表的なものの概要を簡単に説明すれば、次のとおりである。
【0007】
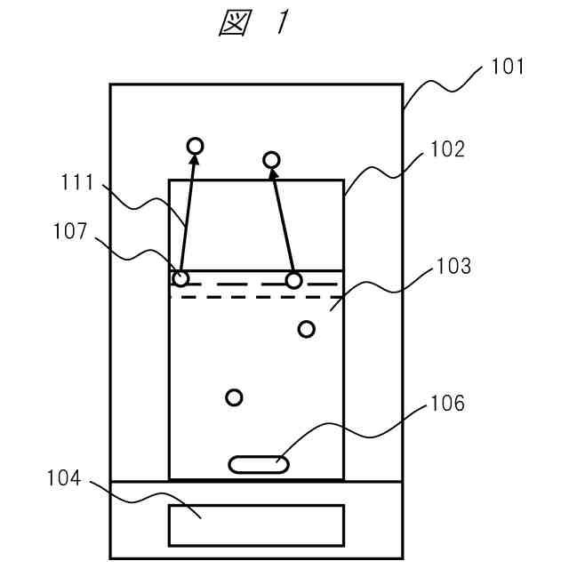
一実施の形態である分子除去方法は、基油から分子成分を除去する分子除去方法であって、(a)チャンバ内に前記基油と前記基油内に配置された攪拌子とが入った容器を配置した状態で、前記チャンバ内を排気する工程、(b)前記排気により、前記チャンバ内の圧力が1mPa未満となった状態で、前記攪拌子を回転させて前記基油を攪拌する工程、を有するものである。
【0008】
一実施の形態である分子除去装置は、基油を攪拌し、前記基油内の分子成分を除去する分子除去装置であって、チャンバと、前記チャンバ内の雰囲気を100μPa未満の圧力に排気可能な真空ポンプと、前記チャンバ内に配置可能な容器と、前記容器内に入れられ、磁石を含む攪拌子と、磁場を回転させることによって前記攪拌子を回転可能に構成された回転ユニットと、を備え、前記攪拌子の回転により、前記容器内に入れられた前記基油を攪拌するものである。
【発明の効果】
【0009】
本願において開示される発明のうち、代表的なものによって得られる効果を簡単に説明すれば以下のとおりである。
【0010】
本開示によれば、分子蒸留法のみでは除去が困難な分子成分の除去を可能とする分子除去方法および分子除去装置を提供する。
【図面の簡単な説明】
(【0011】以降は省略されています)
この特許をJ-PlatPat(特許庁公式サイト)で参照する
関連特許
株式会社日立ハイテク
分子除去方法および分子除去装置
6日前
株式会社日立ハイテク
画像処理装置、画像処理システムおよび方法
5日前
株式会社日立ハイテク
半導体パターン評価方法、半導体製造プロセス管理システム、半導体パターン評価システム
今日
株式会社日立ハイテク
画像処理装置、画像収録装置、画像再生装置、画像処理方法、画像収録方法および画像再生方法
6日前
ユニチカ株式会社
複合中空糸膜
13日前
東レ株式会社
中空糸膜モジュール
12日前
株式会社ニクニ
液体処理装置
26日前
日本化薬株式会社
メタノール改質触媒
27日前
株式会社MRT
微細バブル発生装置
16日前
東京理化器械株式会社
クリップ
20日前
株式会社笹山工業所
濁水処理システム
16日前
個人
攪拌装置
16日前
ノリタケ株式会社
ガス吸収シート
27日前
大和ハウス工業株式会社
反応装置
6日前
ヤマシンフィルタ株式会社
フィルタ装置
14日前
大陽日酸株式会社
CO2の回収方法
8日前
本田技研工業株式会社
ガス回収装置
8日前
杉山重工株式会社
回転円筒型反応装置
16日前
本田技研工業株式会社
二酸化炭素回収装置
6日前
本田技研工業株式会社
二酸化炭素回収装置
8日前
ノリタケ株式会社
触媒材料およびその利用
6日前
ノリタケ株式会社
触媒材料およびその利用
6日前
本田技研工業株式会社
二酸化炭素回収装置
6日前
本田技研工業株式会社
二酸化炭素回収装置
6日前
ノリタケ株式会社
触媒材料およびその利用
6日前
本田技研工業株式会社
二酸化炭素回収装置
12日前
本田技研工業株式会社
二酸化炭素回収装置
1日前
本田技研工業株式会社
二酸化炭素回収装置
14日前
本田技研工業株式会社
二酸化炭素回収装置
14日前
本田技研工業株式会社
二酸化炭素回収装置
14日前
本田技研工業株式会社
分離システム
16日前
株式会社インパクト
消臭剤又は消臭紙の製造方法
19日前
本田技研工業株式会社
二酸化炭素回収装置
6日前
Planet Savers株式会社
気体濃縮装置
8日前
日東電工株式会社
吸着材
12日前
東京応化工業株式会社
ろ過処理方法、及び多孔質膜
6日前
続きを見る
他の特許を見る