TOP
|
特許
|
意匠
|
商標
特許ウォッチ
Twitter
他の特許を見る
10個以上の画像は省略されています。
公開番号
2025154231
公報種別
公開特許公報(A)
公開日
2025-10-10
出願番号
2024057115
出願日
2024-03-29
発明の名称
コンテナ
出願人
極東開発工業株式会社
代理人
弁理士法人ユニアス国際特許事務所
主分類
B65D
90/62 20060101AFI20251002BHJP(運搬;包装;貯蔵;薄板状または線条材料の取扱い)
要約
【課題】 収容物が側壁部と底壁部との隙間に落ちることを抑制することができるコンテナを提供する。
【解決手段】 コンテナは、筒状に形成される側壁部と、前記側壁部の下端開口を閉じる閉位置と前記下端開口を開く開位置との間で移動可能な底壁部と、前記底壁部が前記閉位置と前記開位置との間で第1横方向を軸にして回転可能となるように、前記側壁部と、前記底壁部のうち、前記第1横方向と直交する第2横方向の基端部と、を接続する接続部と、を備え、前記底壁部の前記第2横方向の基端は、前記底壁部が前記閉位置及び前記開位置に位置するときに、前記側壁部の前記下端開口よりも前記第2横方向の外方に配置される。
【選択図】 図5
特許請求の範囲
【請求項1】
筒状に形成される側壁部と、
前記側壁部の下端開口を閉じる閉位置と前記下端開口を開く開位置との間で移動可能な底壁部と、
前記底壁部が前記閉位置と前記開位置との間で第1横方向を軸にして回転可能となるように、前記側壁部と、前記底壁部のうち、前記第1横方向と直交する第2横方向の基端部と、を接続する接続部と、を備え、
前記底壁部の前記第2横方向の基端は、前記底壁部が前記閉位置及び前記開位置に位置するときに、前記側壁部の前記下端開口よりも前記第2横方向の外方に配置される、コンテナ。
続きを表示(約 570 文字)
【請求項2】
前記接続部は、
前記第1横方向へ延びる軸部と、
前記側壁部に固定される側壁固定部と、
前記底壁部の前記基端部に固定され、前記軸部によって前記側壁固定部と回転可能に接続される底壁固定部と、を備え、
前記軸部は、前記側壁部よりも、前記第2横方向の外方に配置される、
請求項1に記載のコンテナ。
【請求項3】
前記軸部は、前記底壁部よりも、上方に配置される、請求項2に記載のコンテナ。
【請求項4】
前記底壁部は、
前記側壁部の前記下端開口を覆い、前記第2横方向の基端部で前記接続部に接続される底本体部と、
接地するために前記底本体部よりも下方に配置され、前記底本体部に接続される第1ローラを備える、請求項2又は3に記載のコンテナ。
【請求項5】
前記底壁部は、前記底本体部に接続される第2ローラを備え、
前記第2ローラは、前記第1横方向視にて、前記底本体部の前記第2横方向の先端部よりも、前記軸部から離れて配置される、請求項4に記載のコンテナ。
【請求項6】
前記底壁部の全体は、前記第1横方向視にて、前記第1ローラ及び前記第2ローラに接する仮想線よりも、上方に配置される、請求項5に記載のコンテナ。
発明の詳細な説明
【技術分野】
【0001】
本明細書は、コンテナに関する。
続きを表示(約 2,000 文字)
【背景技術】
【0002】
従来、例えば、コンテナは、筒状に形成される側壁部と、側壁部の下端開口を閉じる閉位置と下端開口を開く開位置との間で移動可能な底壁部と、底壁部が側壁部に対して横方向を軸にして回転可能となるように、底壁部と側壁部とを接続する接続部とを備えている(例えば、特許文献1)。接続部は、横方向へ延びる軸部を備えている。
【0003】
ところで、特許文献1に係るコンテナにおいては、接続部の軸部が、上下方向視において、側壁部の内部に配置されているため、側壁部と底壁部との隙間は、上下方向視において、側壁部の下端開口の内部に位置する。これにより、コンテナの内部に収容されていた収容物が、側壁部の下端開口から排出されるときに、収容物が、側壁部と底壁部との隙間(例えば、接続部)に落ちるため、収容物は、側壁部と底壁部との隙間で、溜まったり詰まったりする。
【先行技術文献】
【特許文献】
【0004】
特開2009-67575号公報
【発明の概要】
【発明が解決しようとする課題】
【0005】
そこで、課題は、収容物が側壁部と底壁部との隙間に落ちることを抑制することができるコンテナを提供することである。
【課題を解決するための手段】
【0006】
コンテナは、
筒状に形成される側壁部と、
前記側壁部の下端開口を閉じる閉位置と前記下端開口を開く開位置との間で移動可能な底壁部と、
前記底壁部が前記閉位置と前記開位置との間で第1横方向を軸にして回転可能となるように、前記側壁部と、前記底壁部のうち、前記第1横方向と直交する第2横方向の基端部と、を接続する接続部と、を備え、
前記底壁部の前記第2横方向の基端は、前記底壁部が前記閉位置及び前記開位置に位置するときに、前記側壁部の前記下端開口よりも前記第2横方向の外方に配置される。
【図面の簡単な説明】
【0007】
一実施形態に係るコンテナを有する乾燥装置の側面図
同実施形態に係る乾燥装置の要部斜視図
同実施形態に係る乾燥装置の要部分解斜視図
同実施形態に係るコンテナの側面図
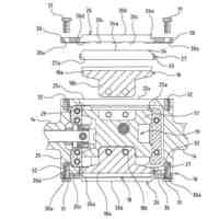
図4のV領域拡大図
図4のVI領域拡大図
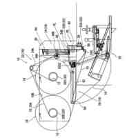
同実施形態に係るコンテナの側面図であって、底壁部が第1ローラを接地する開位置に位置している状態を示す図
同実施形態に係るコンテナの側面図であって、底壁部が第1ローラ及び第2ローラを接地する開位置に位置している状態を示す図
同実施形態に係るコンテナの側面図であって、底壁部が自重で釣り合う開位置に位置する状態を示す図
他の実施形態に係る乾燥装置の側面図
さらに他の実施形態に係る乾燥装置の側面図
さらに他の実施形態に係るコンテナの側面図(a:底壁部が閉位置に位置する状態を示す図、b:底壁部が開位置に位置する状態を示す図)
さらに他の実施形態に係るコンテナの側面図であって、底壁部が自重で釣り合う開位置に位置する状態を示す図
さらに他の実施形態に係るコンテナの要部図(a:底壁部が閉位置に位置する状態を示す正面図、b:底壁部が開位置に位置する状態を示す側面図)
さらに他の実施形態に係るコンテナの要部側面図(a:底壁部が閉位置に位置する状態を示す図、b:底壁部が開位置に位置する状態を示す図)
さらに他の実施形態に係るコンテナの側面図であって、底壁部が閉位置から最も離れた開位置に位置する状態を示す図
さらに他の実施形態に係るコンテナの図(a:側面図、b:平面図)
【発明を実施するための形態】
【0008】
各図面において、構成要素の寸法は、例えば、理解を容易にするために、実際の寸法に対して拡大、縮小して示す場合があり、また、各図面の間での寸法比は、一致していない場合がある。なお、各図面において、例えば、理解を容易にするために、構成要素の一部を省略して示す場合がある。
【0009】
第1、第2等の序数を含む用語は、多様な構成要素を説明するために用いられるが、この用語は、一つの構成要素を他の構成要素から区別する目的でのみ用いられ、構成要素は、この用語によって特に限定されるものではない。なお、序数を含む構成要素の個数は、特に限定されず、例えば、一つでもよい場合がある。また、以下の明細書及び図面で用いられる序数は、特許請求の範囲に記載された序数と異なる場合がある。
【0010】
以下、コンテナにおける一実施形態について、図1~図9を参照しながら説明する。なお、以下の実施形態は、コンテナの構成等の理解を助けるために例示するものであり、コンテナの構成を限定するものではない。
(【0011】以降は省略されています)
この特許をJ-PlatPat(特許庁公式サイト)で参照する
関連特許
株式会社バンダイ
物品
7日前
株式会社トーモク
包装箱
12日前
新輝合成株式会社
くず入れ
6日前
伊東電機株式会社
搬送装置
5日前
株式会社エフピコ
包装用容器
12日前
レンゴー株式会社
包装箱
12日前
東レエンジニアリング株式会社
搬送装置
7日前
NTN株式会社
荷積込装置
7日前
株式会社豊田自動織機
段積みケース構造
12日前
東レエンジニアリング株式会社
搬送装置
6日前
三甲株式会社
物品支持部材
5日前
東レ株式会社
糸送り装置および糸送り方法
8日前
株式会社吉野工業所
ポンプ式吐出器
6日前
株式会社吉野工業所
ポンプ式吐出器
5日前
THK株式会社
搬送システム
8日前
株式会社吉野工業所
ポンプ式吐出器
6日前
ブラザー工業株式会社
ホルダ
5日前
株式会社フジキカイ
シール装置
8日前
株式会社吉野工業所
中蓋付きキャップ
12日前
株式会社吉野工業所
キャップ付き容器
7日前
個人
餃子用トレーおよびトレー入り冷凍餃子
12日前
株式会社吉野工業所
ポンプ式吐出容器
5日前
株式会社ダイフク
作業設備
今日
株式会社川島製作所
横型正ピロー包装機
8日前
株式会社吉野工業所
キャップ付き吐出栓
5日前
トヨタ自動車株式会社
ロール体支持装置
8日前
株式会社吉野工業所
吐出容器
5日前
西部電機株式会社
段積み装置
12日前
レンゴー株式会社
包装箱、シート材
8日前
ノリタケ株式会社
ローラ式搬送装置
8日前
ノリタケ株式会社
ローラ式搬送装置
8日前
株式会社吉野工業所
合成樹脂製壜体
5日前
ロジスティード株式会社
フラップ固定用治具
5日前
株式会社関電工
ケーブルドラム逸走防止治具
8日前
個人
蓋体、蓋体付き容器、蓋体と容器の組み合わせ
1日前
武内プレス工業株式会社
チューブ容器
6日前
続きを見る
他の特許を見る