TOP
|
特許
|
意匠
|
商標
特許ウォッチ
Twitter
他の特許を見る
10個以上の画像は省略されています。
公開番号
2025147430
公報種別
公開特許公報(A)
公開日
2025-10-07
出願番号
2024047678
出願日
2024-03-25
発明の名称
シール装置
出願人
株式会社フジキカイ
代理人
個人
,
個人
主分類
B65B
51/30 20060101AFI20250930BHJP(運搬;包装;貯蔵;薄板状または線条材料の取扱い)
要約
【課題】作業者の熟練度などに関係なく、シール部材を適正な位置に精度よく短時間で取り付けることができるシール装置を提供する。
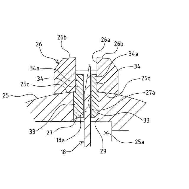
【解決手段】ホーンと協働して筒状フィルムにエンドシールを施すアンビル16の本体25に、筒状フィルムを切断する切断刃18が移動自在に配設される。本体25に、切断刃18が移動する貫通孔29が形成される。貫通孔29に連通する挿通孔27aを形成した治具27の第1嵌合部33を貫通孔29に嵌合することで、本体25に対して治具27が位置決めされる。治具27の第2嵌合部34に、シール部材26の長孔26aを嵌合することで、シール部材26が本体25に取り付けられる。治具27を介して本体25に取り付けたシール部材26は、移動する切断刃18が長孔26aの内面に接触しない位置に位置決めされる。
【選択図】図3
特許請求の範囲
【請求項1】
筒状包装材の搬送路を挟んで対向するシール体のシール面で筒状包装材を挟持して包装材搬送方向と交差する方向にシールを施すシール装置において、
一方のシール体の本体に着脱自在に配設され、前記シール面が包装材搬送方向に離間して複数形成されると共に、該シール面の間で開口する通孔が前記本体に形成された貫通孔に連通するよう形成されたシール部材と、
前記本体に配設され、駆動手段によって他方のシール体に対して進退移動し、前記シール部材の前記通孔から突出して前記筒状包装材を切断する切断刃と、
前記本体の貫通孔に嵌合する第1嵌合部および前記シール部材の通孔に嵌合する第2嵌合部を有し、前記第1嵌合部を前記貫通孔に嵌合した状態で前記切断刃の進退移動を許容する治具と、を備え、
該治具は、前記第1嵌合部および第2嵌合部を前記貫通孔および通孔に嵌合した状態で、前記本体に対して前記シール部材を、進退移動する前記切断刃が前記通孔の内面に接触しない位置に位置決めするよう構成した
ことを特徴とするシール装置。
続きを表示(約 660 文字)
【請求項2】
前記治具には、前記第1嵌合部および第2嵌合部と交差する方向に突出する被挟持部が設けられ、該被挟持部が前記本体とシール部材とで挟持されると共に、
前記本体および/またはシール部材に、前記被挟持部を収容する凹部を形成したことを特徴とする請求項1記載のシール装置。
【請求項3】
前記治具には、前記貫通孔における前記切断刃の厚み方向の寸法より狭い挿通孔が形成され、
前記切断刃は、前記治具の挿通孔内を進退移動するよう構成したことを特徴とする請求項1記載のシール装置。
【請求項4】
前記搬送路を挟んで対向するシール体が相互に反対方向に回転するよう構成され、
前記一方のシール体の本体に、前記シール部材が回転方向に離間して複数配設されると共に、各シール部材に対応して切断刃が配設され、
前記他方のシール体に、各シール部材に対応してシール面を回転方向に離間して形成したことを特徴とする請求項1記載のシール装置。
【請求項5】
前記切断刃を備える一方のシール体をアンビルとすると共に、他方のシール体を振動発生手段により超音波振動するホーンとして構成し、アンビルとホーンとで挟持した前記筒状包装材に超音波振動によるシールを施すようにしたことを特徴とする請求項1記載のシール装置。
【請求項6】
前記治具を、耐熱性および耐摩耗性を有する合成樹脂から形成したことを特徴とする請求項1~5の何れか一項に記載のシール装置。
発明の詳細な説明
【技術分野】
【0001】
本発明は、シール体によって筒状包装材を挟持してシールすると共に、筒状包装材を切断するシール装置に関するものである。
続きを表示(約 3,200 文字)
【背景技術】
【0002】
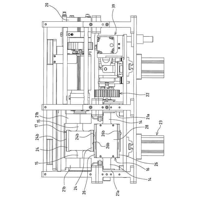
横形製袋充填機などの包装機では、原反ロールから引き出されて製袋手段で案内される帯状フィルム(包装材)の幅方向の両端縁部を重合して筒状に成形し、その重合部にフィルムの搬送方向に向けたセンターシールを施し、筒状フィルム中へ供給された各物品の前後位置において、搬送方向と交差するエンドシールを施すと共に切断することでピロー包装品が製造される。包装機において、筒状フィルムをエンドシール・切断するシール装置として、特許文献1に開示のシール装置が存在する。シール装置は、筒状フィルムの搬送路を挟んで相互に反対方向に回転する一対のシール体を備え、各シール体の回転軸の夫々に、ヒータなどの加熱源を埋設したシール部材が配設されると共に、一方のシール体の内部に、径方向に往復移動して筒状フィルムを切断する切断刃が配設されている。また、他方のシール体のシール部材には、切断刃の先端を非接触で受け入れ可能な凹溝が形成されている。そして、シール装置では、対をなすシール部材のシール面同士で筒状フィルムを挟持することでフィルムを加熱シールすると共に、一方のシール体に内装した前記切断刃の先端を、対向する凹溝に進入するまで対応するシール面から突出することで、シール面同士で挟持している筒状フィルムを切断するよう構成される。
【先行技術文献】
【特許文献】
【0003】
特公昭55-29862号公報
【発明の概要】
【発明が解決しようとする課題】
【0004】
前記シール装置では、前記シール部材における筒状フィルムを挟持するシール面が経時的に摩耗して筒状フィルムを良好にシールすることができなくなるため、シール部材の定期的な交換が必要となる。また、シール装置では、一対のシール部材のシール面で筒状フィルムを挟持するタイミングで、前記切断刃の先端をシール面から突出するよう構成されているため、一方のシール体に配設された切断刃に対し、シール部材における切断刃が通る通孔が位置ずれしていると、切断刃がシール部材に接触して切断刃やシール部材が損傷したり、筒状フィルムの切断不良を生じたりするおそれがある。すなわち、シール装置では、シール体に配設した切断刃と、シール部材の通孔とを正確に位置合わせした上で、シール部材を固定する必要がある。しかし、シール部材の取り付け精度や取り付け時間は、作業者の熟練度などによってバラツキを生じるため、作業者の熟練度などに関係なく一定の取り付け精度でシール部材を短時間で取り付けることができるシール装置が求められている。
【0005】
本発明は、作業者の熟練度などに関係なく、シール部材を適正な位置に精度よく短時間で取り付けることができるシール装置を提供することを目的とする。
【課題を解決するための手段】
【0006】
前記課題を解決し、所期の目的を達成するため、第1の手段は、
筒状包装材(10)の搬送路を挟んで対向するシール体(16,17)のシール面(26b,24b)で筒状包装材(10)を挟持して包装材搬送方向と交差する方向にシールを施すシール装置において、
一方のシール体(16)の本体(25)に着脱自在に配設され、前記シール面(26b,26b)が包装材搬送方向に離間して複数形成されると共に、該シール面(26b,26b)の間で開口する通孔(26a)が前記本体(25)に形成された貫通孔(29)に連通するよう形成されたシール部材(26)と、
前記本体(25)に配設され、駆動手段(39)によって他方のシール体(17)に対して進退移動し、前記シール部材(26)の前記通孔(26a)から突出して前記筒状包装材(10)を切断する切断刃(18)と、
前記本体(25)の貫通孔(29)に嵌合する第1嵌合部(33)および前記シール部材(26)の通孔(26a)に嵌合する第2嵌合部(34)を有し、前記第1嵌合部(33)を前記貫通孔(29)に嵌合した状態で前記切断刃(18)の進退移動を許容する治具(27)と、を備え、
該治具(27)は、前記第1嵌合部(33)および第2嵌合部(34)を前記貫通孔(29)および通孔(26a)に嵌合した状態で、前記本体(25)に対して前記シール部材(26)を、進退移動する前記切断刃(18)が前記通孔(26a)の内面に接触しない位置に位置決めするよう構成したことを特徴とする。
この構成によれば、本体に対してシール部材を、治具によって適正な位置に位置決めし得るようにしたので、装置の作動時に切断刃とシール部材とが接触して損傷するのを防ぐことができる。また、治具の第1嵌合部および第2嵌合部を対応する貫通孔および通孔に嵌合するだけで、本体に対してシール部材の位置が機械的に決まるので、作業者の熟練度などに関係なくシール部材を適正な位置に精度よく短時間で取り付けることができる。
【0007】
第2の手段は、前記治具(27)には、前記第1嵌合部(33)および第2嵌合部(34)と交差する方向に突出する被挟持部(35)が設けられ、該被挟持部(35)が前記本体(25)とシール部材(26)とで挟持されると共に、
前記本体(25)および/またはシール部材(26)に、前記被挟持部(35)を収容する凹部(26c)を形成したことを特徴とする。
この構成によれば、本体とシール部材とで挟持される治具の被挟持部を、本体および/またはシール部材の凹部に収容するようにしたので、治具によってシール部材におけるシール面の位置が変化することはなく、他方のシール体のシール面との位置関係を適正に保つことができる。
【0008】
第3の手段は、前記治具(27)には、前記貫通孔(29)における前記切断刃(18)の厚み方向の寸法より狭い挿通孔(27a)が形成され、
前記切断刃(18)は、前記治具(27)の挿通孔(27a)内を進退移動するよう構成したことを特徴とする。
この構成によれば、本体の貫通孔より治具の挿通孔は狭いので、該挿通孔の内面と切断刃との間の隙間は小さく、シール・切断時に発生する包材カスなどがシール体内部に侵入するのを抑制することができる。
【0009】
第4の手段は、前記搬送路を挟んで対向するシール体(16,17)が相互に反対方向に回転するよう構成され、
前記一方のシール体(16)の本体(25)に、前記シール部材(26)が回転方向に離間して複数配設されると共に、各シール部材(26)に対応して切断刃(18)が配設され、
前記他方のシール体(17)に、各シール部材(26)に対応してシール面(24b,24b)を回転方向に離間して形成したことを特徴とする。
この構成によれば、包装速度の高速化に対応することができ、包装能力を向上し得る。
【0010】
第5の手段は、前記切断刃(18)を備える一方のシール体(16)をアンビル(16)とすると共に、他方のシール体(17)を振動発生手段(20)により超音波振動するホーン(17)として構成し、アンビル(16)とホーン(17)とで挟持した前記筒状包装材(10)に超音波振動によるシールを施すようにしたことを特徴とする。
この構成によれば、超音波振動によって筒状包装材をシールするようにしたので、アンビルに配設されるシール部材は高温とならず、シール部材が冷えるのを待つことなくメンテナンスをより短時間で行うことができる。
(【0011】以降は省略されています)
この特許をJ-PlatPat(特許庁公式サイト)で参照する
関連特許
株式会社フジキカイ
シール装置
12日前
個人
ゴミ箱
12か月前
個人
収容箱
3か月前
個人
コンベア
4か月前
個人
段ボール箱
6か月前
個人
容器
9か月前
個人
ゴミ収集器
6か月前
個人
段ボール箱
6か月前
個人
パウチ補助具
12か月前
個人
宅配システム
6か月前
個人
楽ちんハンド
4か月前
個人
角筒状構造体
5か月前
個人
バンド
1か月前
個人
土嚢運搬器具
8か月前
個人
閉塞装置
9か月前
個人
包装容器
1か月前
個人
廃棄物収容容器
2か月前
個人
コード類収納具
8か月前
個人
お薬の締結装置
5か月前
個人
積み重ね用補助具
2か月前
個人
ゴミ処理機
8か月前
株式会社和気
包装用箱
8か月前
個人
蓋閉止構造
3か月前
株式会社バンダイ
物品
11日前
個人
把手付米袋
4か月前
株式会社コロナ
梱包材
5か月前
個人
蓋閉止構造
3か月前
個人
貯蔵サイロ
6か月前
株式会社新弘
容器
2か月前
個人
コード折り畳み器具
4か月前
個人
袋入り即席麺
7か月前
個人
輸送積荷用動吸振器
5か月前
三甲株式会社
容器
5か月前
三甲株式会社
蓋体
7か月前
個人
介護用コップ
2か月前
三甲株式会社
蓋体
9か月前
続きを見る
他の特許を見る