TOP
|
特許
|
意匠
|
商標
特許ウォッチ
Twitter
他の特許を見る
公開番号
2025145965
公報種別
公開特許公報(A)
公開日
2025-10-03
出願番号
2024046502
出願日
2024-03-22
発明の名称
段積みケース構造
出願人
株式会社豊田自動織機
代理人
主分類
B65D
21/032 20060101AFI20250926BHJP(運搬;包装;貯蔵;薄板状または線条材料の取扱い)
要約
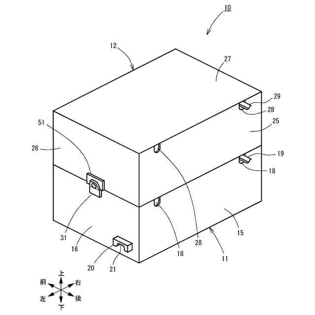
【課題】上下に段積みされたケース同士の位置ずれを規制できるとともに、各ケースにおける有効空間の低減を可及的に防止することが可能な段積みケース構造の提供にある。
【解決手段】箱状の下段ケースと、下段ケースに段積み可能な箱状の上段ケースと、下段ケースに対する上段ケースの水平移動を規制する移動規制体と、下段ケースに設けられる係止体と、を有する段積みケース構造10であって、係止体は、下段ケースの側面16の上部に固定される固定部と、側面16から離間するように、固定部から外側へ向けて延在する係止部と、を有し、移動規制体は、上段ケースの側面26の下部に固定され、側面26の下部から上部へ向けて窪む凹部を有し、係止部が、凹部に挿入される。
【選択図】 図1
特許請求の範囲
【請求項1】
箱状の下段ケースと、
前記下段ケースに段積み可能な箱状の上段ケースと、
前記下段ケースに対する前記上段ケースの水平移動を規制する移動規制体と、
前記下段ケースに設けられる係止体と、を有する段積みケース構造であって、
前記係止体は、
前記下段ケースの側面の上部に固定される固定部と、
前記下段ケースの前記側面から離間するように、前記固定部から外側へ向けて延在する係止部と、を有し、
前記移動規制体は、
前記上段ケースの側面の下部に固定され、前記上段ケースの前記側面の下部から上部へ向けて窪む凹部を有し、
前記係止部が、前記凹部に挿入可能であることを特徴とする段積みケース構造。
続きを表示(約 410 文字)
【請求項2】
前記係止体は、前記固定部と前記係止部とが一体形成された板部材であることを特徴とする請求項1記載の段積みケース構造。
【請求項3】
前記係止部は、前記下段ケースを吊持するワイヤ又はフックを前記係止部に係止可能とする貫通孔を備えることを特徴とする請求項1又は2記載の段積みケース構造。
【請求項4】
前記係止部は、前記固定部から先端へ向かうにつれて前記係止部の幅が小さくなるように傾斜される一対の係止部側面を有し、
前記移動規制体は、前記凹部の幅が前記上段ケースの前記側面の上部へ向かうにつれて小さくなるように傾斜する一対の凹部側面を有することを特徴とする請求項1又は2記載の段積みケース構造。
【請求項5】
前記下段ケースおよび前記上段ケースは、バッテリ式産業車両に搭載されるバッテリケースであることを特徴とする請求項1又は2記載の段積みケース構造。
発明の詳細な説明
【技術分野】
【0001】
この発明は、段積みケース構造に関する。
続きを表示(約 1,800 文字)
【背景技術】
【0002】
段積みケースに関係する従来技術としては、例えば、特許文献1に開示された内視鏡装置が知られている。特許文献1の内視鏡装置は、柔軟であって細長な挿入部を有する内視鏡と該内視鏡の動作制御を行う装置本体とを収納する収納ケースを備えた内視鏡装置である。収納ケースの外装に、収納ケース同士を接触させた際、互いの収納ケースを位置規制する位置規制手段が備えられている。また、特許文献1の内視鏡装置の位置規制手段は、収納ケースの対向する一対の収納ケースの外装の内、どちらか一方の外装に備えられた凸部または凸部が備えられた外装に対向する外装に備えられた凹部である。この凸部は、外装に一端が回動自在に係止された、外装に対して起立または外装に収納自在な可倒部材である。
【0003】
特許文献1の内視鏡装置によれば、平積みにて内視鏡装置を保管する場合、収納ケース同士を接触させた際、互いの収納ケースを位置規制することが可能である。
【先行技術文献】
【特許文献】
【0004】
特開2006-30902号公報
【発明の概要】
【発明が解決しようとする課題】
【0005】
しかしながら、特許文献1の内視鏡装置は、収納ケースの外装に備えられる凹部は、収納空間へ向けて凹むため、収納ケースの収納空間においてデッドスペースを発生させるという問題がある。つまり、収容空間へ凹む凹部は、収納ケースの収容空間における収容のために使用できる有効空間を低減させることになる。
【0006】
本発明は上記の問題点に鑑みてなされたもので、本発明の目的は、上下に段積みされたケース同士の位置ずれを規制できるとともに、各ケースにおける有効空間の低減を可及的に防止することが可能な段積みケース構造の提供にある。
【課題を解決するための手段】
【0007】
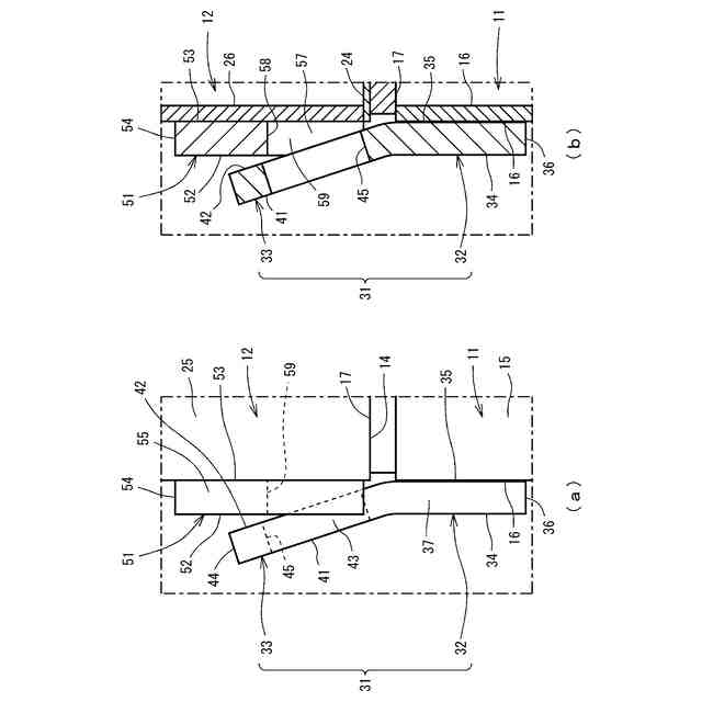
上記の課題を解決するために、本発明は、箱状の下段ケースと、前記下段ケースに段積み可能な箱状の上段ケースと、前記下段ケースに対する前記上段ケースの水平移動を規制する移動規制体と、前記下段ケースに設けられる係止体と、を有する段積みケース構造であって、前記係止体は、前記下段ケースの側面の上部に固定される固定部と、前記下段ケースの前記側面から離間するように、前記固定部から外側へ向けて延在する係止部と、を有し、前記移動規制体は、前記上段ケースの側面の下部に固定され、前記上段ケースの前記側面の下部から上部へ向けて窪む凹部を有し、前記係止部が、前記凹部に挿入可能であることを特徴とする。
【0008】
本発明では、係止体は、下段ケースの側面の上部に固定される固定部と、側面から離間するように、固定部から外側へ向けて延在する係止部と、を有する。また、移動規制体は、上段ケースの側面の下部に固定され、側面の下部から上部へ向けて窪む凹部を有する。上段ケースが下段ケースに段積みされた状態では、係止体の係止部が移動規制体の凹部に挿入される。このため、上段ケースが下段ケースに対して水平移動をしようとしても係止部が移動規制体に当接して妨げられる。また、係止体は、下段ケースの側面に固定され、移動規制体は、上段ケースの側面に固定されているので、下段ケースおよび上段ケースの収容のための有効空間が低減されることがない。したがって、上下に段積みされたケース同士の水平方向の位置ずれを規制できるとともに、各ケースにおける有効空間の低減を可及的に防止することが可能である。
【0009】
また、上記の段積みケース構造において、前記係止体は、前記固定部と前記係止部とが一体形成された板部材である構成としてもよい。
この場合、係止体は、固定部と係止部とが一体形成された板部材であるので部品点数の増加を抑制できるほか、係止体を製作し易くなる。
【0010】
また、上記の段積みケース構造において、前記係止部は、前記下段ケースを吊持するワイヤ又はフックを前記係止部に係止可能とする貫通孔を備える構成としてもよい。
この場合、係止部に貫通孔を形成するだけで、下段ケースを吊持するワイヤ又はフックを係止部に係止可能とする係止体を実現することができ、ワイヤ又はフックを係止するための部材を必要とせず、製作コストを抑制できる。
(【0011】以降は省略されています)
この特許をJ-PlatPat(特許庁公式サイト)で参照する
関連特許
株式会社豊田自動織機
排気管
1日前
株式会社豊田自動織機
監視装置
5日前
株式会社豊田自動織機
冷却装置
5日前
株式会社豊田自動織機
車両用機器
5日前
株式会社豊田自動織機
荷役制御装置
1日前
株式会社豊田自動織機
自動運転車両
1日前
株式会社豊田自動織機
インバータ装置
5日前
株式会社豊田自動織機
段積みケース構造
1日前
株式会社豊田自動織機
燃料電池システム
5日前
株式会社豊田自動織機
燃料電池システム
5日前
株式会社豊田自動織機
燃料電池システム
5日前
株式会社豊田自動織機
パレット検知装置
3日前
株式会社豊田自動織機
燃料電池モジュール
5日前
株式会社豊田自動織機
回転電機のステータ
1日前
株式会社豊田自動織機
スクロール型圧縮機
1日前
株式会社豊田自動織機
屋外自動運転システム
1日前
豊田合成株式会社
車両用内装品
3日前
豊田合成株式会社
車両用外装品
1日前
豊田合成株式会社
車両用内装品
3日前
豊田合成株式会社
コンソールボックス
3日前
豊田合成株式会社
コンソールボックス
3日前
株式会社豊田自動織機
燃料電池モジュール、及び発電システム
5日前
豊田合成株式会社
コンソールボックス
3日前
トヨタ自動車株式会社
ロールプレス装置
1日前
トヨタ自動車株式会社
電池の製造方法、電池
5日前
トヨタ自動車株式会社
電池の製造方法、及び、電池
2日前
株式会社豊田中央研究所
ハイブリッド車両の制御装置
2日前
トヨタ自動車株式会社
作業分析装置
5日前
トヨタ自動車株式会社
作業解析システム
5日前
株式会社豊田中央研究所
電磁場発生装置、ウェアラブル装置、及び検知装置
5日前
株式会社豊田中央研究所
距離認識制御システム、電磁波信号発振装置、距離認識制御プログラム
1日前
個人
箱
11か月前
個人
ゴミ箱
11か月前
個人
収容箱
2か月前
個人
コンベア
4か月前
個人
ゴミ収集器
6か月前
続きを見る
他の特許を見る