TOP
|
特許
|
意匠
|
商標
特許ウォッチ
Twitter
他の特許を見る
公開番号
2025154095
公報種別
公開特許公報(A)
公開日
2025-10-10
出願番号
2024056904
出願日
2024-03-29
発明の名称
フラップ固定用治具
出願人
ロジスティード株式会社
代理人
個人
主分類
B65D
5/66 20060101AFI20251002BHJP(運搬;包装;貯蔵;薄板状または線条材料の取扱い)
要約
【課題】箱に固定したまま同時に廃棄処理等可能で廃棄処理やリサイクル処理等を円滑に行えるともに、フラップの固定操作が簡便な、使い勝手がよく実用性が高いフラップ固定用治具を提供する。
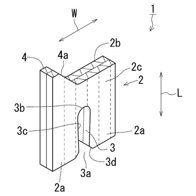
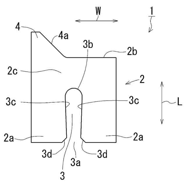
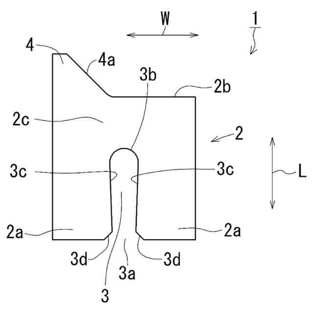
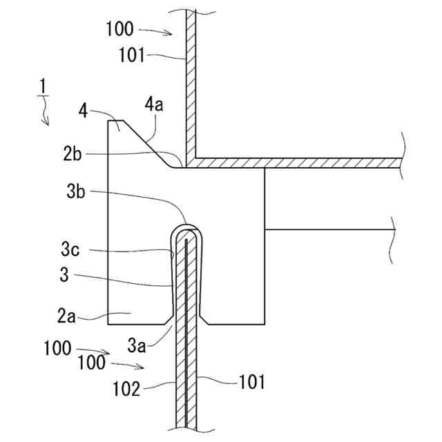
【解決手段】紙製の箱のフラップを外側に折り曲げ、且つ側板に重ねて固定するためのフラップ固定用治具であって、板状の本体部2と、前記本体部2の一部を切り欠いた切り欠き部3と、からなり、前記本体部2は紙製であり、前記切り欠き部2の開口の幅は前記側板と前記側板に重ねられたフラップを前記切り欠き部3に挿入可能な長さである。
【選択図】図1
特許請求の範囲
【請求項1】
紙製の箱のフラップを外側に折り曲げ、且つ側板に重ねて固定するためのフラップ固定用治具であって、
板状の本体部と、
前記本体部の一部を切り欠いた切り欠き部と、
からなり、
前記本体部は紙製であり、前記切り欠き部の開口の幅は前記側板と前記側板に重ねられたフラップを前記切り欠き部に挿入可能な長さであることを特徴とするフラップ固定用治具。
続きを表示(約 490 文字)
【請求項2】
請求項1のフラップ固定用治具において、
前記切り欠き部の閉塞端はラウンド形状であることを特徴とするフラップ固定用治具。
【請求項3】
請求項2のフラップ固定用治具において、
前記切り欠き部の形状は閉塞端から開放端に向けて狭くなるテーパ形状であることを特徴とするフラップ固定用治具。
【請求項4】
請求項1のフラップ固定用治具において、
前記切り欠き部の開放端の対向する前記本体部の辺は、前記切り欠き部が伸びる方向に対して直交する方向に平坦に伸びて形成されていることを特徴とするフラップ固定用治具。
【請求項5】
請求項1のフラップ固定用治具において、
突起部が前記切り欠き部の開放端の対向する前記本体部の辺に1か所設けられていることを特徴とするフラップ固定用治具。
【請求項6】
請求項1のフラップ固定用治具において
前記本体部はダンボールからなり、
前記本体部の段目の幅方向は切り欠き部の延びる方向であることを特徴とするフラップ固定用治具。
発明の詳細な説明
【技術分野】
【0001】
本発明は、ダンボール箱等の紙製の箱の蓋(フラップ)を開いた状態で固定するフラップ固定用治具に関する。
続きを表示(約 1,800 文字)
【背景技術】
【0002】
ダンボール等の箱を開梱し内部の物品を取る作業を行う際に、当該箱の蓋(フラップ)を固定し作業性を向上させるフラップ固定用の治具(クリップ)が存在する。
従来、かかる治具(クリップ)としては、例えば、特許文献1で提案されているものが知られている。
特許文献1に開示された箱体の蓋部用クリップは、箱体の隅部において、その外側の少なくとも2本の脚を箱体の外側に、及び中間の少なくとも1本の脚を箱体の内側に差し込むことにより、箱体の隅部と三角形を形成し、箱体の蓋部を仮止めできるように構成されている。そして、クリップは、金属やプラスチックの成形により製作されたものであった。
【先行技術文献】
【特許文献】
【0003】
実用新案登録第3129121号公報
【発明の概要】
【発明が解決しようとする課題】
【0004】
しかし、特許文献1に開示された箱体の蓋部用クリップには、以下のような課題があった。すなわち、特許文献1に開示された箱体の蓋部用クリップは、金属やプラスチックで製作されているため、箱から物品を取り切った後に箱を廃棄する際にこれら治具を取り除く必要がある。
昨今、倉庫における管理・搬送等も自動化が進んでおり、箱の内部を取り出した後に空箱になると当該空箱を廃棄することも自動化されている。
特許文献1に開示された箱体の蓋部用クリップは、空箱を廃棄する際には、自動化処理を一旦停止させて、作業員が箱の各4つの隅部から当該蓋部用クリップを1つずつ取り除く必要があり、箱の数が多くなればなるほど多大な労力・時間がかかるとともに、自動化の効果を低減させる問題があった。
【0005】
さらに、特許文献1に開示された箱体の蓋部用クリップでは、箱体の4つ隅部に3本の脚を装着させる構成である。
すなわち、作業者は、1つの蓋部用クリップを箱の1つの隅部に固定させる際には、当該隅部に隣接する2つ側板に接続される2つの蓋について、開いた蓋が戻らないように側板に重ねた状態を保持しながら、蓋部用クリップの3つの脚を位置合わせして、目的の隅部に差し込む操作を必要とする。よって、当該蓋部用クリップを固定するための操作が煩雑で、作業者1人ではスムーズかつスピーディな作業が困難であり、使い勝手が悪い問題があった。
【0006】
本発明は、従来技術における前記課題を解決するためになされたものであり、紙製の箱のフラップを側板に重ねて固定するフラップ固定用治具であって、箱に固定したまま同時に廃棄処理等可能で廃棄処理やリサイクル処理等を円滑に行えるともに、フラップの固定操作が簡便な、使い勝手がよく実用性が高いフラップ固定用治具を提供することを目的とする。
【課題を解決するための手段】
【0007】
前記目的を達成するため、本発明に係るフラップ固定用治具の構成は、
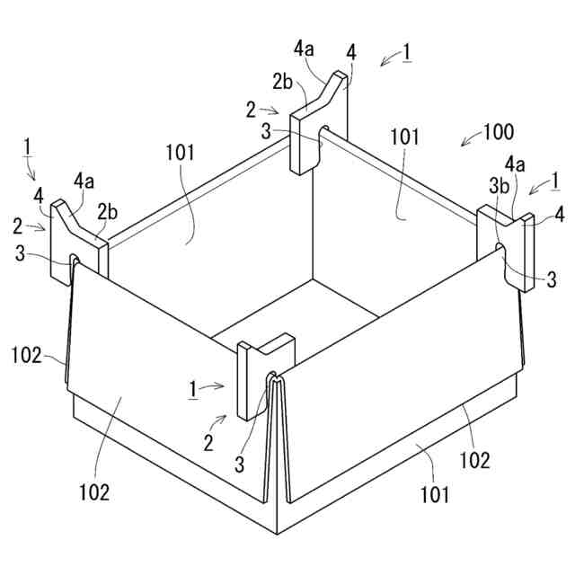
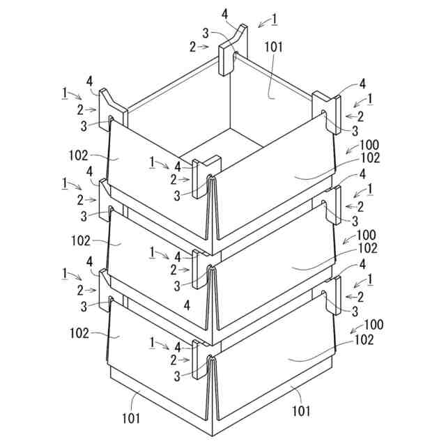
(1)紙製の箱のフラップを外側に折り曲げ、且つ側板に重ねて固定するためのフラップ固定用治具であって、
板状の本体部と、
前記本体部の一部を切り欠いた切り欠き部と、
からなり、
前記本体部は紙製であり、
前記切り欠き部の開口の幅は前記側板と前記側板に重ねられたフラップを前記切り欠き部に挿入可能な長さであることを特徴とする。
【0008】
本発明のフラップ固定用治具の上記(1)の構成によれば、切り欠き部から前記側板に重ねられたフラップを挿入して固定できるので、簡便かつスピーディに固定操作を行え、使い勝手が良い。
さらに、全体が紙製であるので、箱から取り外さずに装着した状態のままでも、廃棄処理やリサイクルのための処理等を行える。その結果、箱の内部から物を取り出した後の、廃棄やリサイクル等の後処理においても円滑かつ効率的に自動化できるとともに、人により取り外し作業が不要で省力化、効率化することができる。
【0009】
本発明のフラップ固定用治具の上記(1)の構成においては、以下の(2)から(6)のような構成にすることが好ましい。
【0010】
(2)前記切り欠き部の閉塞端はラウンド形状である。
(【0011】以降は省略されています)
この特許をJ-PlatPat(特許庁公式サイト)で参照する
関連特許
個人
収容箱
3か月前
個人
コンベア
5か月前
個人
容器
9か月前
個人
段ボール箱
6か月前
個人
ゴミ収集器
6か月前
個人
段ボール箱
7か月前
個人
楽ちんハンド
4か月前
個人
角筒状構造体
5か月前
個人
バンド
1か月前
個人
土嚢運搬器具
8か月前
個人
パウチ補助具
12か月前
個人
宅配システム
6か月前
個人
お薬の締結装置
5か月前
個人
廃棄物収容容器
2か月前
個人
包装容器
1か月前
個人
コード類収納具
8か月前
個人
閉塞装置
9か月前
株式会社和気
包装用箱
8か月前
株式会社バンダイ
物品
12日前
個人
ゴミ処理機
9か月前
個人
積み重ね用補助具
2か月前
個人
蓋閉止構造
3か月前
個人
蓋閉止構造
3か月前
株式会社コロナ
梱包材
5か月前
個人
把手付米袋
4か月前
個人
貯蔵サイロ
6か月前
個人
介護用コップ
2か月前
個人
輸送積荷用動吸振器
6か月前
個人
包装箱
9か月前
株式会社KY7
封止装置
3か月前
株式会社イシダ
搬送装置
6か月前
三甲株式会社
蓋体
9か月前
株式会社新弘
容器
2か月前
三甲株式会社
容器
1か月前
積水樹脂株式会社
接着剤
12か月前
個人
袋入り即席麺
7か月前
続きを見る
他の特許を見る