TOP
|
特許
|
意匠
|
商標
特許ウォッチ
Twitter
他の特許を見る
10個以上の画像は省略されています。
公開番号
2025154239
公報種別
公開特許公報(A)
公開日
2025-10-10
出願番号
2024057129
出願日
2024-03-29
発明の名称
コンパクト容器
出願人
株式会社吉野工業所
代理人
個人
,
個人
,
個人
主分類
A45D
34/00 20060101AFI20251002BHJP(手持品または旅行用品)
要約
【課題】液状の化粧料を内容液として収納するコンパクト容器を小型化することである。
【解決手段】容器本体10と、容器本体10に回転自在に配置された回転体20と、回転体20にねじ結合するとともに周壁11に対して回り止めされた状態で容器本体10の内部に上下方向に移動自在に配置された中皿30と、皿状部41と吐出筒部42とを備え、周壁11に対して回り止めされた状態で上下方向に移動自在の押圧部材40と、回転体20と押圧部材40との間に設けられた運動変換機構50と、押圧部材を覆う蓋体60と、を有し、押圧部材40が押し下げられると内容液2が底壁12と筒状部21の下端との間から筒状部21の内側及び吐出筒部42の内側を通って吐出口41aから外部に吐出されるように構成されていることを特徴とするコンパクト容器1。
【選択図】図1
特許請求の範囲
【請求項1】
液状の化粧料を内容液として収納するコンパクト容器であって、
周壁と周壁に装着された底壁とを備えた有底筒状の容器本体と、
雄ねじが形成された筒状部を備え、前記容器本体の内部に回転自在に配置された回転体と、
前記雄ねじにねじ結合する雌ねじを内周縁に備えるとともに前記周壁に全周に亘って接するシール部を外周縁に備え、前記周壁に対して回り止めされた状態で前記容器本体の内部に上下方向に移動自在に配置された中皿と、
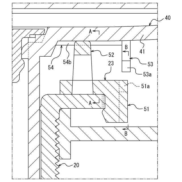
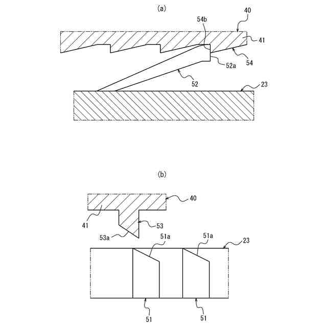
前記中皿の上方に間隔を空けて配置された皿状部と、前記皿状部に設けられた吐出口に連なるとともに前記筒状部の内側に嵌合した吐出筒部とを備え、前記周壁に対して回り止めされた状態で初期位置と押下げ位置との間で上下方向に移動自在の押圧部材と、
前記回転体と前記押圧部材との間に設けられ、前記押圧部材の前記初期位置から前記押下げ位置への直線運動を前記回転体の一方向への回転運動に変換する運動変換機構と、
前記容器本体に開閉自在に装着され、前記押圧部材を覆う蓋体と、
を有し、
前記蓋体が開いた状態で前記押圧部材が前記初期位置から前記押下げ位置へ押し下げられると、前記底壁と前記中皿との間において前記容器本体に収容されている前記内容液が、前記底壁と前記筒状部の下端との間から前記筒状部の内側及び前記吐出筒部の内側を通って前記吐出口から外部に吐出されるように構成されていることを特徴とするコンパクト容器。
続きを表示(約 630 文字)
【請求項2】
前記運動変換機構が、
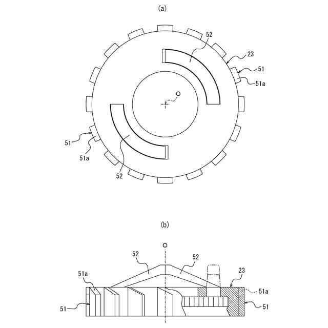
それぞれ前記皿状部の側を向く被駆動傾斜面を備え、前記回転体に固定された基台に前記回転体の回転中心軸を中心として周方向に間隔を空けて並べて設けられた複数の傾斜凸部と、
前記回転体の側を向く駆動傾斜面を備えて前記皿状部に設けられ、前記押圧部材が前記初期位置から前記押下げ位置へ押し下げられると前記駆動傾斜面により前記被駆動傾斜面を押して前記回転体を前記一方向に回転させる傾斜突起と、
前記皿状部に、前記回転体の回転中心軸を中心として周方向に並べて設けられた複数のくさび形状の段部と、
前記基台に前記一方向とは反対向きに傾斜して設けられ、前記皿状部に当接して前記押圧部材を前記初期位置に向けて付勢するとともに前記押圧部材が前記押下げ位置から前記初期位置へ戻るときに前記段部を押して前記回転体を前記一方向に回転させる板バネ部と、を有する請求項1に記載のコンパクト容器。
【請求項3】
前記吐出口に装着され、前記内容液を前記吐出口から前記皿状部に沿って吐出させる弁体をさらに有する、請求項1または2に記載のコンパクト容器。
【請求項4】
前記シール部が前記中皿の外周縁から上下方向に向けて突出する形状であり、
前記底壁に、前記シール部の前記中皿から下方に向けて突出する突出部分に対応した形状の環状の溝部が設けられている請求項1に記載のコンパクト容器。
発明の詳細な説明
【技術分野】
【0001】
本発明は、液状の化粧料を内容液として収納するコンパクト容器に関する。
続きを表示(約 1,900 文字)
【背景技術】
【0002】
従来、例えばリキッドファンデーション等の液状の化粧料を内容液として収納する容器として、パフなどの塗布具を収容する容器本体と、容器本体に開閉自在に装着された蓋体と、容器本体と蓋体との間に開閉自在に装着された中蓋と、ポンプなどの注出装置を備えて中蓋に固定され、内部に内容液を収容するチューブ状容器と、を有するコンパクト容器が知られている(例えば特許文献1参照)。このコンパクト容器によれば、蓋体を開くことで注出装置を作動させてチューブ状容器に収容された内容液を容器本体の受容凹部に吐出させて使用することができる。
【先行技術文献】
【特許文献】
【0003】
特開2004-208975号公報
【発明の概要】
【発明が解決しようとする課題】
【0004】
しかし、上記従来のコンパクト容器では、チューブ容器に装着される注出装置の機構部が大きいため、コンパクト容器の全体も大きくなってしまう、という問題点があった。
【0005】
本発明は、このような課題に鑑みてなされたものであり、その目的は、液状の化粧料を内容液として収納するコンパクト容器を小型化することにある。
【課題を解決するための手段】
【0006】
本発明のコンパクト容器は、液状の化粧料を内容液として収納するコンパクト容器であって、周壁と周壁に装着された底壁とを備えた有底筒状の容器本体と、雄ねじが形成された筒状部を備え、前記容器本体の内部に回転自在に配置された回転体と、前記雄ねじにねじ結合する雌ねじを内周縁に備えるとともに前記周壁に全周に亘って接するシール部を外周縁に備え、前記周壁に対して回り止めされた状態で前記容器本体の内部に上下方向に移動自在に配置された中皿と、前記中皿の上方に間隔を空けて配置された皿状部と、前記皿状部に設けられた吐出口に連なるとともに前記筒状部の内側に嵌合した吐出筒部とを備え、前記周壁に対して回り止めされた状態で初期位置と押下げ位置との間で上下方向に移動自在の押圧部材と、前記回転体と前記押圧部材との間に設けられ、前記押圧部材の前記初期位置から前記押下げ位置への直線運動を前記回転体の一方向への回転運動に変換する運動変換機構と、前記容器本体に開閉自在に装着され、前記押圧部材を覆う蓋体と、を有し、前記蓋体が開いた状態で前記押圧部材が前記初期位置から前記押下げ位置へ押し下げられると、前記底壁と前記中皿との間において前記容器本体に収容されている前記内容液が、前記底壁と前記筒状部の下端との間から前記筒状部の内側及び前記吐出筒部の内側を通って前記吐出口から外部に吐出されるように構成されていることを特徴とする。
【0007】
本発明のコンパクト容器は、上記構成において、前記運動変換機構が、それぞれ前記皿状部の側を向く被駆動傾斜面を備え、前記回転体に固定された基台に前記回転体の回転中心軸を中心として周方向に間隔を空けて並べて設けられた複数の傾斜凸部と、前記回転体の側を向く駆動傾斜面を備えて前記皿状部に設けられ、前記押圧部材が前記初期位置から前記押下げ位置へ押し下げられると前記駆動傾斜面により前記被駆動傾斜面を押して前記回転体を前記一方向に回転させる傾斜突起と、前記皿状部に、前記回転体の回転中心軸を中心として周方向に並べて設けられた複数のくさび形状の段部と、前記基台に前記一方向とは反対向きに傾斜して設けられ、前記皿状部に当接して前記押圧部材を前記初期位置に向けて付勢するとともに前記押圧部材が前記押下げ位置から前記初期位置へ戻るときに前記段部を押して前記回転体を前記一方向に回転させる板バネ部と、を有するのが好ましい。
【0008】
本発明のコンパクト容器は、上記構成において、前記吐出口に装着され、前記内容液を前記吐出口から前記皿状部に沿って吐出させる弁体をさらに有するのが好ましい。
【0009】
本発明のコンパクト容器は、上記構成において、前記シール部が前記中皿の外周縁から上下方向に向けて突出する形状であり、前記底壁に、前記シール部の前記中皿から下方に向けて突出する突出部分に対応した形状の環状の溝部が設けられているのが好ましい。
【発明の効果】
【0010】
本発明によれば、液状の化粧料を内容液として収納するコンパクト容器を小型化することができる。
【図面の簡単な説明】
(【0011】以降は省略されています)
この特許をJ-PlatPat(特許庁公式サイト)で参照する
関連特許
株式会社吉野工業所
吐出器
18日前
株式会社吉野工業所
塗布容器
9日前
株式会社吉野工業所
吐出容器
9日前
株式会社吉野工業所
塗布容器
10日前
株式会社吉野工業所
二重容器
10日前
株式会社吉野工業所
塗布容器
9日前
株式会社吉野工業所
化粧用容器
11日前
株式会社吉野工業所
吐出ポンプ
9日前
株式会社吉野工業所
スポイト容器
9日前
株式会社吉野工業所
削り出し容器
9日前
株式会社吉野工業所
ポンプ式吐出器
9日前
株式会社吉野工業所
把手付きボトル
10日前
株式会社吉野工業所
コンパクト容器
9日前
株式会社吉野工業所
合成樹脂製壜体
9日前
株式会社吉野工業所
ポンプ式吐出器
10日前
株式会社吉野工業所
ポンプ式吐出器
10日前
株式会社吉野工業所
中蓋付きキャップ
16日前
株式会社吉野工業所
キャップ付き容器
11日前
株式会社吉野工業所
ポンプ式吐出容器
9日前
株式会社吉野工業所
キャップ付き吐出栓
9日前
株式会社吉野工業所
トリガー式液体噴出器
10日前
株式会社吉野工業所
トリガー式液体噴出器
11日前
株式会社吉野工業所
トリガー式液体噴出器
9日前
株式会社吉野工業所
泡吐出具及び泡吐出容器
9日前
花王株式会社
吐出容器
2日前
株式会社吉野工業所
移行栓キャップ付き容器
9日前
花王株式会社
吐出容器
2日前
株式会社吉野工業所
フォーマーディスペンサー
10日前
株式会社吉野工業所
オーバーキャップ付き容器
9日前
株式会社吉野工業所
ポンプ式吐出具及びポンプ式吐出容器
9日前
株式会社吉野工業所
ノズル部材、ポンプ式吐出器、及び吐出器付き容器
9日前
個人
包み箱
1か月前
個人
杖
3か月前
個人
傘
1か月前
個人
傘
6か月前
個人
折り畳み傘
3か月前
続きを見る
他の特許を見る