TOP
|
特許
|
意匠
|
商標
特許ウォッチ
Twitter
他の特許を見る
公開番号
2025158318
公報種別
公開特許公報(A)
公開日
2025-10-17
出願番号
2024060740
出願日
2024-04-04
発明の名称
吐出容器
出願人
花王株式会社
,
株式会社吉野工業所
代理人
個人
,
個人
,
個人
,
個人
主分類
B65D
47/06 20060101AFI20251009BHJP(運搬;包装;貯蔵;薄板状または線条材料の取扱い)
要約
【課題】内容物の吐出後、胴部を復元変形させたときに、外気がボトル内に供給されても、ボトル内が泡で満たされるのを防ぐ。
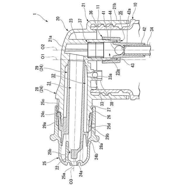
【解決手段】ノズル筒24には、吐出孔22と縦供給筒23内とを連通する吐出通路31と、吐出通路と並列に設けられ、開閉部材25の第2貫通孔25dとボトル10内とを連通可能な外気導入路32と、が備えられ、外気導入路とボトル内との接続部分には、外気導入路からボトル内への空気の流入を許容し、かつボトル内から外気導入路への空気の流入を規制する逆止弁33が設けられ、開閉部材は、第1貫通孔25a内にノズル筒のボス部24aが嵌合され、かつ第2貫通孔と外気導入路との連通が遮断された待機位置と、第1貫通孔がボス部から前方に離れ、かつ第2貫通孔が外気導入路に連通した前進端位置と、の間を前後方向に移動可能に設けられている。
【選択図】図1
特許請求の範囲
【請求項1】
少なくとも口部および弾性変形可能に形成された胴部を有するボトルと、
前記口部に装着される有頂筒状の装着筒、および内容物の吐出孔を有するノズル部材と、を備え、
前記ノズル部材は、
前記装着筒の頂壁から下方に向けて延びる縦供給筒と、
前記縦供給筒から前方に向けて延びるとともに、前記装着筒から前方に向けて突出し、前記吐出孔が形成されたノズル筒と、
前記ノズル筒に前後方向に移動可能に外装された開閉部材と、を備え、
前記縦供給筒には、下方に向けて延びる接続筒部材が連結され、
前記接続筒部材には、下端部が前記ボトルの底部内に位置する吸い上げパイプの上端部が接続されるとともに、前記ボトル内と、前記縦供給筒内のうち前記吸い上げパイプの上端部より上方に位置する部分と、を連通する空気通路が設けられ、
前記ノズル筒の前端部には、
前方に向けて突出したボス部と、
前記ボス部回りに間隔をあけて配設された複数の前記吐出孔と、が形成され、
前記開閉部材は、前端が閉塞されて後端が開放された横向きの有頂筒状に形成され、
前記開閉部材の前端壁に、前記ボス部が着脱可能に嵌合された第1貫通孔が形成され、
前記開閉部材の周壁の下端部に、上下方向に貫く第2貫通孔が形成され、
前記ノズル筒には、
前記吐出孔と前記縦供給筒内とを連通する吐出通路と、
前記吐出通路と並列に設けられ、前記第2貫通孔と前記ボトル内とを連通可能な外気導入路と、が備えられ、
前記外気導入路と前記ボトル内との接続部分には、前記外気導入路から前記ボトル内への空気の流入を許容し、かつ前記ボトル内から前記外気導入路への空気の流入を規制する逆止弁が設けられ、
前記開閉部材は、
前記第1貫通孔内に前記ボス部が嵌合され、かつ前記第2貫通孔と前記外気導入路との連通が遮断された待機位置と、
前記第1貫通孔が前記ボス部から前方に離れ、かつ前記第2貫通孔が前記外気導入路に連通した前進端位置と、の間を前後方向に移動可能に設けられ、
前記ノズル筒の周壁のうち、前記吐出孔より後方に位置する部分の外周面には、ノズル径方向の外側に向けて突出し、前記開閉部材の前後動に伴い、前記開閉部材の周壁の内周面のうち、前記第2貫通孔より前方に位置する部分を前後方向に摺動する摺動筒が設けられている、吐出容器。
続きを表示(約 610 文字)
【請求項2】
前記ノズル筒は、基筒部と、本体筒部と、を備え、
前記基筒部は、前記縦供給筒から前方に向けて延び、前記装着筒と一体に形成されるとともに、前後方向の両端部が開口した筒状に形成され、
前記本体筒部は、前端が閉塞されて後端が開放された横向きの有頂筒状に形成されるとともに、前記本体筒部内が前記吐出通路とされ、
前記本体筒部の前部は、前記基筒部から前方に向けて突出し、前記本体筒部の前部に、前記吐出孔、前記ボス部、および前記摺動筒が形成され、
前記本体筒部の後部は、前記基筒部内に嵌合され、前記本体筒部の後部の外周面、および前記基筒部の内周面それぞれの下端部同士の間に、前記外気導入路が設けられ、
前記基筒部の前端開口縁の下端部に、前方に向けて突出した突片が、前記ノズル筒の中心軸線回りに沿うノズル周方向に間隔をあけて2つ設けられ、
前記本体筒部の前部の外周面には、前記摺動筒との接続部分から後方に向けて延び、前記基筒部の前端部に外嵌された外装筒が形成され、
前記外装筒の前端部に、ノズル径方向に貫き、前記突片が後方から前方に差し込まれた導入孔が形成され、
2つの前記突片のうち、ノズル周方向で互いに対向する面と反対側の面は、前記導入孔の内面のうち、ノズル周方向で互いに対向する面に当接、若しくは近接している、請求項1に記載の吐出容器。
発明の詳細な説明
【技術分野】
【0001】
本発明は、吐出容器に関する。
続きを表示(約 3,700 文字)
【背景技術】
【0002】
従来から、例えば下記特許文献1に示されるような、口部および弾性変形可能に形成された胴部を有するボトルと、口部に装着される有頂筒状の装着筒、および内容物の吐出孔を有するノズル部材と、を備え、ノズル部材は、装着筒の頂壁から下方に向けて延びる縦供給筒と、縦供給筒から前方に向けて延びるとともに、装着筒から前方に向けて突出し、前端開口が吐出孔とされたノズル筒と、を備え、縦供給筒に、下端部がボトルの底部内に位置する吸い上げパイプの上端部が接続されるとともに、ボトル内と、縦供給筒内のうち吸い上げパイプの上端部より上方に位置する部分と、を連通する空気通路が設けられている吐出容器が知られている。
この吐出容器では、胴部を径方向の内側に向けて弾性変形させると、ボトル内の内容物が吸い上げパイプ内を通して、ボトル内の空気が空気通路を通して、それぞれ縦供給筒内に供給されて混合され、その後、吐出孔から発泡した内容物が吐出される。内容物の吐出後に、胴部を復元変形させると、外気が吐出孔を通してノズル筒内および縦供給筒内をこの順に通過してボトル内に供給される。
【先行技術文献】
【特許文献】
【0003】
特開2000-219254号公報
【発明の概要】
【発明が解決しようとする課題】
【0004】
従来の吐出容器では、内容物の吐出後に、外気が吐出孔からボトル内に供給されるときに、ノズル筒内等の泡もボトル内に供給されることとなり、ボトル内が泡で満たされ、次回吐出時に、内容物および空気が縦供給筒内に規定量ずつ供給されにくくなり、吐出される内容物の泡質が悪化するおそれがあった。
【0005】
本発明は、内容物の吐出後、胴部を復元変形させたときに、外気がボトル内に供給されても、ボトル内が泡で満たされるのを防ぐことができる吐出容器を提供する。
【課題を解決するための手段】
【0006】
本発明の一態様に係る吐出容器は、少なくとも口部および弾性変形可能に形成された胴部を有するボトルと、前記口部に装着される有頂筒状の装着筒、および内容物の吐出孔を有するノズル部材と、を備え、前記ノズル部材は、前記装着筒の頂壁から下方に向けて延びる縦供給筒と、前記縦供給筒から前方に向けて延びるとともに、前記装着筒から前方に向けて突出し、前記吐出孔が形成されたノズル筒と、前記ノズル筒に前後方向に移動可能に外装された開閉部材と、を備え、前記縦供給筒には、下方に向けて延びる接続筒部材が連結され、前記接続筒部材には、下端部が前記ボトルの底部内に位置する吸い上げパイプの上端部が接続されるとともに、前記ボトル内と、前記縦供給筒内のうち前記吸い上げパイプの上端部より上方に位置する部分と、を連通する空気通路が設けられ、前記ノズル筒の前端部には、前方に向けて突出したボス部と、前記ボス部回りに間隔をあけて配設された複数の前記吐出孔と、が形成され、前記開閉部材は、前端が閉塞されて後端が開放された横向きの有頂筒状に形成され、前記開閉部材の前端壁に、前記ボス部が着脱可能に嵌合された第1貫通孔が形成され、前記開閉部材の周壁の下端部に、上下方向に貫く第2貫通孔が形成され、前記ノズル筒には、前記吐出孔と前記縦供給筒内とを連通する吐出通路と、前記吐出通路と並列に設けられ、前記第2貫通孔と前記ボトル内とを連通可能な外気導入路と、が備えられ、前記外気導入路と前記ボトル内との接続部分には、前記外気導入路から前記ボトル内への空気の流入を許容し、かつ前記ボトル内から前記外気導入路への空気の流入を規制する逆止弁が設けられ、前記開閉部材は、前記第1貫通孔内に前記ボス部が嵌合され、かつ前記第2貫通孔と前記外気導入路との連通が遮断された待機位置と、前記第1貫通孔が前記ボス部から前方に離れ、かつ前記第2貫通孔が前記外気導入路に連通した前進端位置と、の間を前後方向に移動可能に設けられ、前記ノズル筒の周壁のうち、前記吐出孔より後方に位置する部分の外周面には、ノズル径方向の外側に向けて突出し、前記開閉部材の前後動に伴い、前記開閉部材の周壁の内周面のうち、前記第2貫通孔より前方に位置する部分を前後方向に摺動する摺動筒が設けられている。
【0007】
開閉部材が前進端位置に位置し、第1貫通孔が開放されているときに、胴部を径方向の内側に向けて弾性変形させると、ボトル内の内容物が吸い上げパイプ内を通して、ボトル内の空気が空気通路を通して、それぞれ縦供給筒内に供給されて混合され、その後、吐出孔を通して第1貫通孔から外部に発泡した内容物が吐出される。
この過程において、外気導入路とボトル内との接続部分に設けられている逆止弁によって、ボトル内の空気が外気導入路に流入して第2貫通孔から排出されるのを防止することとなり、ボトル内の空気を空気通路に円滑に流入させて内容物と混合させることが可能になり、第1貫通孔から外部に吐出される内容物の泡質を安定させることができる。
開閉部材が前進端位置に位置しているときには、開閉部材の第2貫通孔が外気導入路に連通しているので、内容物の吐出後、胴部を復元変形させると、外気が第2貫通孔を通して外気導入路に進入しボトル内に供給される。
この際、外気導入路が吐出通路と並列に設けられているので、すでに泡で満たされ、かつ泡が発生しやすい吐出通路を回避して、外気が開閉部材の第2貫通孔を通して外気導入路に進入しボトル内に供給されることとなり、ボトル内が泡で満たされるのを防ぐことができる。
開閉部材が待機位置に位置しているときは、第1貫通孔が閉塞され、かつ第2貫通孔と外気導入路との連通が遮断されているので、外部の水等が吐出通路および外気導入路に進入するのを抑制することができる。
第2貫通孔が開閉部材の周壁の下端部に形成されているので、外部の水等が第2貫通孔に到達しにくくなり、開閉部材が前進端位置に位置していても、外部の水等が第2貫通孔から外気導入路に進入するのを抑制することができる。
ノズル筒の周壁に摺動筒が設けられ、開閉部材内において、第2貫通孔が、吐出孔および第1貫通孔に連通することが防止されているので、吐出孔を通過したものの第1貫通孔に到達せず、開閉部材内にとどまっている発泡した内容物が、第2貫通孔に進入して、開閉部材の周壁の外周面上に漏出するのを防止することができる。
【0008】
本発明の一態様に係る吐出容器は、前記ノズル筒は、基筒部と、本体筒部と、を備え、前記基筒部は、前記縦供給筒から前方に向けて延び、前記装着筒と一体に形成されるとともに、前後方向の両端部が開口した筒状に形成され、前記本体筒部は、前端が閉塞されて後端が開放された横向きの有頂筒状に形成されるとともに、前記本体筒部内が前記吐出通路とされ、前記本体筒部の前部は、前記基筒部から前方に向けて突出し、前記本体筒部の前部に、前記吐出孔、前記ボス部、および前記摺動筒が形成され、前記本体筒部の後部は、前記基筒部内に嵌合され、前記本体筒部の後部の外周面、および前記基筒部の内周面それぞれの下端部同士の間に、前記外気導入路が設けられ、前記基筒部の前端開口縁の下端部に、前方に向けて突出した突片が、前記ノズル筒の中心軸線回りに沿うノズル周方向に間隔をあけて2つ設けられ、前記本体筒部の前部の外周面には、前記摺動筒との接続部分から後方に向けて延び、前記基筒部の前端部に外嵌された外装筒が形成され、前記外装筒の前端部に、ノズル径方向に貫き、前記突片が後方から前方に差し込まれた導入孔が形成され、2つの前記突片のうち、ノズル周方向で互いに対向する面と反対側の面は、前記導入孔の内面のうち、ノズル周方向で互いに対向する面に当接、若しくは近接していてもよい。
【0009】
ノズル筒が、装着筒と一体に形成された基筒部と、本体筒部と、を備えているので、吐出孔、ボス部、摺動筒、吐出通路、および外気導入路を有するノズル筒を、金型構造の複雑化を防ぎつつ容易に形成することができる。
基筒部に形成された2つの突片のうち、ノズル周方向で互いに対向する面と反対側の面が、本体筒部の外装筒に形成された導入孔の内面のうち、ノズル周方向で互いに対向する面に当接、若しくは近接しているので、基筒部および本体筒部を、容易にノズル周方向の相対位置を合わせて組み付けることができる。
【発明の効果】
【0010】
本発明の上記態様によれば、内容物の吐出後、胴部を復元変形させたときに、外気がボトル内に供給されても、ボトル内が泡で満たされるのを防ぐことができる。
【図面の簡単な説明】
(【0011】以降は省略されています)
この特許をJ-PlatPat(特許庁公式サイト)で参照する
関連特許
花王株式会社
袋体
10日前
花王株式会社
組立体
29日前
花王株式会社
放散装置
1か月前
花王株式会社
吐出容器
1日前
花王株式会社
固形食品
15日前
花王株式会社
清掃用具
9日前
花王株式会社
固形食品
1か月前
花王株式会社
吐出容器
1日前
花王株式会社
製函装置
19日前
花王株式会社
吸収性物品
1か月前
花王株式会社
乳化化粧料
10日前
花王株式会社
乳化化粧料
10日前
花王株式会社
固形入浴剤
1か月前
花王株式会社
パウチ容器
1か月前
花王株式会社
油性化粧料
19日前
花王株式会社
容器組立体
2か月前
花王株式会社
吸収性物品
1か月前
花王株式会社
吸収性物品
1か月前
花王株式会社
毛髪洗浄剤
2日前
花王株式会社
泡吐出容器
1日前
花王株式会社
吸収性物品
1か月前
花王株式会社
抗菌剤組成物
11日前
花王株式会社
鋳型用組成物
1か月前
花王株式会社
口腔用組成物
1か月前
花王株式会社
口腔用組成物
1か月前
花王株式会社
シート材容器
2か月前
花王株式会社
口腔用組成物
15日前
花王株式会社
防錆剤組成物
1か月前
花王株式会社
剥離剤組成物
1か月前
花王株式会社
吸収性パッド
1か月前
花王株式会社
口腔用組成物
15日前
花王株式会社
防錆剤組成物
1か月前
花王株式会社
酵素センサー
2か月前
花王株式会社
吸収性パッド
1か月前
花王株式会社
口腔菌叢改善剤
1か月前
花王株式会社
水系顔料分散体
8日前
続きを見る
他の特許を見る