TOP
|
特許
|
意匠
|
商標
特許ウォッチ
Twitter
他の特許を見る
10個以上の画像は省略されています。
公開番号
2025153033
公報種別
公開特許公報(A)
公開日
2025-10-10
出願番号
2024055292
出願日
2024-03-29
発明の名称
ノズル部材、ポンプ式吐出器、及び吐出器付き容器
出願人
株式会社吉野工業所
代理人
個人
主分類
B05B
11/00 20230101AFI20251002BHJP(霧化または噴霧一般;液体または他の流動性材料の表面への適用一般)
要約
【課題】従前の環状ピストンを用いずとも吐出弁としての機能が発揮される新たな構造を提案する。
【解決手段】外周壁6jと内周壁7aとの間に内容液が通過する本体通路T1を備える吐出器本体に用いられるノズル部材8であって、外周壁6jに接続される根元側周壁8aと、内側に吐出通路T2が設けられ、先端に吐出通路T2に通じる吐出口8dが設けられた先端側周壁8cと、弾性変形可能であって、根元側周壁8aと先端側周壁8cとを接続し、内周壁7aに接触して本体通路T1から吐出通路T2に向かう内容液の流れを規制する一方、本体通路T1の内容液が加圧されると内周壁7aから離反して本体通路T1から吐出通路T2に向かう内容液の流れを許容する弾性接続壁8bと、を備える。
【選択図】図1
特許請求の範囲
【請求項1】
外周壁と内周壁との間に内容液が通過する本体通路を備える吐出器本体に用いられるノズル部材であって、
前記外周壁に接続される根元側周壁と、
内側に吐出通路が設けられ、先端に該吐出通路に通じる吐出口が設けられた先端側周壁と、
弾性変形可能であって、前記根元側周壁と前記先端側周壁とを接続し、前記内周壁に接触して前記本体通路から前記吐出通路に向かう内容液の流れを規制する一方、前記本体通路の内容液が加圧されると前記内周壁から離反して該本体通路から該吐出通路に向かう内容液の流れを許容する弾性接続壁と、を備えるノズル部材。
続きを表示(約 1,500 文字)
【請求項2】
請求項1に記載のノズル部材と前記吐出器本体とを備えるポンプ式吐出器であって、
前記吐出器本体は、
内容液を収容する容器に装着されるベースと、
前記ベースに対して進退移動するヘッドと、と備え、
前記ヘッドは、
外周面又は内周面にピストン部が設けられたヘッド周壁を備え、
前記ベースは、
前記ピストン部が摺動可能に接触するベース周壁と、
前記ヘッド周壁と前記ベース周壁の内側に設けられ、導入口を介して前記容器内の内容液が導入される内部空間と、
前記ベース周壁に設けた第一連通口を取り囲んで該ベース周壁から延出され、前記内周壁が内側に設けられるとともに該内周壁との間に前記本体通路を備える前記外周壁と、
前記導入口を開閉可能であって、前記容器から前記内部空間へ向かう内容液の流れは許容する一方、該内部空間から該容器へ向かう内容液の流れは規制する吸引弁と、
前記内部空間に設けられ、前記ベースに対して前記ヘッドを後退させる向きに付勢する弾性構造体と、を備えるポンプ式吐出器。
【請求項3】
前記ノズル部材は、
前記内周壁の内側に位置する棒状部と、
前記吐出通路につながる第二連通口を有し、前記先端側周壁と前記棒状部とをつなぐ接続壁と、を備え、
前記吐出器本体は、
弾性変形可能であって環状をなし、外縁部が前記内周壁の内周面につながり内縁部が前記棒状部の外周面に接触して、該内周壁の内側を、前記第一連通口に通じる第一通路と、前記弾性接続壁が前記内周壁から離反した状態において前記本体通路と前記第二連通口を通じさせる第二通路とに区画する弾性環状壁と、を備え、
前記ヘッドへの押圧を解除して前記内周壁から離反した前記弾性接続壁が復元する際、前記先端側周壁とともに前記接続壁と前記棒状部が初期位置に移動するに伴って前記第二通路の内容器が前記第一通路に流動する、請求項2に記載のポンプ式吐出器。
【請求項4】
前記弾性構造体は、
前記ヘッド及び前記ベースの何れか一方に設けられ、該ヘッド及び該ベースの何れか他方に向けて延出された延出部と、
前記ヘッド及び前記ベースの何れか他方に設けられ、該ヘッドを押圧した際に前記延出部によって撓む弾性片と、を備える請求項2に記載のポンプ式吐出器。
【請求項5】
前記弾性片は、弾性片本体と、該弾性片本体よりも幅狭になる補強リブを備え、
前記補強リブは、該補強リブの根元側に位置するリブ根元部と、該リブ根元部から該補強リブの先端側に向かって厚みが徐々に薄くなるリブ徐変部とを有する請求項4に記載のポンプ式吐出器。
【請求項6】
前記ベースは、
筒状をなし、前記導入口が底部に設けられ、内側に前記吸引弁が設けられた下部シリンダーと、
前記下部シリンダーに保持される保持筒と、該保持筒の径方向内側に位置し前記導入口に通じる第三連通口が設けられた内側壁と、該保持筒の径方向外側に位置し前記ベース周壁につながる外側壁とを備える上部シリンダーと、を備え、
前記弾性片は、前記内側壁の上面に、前記第三連通口を取り囲んで複数設けられる請求項4に記載のポンプ式吐出器。
【請求項7】
前記ヘッドは、前記延出部を有し、
前記弾性片は、前記ヘッドを押圧した際に前記延出部が外周面に接触して前記第三連通口に近づく向きに撓む請求項6に記載のポンプ式吐出器。
【請求項8】
請求項2~5の何れか一項に記載のポンプ式吐出器と前記容器とを備える吐出器付き容器。
発明の詳細な説明
【技術分野】
【0001】
本発明は、ノズル部材、このノズル部材を備えるポンプ式吐出器、及びこのポンプ式吐出器と容器とを備える吐出器付き容器に関する。
続きを表示(約 2,000 文字)
【背景技術】
【0002】
ポンプ式吐出器として、容器の口部に装着されステムが進退移動することによって駆動するポンプと、ステムに連結するヘッドとを備え、ヘッドを押圧することによって容器内の内容液を吐出口から吐出させるものが既知である(例えば特許文献1参照)。
【0003】
このようなポンプ式吐出器には、特許文献1に示されているように、ポンプを構成するシリンダーの内部に環状ピストンが設けられている。この環状ピストンは、シリンダー内の内容液を加圧する機能と、ステムに設けられた吐出弁座との間で吐出弁として作用する機能を備えている。すなわち、ヘッドを押し下げると、環状ピストンも押し下げられてシリンダー内の内容液が加圧され、またこのとき環状ピストンはステムに対して相対的に上昇して吐出弁は開いた状態になるため、加圧された内容液はステム内を通過してヘッドより吐出される。そして押し下げ後のヘッドが弾性体によって上昇すると、ステムに対して相対的に下降する環状ピストンにより吐出弁が閉じるため、シリンダー内は負圧化され、これによりシリンダー内の下端部に配された吸引弁が開いて容器に収容された内容液がシリンダー内に吸引される。
【先行技術文献】
【特許文献】
【0004】
特開2011-31950号公報
【発明の概要】
【発明が解決しようとする課題】
【0005】
ところでこのような環状ピストンは、特許文献1に記載されているように圧縮変形をおこすおそれがあり、このような圧縮変形が生じると、ヘッドの押し下げが重く感じる等の不具合につながることがある。
【0006】
このような点に鑑み、本発明は、従前の環状ピストンを用いずとも吐出弁としての機能が発揮される新たな構造を提案することを目的とする。
【課題を解決するための手段】
【0007】
本発明のノズル部材は、外周壁と内周壁との間に内容液が通過する本体通路を備える吐出器本体に用いられるものであって、前記外周壁に接続される根元側周壁と、内側に吐出通路が設けられ、先端に該吐出通路に通じる吐出口が設けられた先端側周壁と、弾性変形可能であって、前記根元側周壁と前記先端側周壁とを接続し、前記内周壁に接触して前記本体通路から前記吐出通路に向かう内容液の流れを規制する一方、前記本体通路の内容液が加圧されると前記内周壁から離反して該本体通路から該吐出通路に向かう内容液の流れを許容する弾性接続壁と、を備える。
【発明の効果】
【0008】
本発明のノズル部材、このノズル部材を備えるポンプ式吐出器、及びこのポンプ式吐出器を備える吐出器付き容器によれば、弾性接続壁が内周壁に接触すると本体通路から吐出通路に向かう内容液の流れが規制され、本体通路の内容液が加圧されると内周壁から弾性接続壁が離反して本体通路から吐出通路に向かう内容液の流れが許容される。すなわち弾性接続壁が吐出弁として機能するため、従前の環状ピストンを用いる必要がなくなり、環状ピストンに関する不具合を取り除くことができる。
【図面の簡単な説明】
【0009】
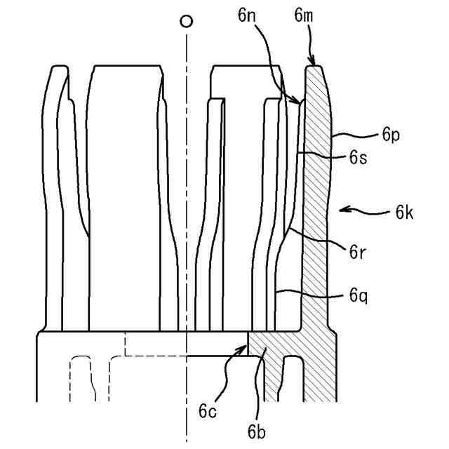
本発明に係るポンプ式吐出器の一実施形態を側面視で示した断面図であって、軸線Oより右側はヘッドを押圧する前の状態を示し、左側はヘッドを押圧した状態を示した図である。
弾性片の周辺部分を示した平面図である。
弾性片の周辺部分を示した半断面図である。
図1に示した引き戻し弁の断面図(図3Bに示したB-Bに沿う断面図)である。
図1に示した引き戻し弁に関し、図3Aに示した矢印Aに沿う矢視図である。
図1に示したノズル部材の断面図(図4Bに示したD-Dに沿う断面図)である。
図1に示したノズル部材に関し、図4Aに示した矢印Cに沿う矢視図である。
ヘッドを押圧した際の弾性接続壁の周辺部分を示した部分拡大図である。
押圧したヘッドが復元する際の弾性接続壁の周辺を示した部分拡大図である。
【発明を実施するための形態】
【0010】
以下、図面を参照しながら本発明に係るノズル部材の一実施形態であるノズル部材8と、このノズル部材8を備えるポンプ式吐出器100と、このポンプ式吐出器100を備える吐出器付き容器110について説明する。本明細書等において上下方向とは、図示した軸線O(後述するベース周壁6fの中心軸線)に沿う向きであって、パイプ2が位置する側が「下」であり、ヘッド外側部材9が位置する側が「上」である。また径方向とは、軸線Oに対して垂直な面内で軸線Oと直交する方向であり、周方向とは、この面内で軸線Oを中心として周回する方向である。
(【0011】以降は省略されています)
この特許をJ-PlatPat(特許庁公式サイト)で参照する
関連特許
株式会社吉野工業所
ポンプ式吐出器
7日前
花王株式会社
吐出容器
今日
花王株式会社
吐出容器
今日
ベック株式会社
被膜形成方法
10日前
アイカ工業株式会社
塗料仕上げ工法
29日前
スズカファイン株式会社
多色性塗膜
18日前
株式会社吉野工業所
キャップ
3か月前
ベック株式会社
装飾被膜の形成方法
2か月前
トヨタ自動車株式会社
塗布装置
16日前
日本ライナー株式会社
塗装装置
1か月前
株式会社カネカ
塗布装置
18日前
個人
スプレー缶高所対応携帯ホルダー
29日前
能美防災株式会社
水噴霧ヘッド
14日前
プルガティオ株式会社
噴霧装置
3か月前
プルガティオ株式会社
噴霧装置
3か月前
プルガティオ株式会社
噴霧装置
3か月前
ヒット工業株式会社
マスキング具
2か月前
株式会社吉野工業所
ポンプ式吐出器
3か月前
中外炉工業株式会社
塗工装置
2か月前
ブラザー工業株式会社
塗工装置
7日前
東レエンジニアリング株式会社
スリットダイ
10日前
ブラザー工業株式会社
塗工装置
7日前
ブラザー工業株式会社
塗工装置
7日前
東レエンジニアリング株式会社
粉体吐出装置
8日前
旭サナック株式会社
粉体塗装装置
1か月前
株式会社吉野工業所
吐出器
3か月前
株式会社吉野工業所
吐出器
3か月前
積水ハウス株式会社
接着剤塗布装置
2か月前
トリニティ工業株式会社
回転霧化式塗装機
14日前
個人
散水形態を変更可能な吐水装置
15日前
三菱鉛筆株式会社
多液混合型塗布具
2か月前
ブラザー工業株式会社
静電塗工装置
7日前
AWJ株式会社
ステンシルプレートセット
2か月前
株式会社トーモク
印刷装置および印刷方法
29日前
株式会社吉野工業所
ノズル部材
3か月前
Mipox株式会社
塗装物の製造方法
1か月前
続きを見る
他の特許を見る