TOP
|
特許
|
意匠
|
商標
特許ウォッチ
Twitter
他の特許を見る
公開番号
2025153973
公報種別
公開特許公報(A)
公開日
2025-10-10
出願番号
2024056718
出願日
2024-03-29
発明の名称
移行栓キャップ付き容器
出願人
株式会社吉野工業所
代理人
個人
主分類
B65D
47/12 20060101AFI20251002BHJP(運搬;包装;貯蔵;薄板状または線条材料の取扱い)
要約
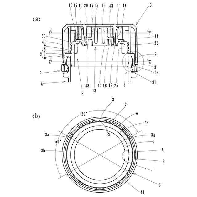
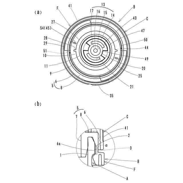
【課題】 最初にねじキャップを閉蓋方向に回転しても、その後、開蓋方向に回転すれば、中栓の共回りを防止して開封できる移行栓キャップ付き容器を提供すること。
【解決手段】 容器本体Aの口部1に、中栓Bに螺合して装着されるねじキャップCを回転することにより、中栓Bから移行栓体13を除去してねじキャップC側に保持する移行栓キャップを打栓により装着する移行栓キャップ付き容器であって、容器本体Aは、口部1の外周に周設され、中栓Bを抜け止めする係止突条2と、係止突条2外周の所定角度範囲に複数の突部3が形成される少なくとも1個所の突部群領域3aと、係止突条2外周の所定角度範囲に突部3が形成されない未突部領域3bと、を備え、中栓Bは、打栓時に、容器本体Aの突部3が内周面6aに食い込む外筒6と、外筒6の内周下部から突設され、係止突条2の下部に係合する係止突部31と、を備えることを特徴とする。
【選択図】 図1
特許請求の範囲
【請求項1】
容器本体の口部に、中栓に螺合して装着されるねじキャップを回転することにより、中栓から移行栓体を除去してねじキャップ側に保持する移行栓キャップを打栓により装着する移行栓キャップ付き容器であって、
容器本体は、口部の外周に周設され、中栓を抜け止めする係止突条と、係止突条外周の所定角度範囲に複数の突部が形成される少なくとも1個所の突部群領域と、係止突条外周の所定角度範囲に突部が形成されない未突部領域と、を備え、
中栓は、打栓時に、容器本体の突部が内周面に食い込む外筒と、外筒の内周下部から突設され、係止突条の下部に係合する係止突部と、を備えることを特徴とする移行栓キャップ付き容器。
続きを表示(約 480 文字)
【請求項2】
容器本体は、未突部領域に突部の高さより高く形成される突出部を少なくとも1個所備えることを特徴とする請求項1に記載の移行栓キャップ付き容器。
【請求項3】
外筒は、係止突部より上方の外周に、外周面から凹設される切欠き凹部と、切欠き凹部の下部に、中栓を容器本体から分離して分別廃棄可能とする分別機構と、を備えることを特徴とする請求項1または2に記載の移行栓キャップ付き容器。
【請求項4】
突部群領域は、60°~120°の範囲に形成することを特徴とする請求項1または2に記載の移行栓キャップ付き容器。
【請求項5】
突部群領域は、60°~120°の範囲に形成することを特徴とする請求項3に記載の移行栓キャップ付き容器。
【請求項6】
未突部領域は、50°~120°の範囲に形成することを特徴とする請求項4に記載の移行栓キャップ付き容器。
【請求項7】
未突部領域は、50°~120°の範囲に形成することを特徴とする請求項5に記載の移行栓キャップ付き容器。
発明の詳細な説明
【技術分野】
【0001】
本発明は、容器本体の口部に移行栓キャップを打栓により装着する移行栓キャップ付き容器に関し、とくに、中栓とねじキャップの共回りを防止できる移行栓キャップ付き容器に関するものである。
続きを表示(約 1,800 文字)
【背景技術】
【0002】
ドレッシングなどの内容物を収容する食品容器として、開封するまで移行栓体を有する中栓により容器本体内を密封状態にし、中栓に螺合して装着されるねじキャップを開蓋方向に回転することにより、中栓から移行栓体を除去してねじキャップ側に保持して開封することができる移行栓キャップは、公知である。
【0003】
しかしながら、移行栓キャップを打栓した移行栓キャップ付き容器は、高温下で保管していた場合、容器本体の口部が径方向外方に変形して容器本体の口部と中栓のトルクが低下することがあり、トルクが低下した際に、中栓がねじキャップと共回りすることにより、中栓から移行栓体を除去できないために、開封できないおそれがあった。
また、ねじキャップと中栓の共回りを防止するため、容器本体の口部に設けた突部を中栓の外筒内周面に食い込ませる構造のキャップ付き容器も従来から知られている(例えば、特許文献1参照)。
【先行技術文献】
【特許文献】
【0004】
実開昭57-37853号公報
【発明の概要】
【発明が解決しようとする課題】
【0005】
そこで、特許文献1記載の共回り防止構造を公知の移行栓キャップに採用すると、ねじキャップと中栓の共回りが防止され、中栓の移行栓体を除去してねじキャップ側に移行させ易くなることが予想される。
【0006】
しかしながら、従来、開封時に一度、ねじキャップを閉蓋方向に回転して開封する移行栓キャップがあったため、使用者によっては、最初にねじキャップを閉蓋方向に強く回転させてしまうことがあり、この場合、ねじキャップと中栓が回転され、容器本体の口部に設けた突部によって中栓の外筒内周面が削れてしまい、削れた部分が広範囲に亘って発生するおそれがあった。
この結果、閉蓋方向に回転の後、開蓋方向に回転させると、削れた部分によって容器本体の口部の突部と中栓の外筒部内面とによる共回り防止機能が損なわれ、中栓から移行栓体を除去してねじキャップ側に移行できないため、開封できなくなるという問題があった。
【0007】
本発明は、上記問題を解決することを課題とし、最初にねじキャップを閉蓋方向に回転しても、その後、開蓋方向に回転すれば、中栓の共回りを防止して開封できる移行栓キャップ付き容器を提供することを目的とする。
【課題を解決するための手段】
【0008】
本発明は、上記の課題を解決するため、移行栓キャップ付き容器として、容器本体の口部に、中栓に螺合して装着されるねじキャップを回転することにより、中栓から移行栓体を除去してねじキャップ側に保持する移行栓キャップを打栓により装着する移行栓キャップ付き容器であって、容器本体は、口部の外周に周設され、中栓を抜け止めする係止突条と、係止突条外周の所定角度範囲に複数の突部が形成される少なくとも1個所の突部群領域と、係止突条外周の所定角度範囲に突部が形成されない未突部領域と、を備え、中栓は、打栓時に、容器本体の突部が内周面に食い込む外筒と、外筒の内周下部から突設され、係止突条の下部に係合する係止突部と、を備えることを特徴とする構成を採用する。
【0009】
移行栓キャップ付き容器の実施形態として、容器本体は、未突部領域に突部の高さより高く形成される突出部を少なくとも1個所備えることを特徴とする構成を採用し、また、外筒は、係止突部より上方の外周に、外周面から凹設される切欠き凹部と、切欠き凹部の下部に、中栓を容器本体から分離して分別廃棄可能とする分別機構と、を備えることを特徴とする構成を採用し、また、突部群領域は、60°~120°の範囲に形成することを特徴とする構成を採用し、また、未突部領域は、50°~120°の範囲に形成することを特徴とする構成を採用する。
【発明の効果】
【0010】
本発明の移行栓キャップ付き容器は、上記構成を採用することにより、開封時に、ねじキャップを容器本体に対して閉蓋方向に回転しても、その後、開蓋方向に回転すれば、中栓が共回りすることなく、中栓に対してねじキャップを確実に回転させて中栓から移行栓体を除去して開封することができる。
【図面の簡単な説明】
(【0011】以降は省略されています)
この特許をJ-PlatPat(特許庁公式サイト)で参照する
関連特許
個人
収容箱
3か月前
個人
コンベア
4か月前
個人
段ボール箱
6か月前
個人
段ボール箱
6か月前
個人
ゴミ収集器
6か月前
個人
容器
9か月前
個人
角筒状構造体
5か月前
個人
土嚢運搬器具
8か月前
個人
宅配システム
6か月前
個人
楽ちんハンド
4か月前
個人
バンド
1か月前
個人
コード類収納具
7か月前
個人
閉塞装置
9か月前
個人
お薬の締結装置
5か月前
個人
廃棄物収容容器
2か月前
個人
包装容器
25日前
株式会社コロナ
梱包材
5か月前
個人
積み重ね用補助具
2か月前
個人
蓋閉止構造
3か月前
個人
把手付米袋
4か月前
個人
蓋閉止構造
3か月前
株式会社バンダイ
物品
6日前
個人
ゴミ処理機
8か月前
株式会社和気
包装用箱
8か月前
個人
貯蔵サイロ
6か月前
個人
搬送システム
6か月前
個人
コード折り畳み器具
3か月前
個人
介護用コップ
1か月前
三甲株式会社
容器
5か月前
個人
袋入り即席麺
6か月前
三甲株式会社
容器
5か月前
三甲株式会社
蓋体
7か月前
株式会社イシダ
搬送装置
6か月前
三甲株式会社
容器
1か月前
三甲株式会社
蓋体
9か月前
株式会社新弘
容器
2か月前
続きを見る
他の特許を見る