TOP
|
特許
|
意匠
|
商標
特許ウォッチ
Twitter
他の特許を見る
公開番号
2025154363
公報種別
公開特許公報(A)
公開日
2025-10-10
出願番号
2024057308
出願日
2024-03-29
発明の名称
郵便ポストと郵便物取集システム
出願人
マクセル株式会社
,
マクセルフロンティア株式会社
代理人
個人
主分類
A47G
29/122 20060101AFI20251002BHJP(家具;家庭用品または家庭用設備;コーヒーひき;香辛料ひき;真空掃除機一般)
要約
【課題】郵便ポストにおいて、高い検知精度で郵便物の投函の有無を確実に検知する。
【解決手段】本発明の郵便ポスト1は、投函された郵便物5が収容される箱状の本体部6と、本体部6の前面に形成されて郵便物5が投函される投函口8と、本体部6内に形成されて、投函口8から投函された郵便物5が通過する投函路9と、本体部6に回動可能に支持されて、投函口8を開閉する扉体10と、扉体10が開姿勢となったことを検知する第1検知装置31と、投函路9内を通過する郵便物5を検知する第2検知装置32とを備える。
【選択図】図1
特許請求の範囲
【請求項1】
投函された郵便物(5)が収容される箱状の本体部(6)と、
本体部(6)の前面に形成されて郵便物(5)が投函される投函口(8)と、
本体部(6)内に形成されて、投函口(8)から投函された郵便物(5)が通過する投函路(9)と、
本体部(6)に回動可能に支持されて、投函口(8)を開閉する扉体(10)と、
扉体(10)が開姿勢となったことを検知する第1検知装置(31)と、
投函路(9)内を通過する郵便物(5)を検知する第2検知装置(32)と、
通信ネットワーク(2)を介して、センターサーバ(3)に向けたデータ送信を行う通信部(42)と、
通信部(42)を含む電気系統を制御する制御部(40)と、
を備え、
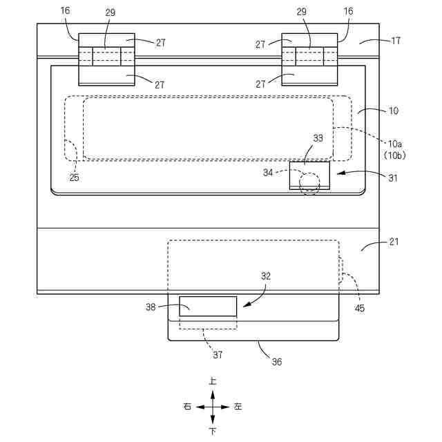
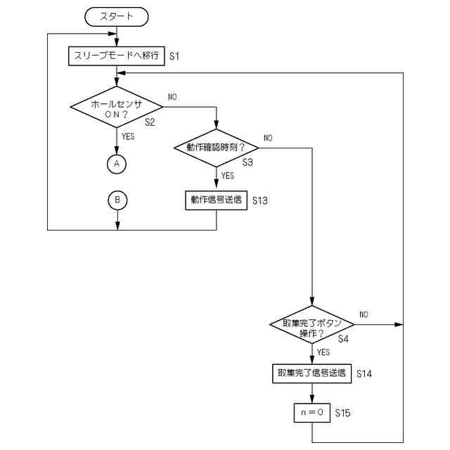
制御部(40)は、第1検知装置(31)により扉体(10)が開姿勢となったことが検知されるとともに、第2検知装置(32)により郵便物(5)が投函路(9)内を通過したことが検知されると、通信部(42)を稼働させてセンターサーバ(3)に向けて郵便物(5)の投函があった旨の情報に係るデータの送信を行うことを特徴とする郵便ポスト。
続きを表示(約 1,300 文字)
【請求項2】
第2検知装置(32)による検知回数をカウントし、当該検知回数を記憶するカウント部(41)と、
取集者による郵便物(5)の取集が完了した際に取集者により押圧操作されると、カウント部(41)に記憶されている検知回数をリセットする取集完了ボタン(45)と、
を備え、
制御部(40)は、第2検知装置(32)により郵便物(5)が投函路(9)内を通過したことが検知されたとき、カウント部(41)により記憶されている検知回数を確認し、カウント部(41)により記憶されている第2検知装置(32)による検知回数が1である場合に、通信部(42)を稼働させてセンターサーバ(3)に向けて郵便物(5)の投函があった旨の情報に係るデータの送信を行い、カウント部(41)に記憶されている第2検知装置(32)による検知回数が2以上である場合には通信部(42)を稼働させないように構成されている、請求項1記載の郵便ポスト。
【請求項3】
第2検知装置(32)は常態においてはスリープ状態にあり、第1検知装置(31)により扉体(10)が開姿勢となったことが検知されると、第2検知装置(32)のスリープ状態が解除されるように構成されている、請求項1記載の郵便ポスト。
【請求項4】
扉体(10)或いは本体部(6)のいずれか一方に磁石(33)が取り付けられ、扉体(10)或いは本体部(6)の他方における扉体(10)が閉姿勢にあるときの当該磁石(33)に対向する位置に磁性体が形成されており、
第1検知装置(31)が、磁石(33)と、磁性体が形成された扉体(10)或いは本体部(6)の他方側に取り付けられた磁気センサ(34)とで構成される、請求項1記載の郵便ポスト。
【請求項5】
第2検知装置(32)が、投函路(9)からの検知光を受光することで、投函路(9)を通過する郵便物(5)を検知する光センサである、請求項1記載の郵便ポスト。
【請求項6】
第2検知装置(32)が、投函路(9)からの赤外線を受光することで、投函路(9)を通過する郵便物(5)を検知する赤外線センサ(37)である、請求項1記載の郵便ポスト。
【請求項7】
扉体(10)は、前方側に変位して前面が投函口(8)を塞ぐ閉姿勢と、閉姿勢よりも後方側に変位して投函口(8)を開く開姿勢との間で回動可能に構成されており、
扉体(10)の前面の投函口(8)に臨む部分に、前方側に突出して閉姿勢において投函口(8)に進入する凸部(10b)が形成されている、請求項1記載の郵便ポスト。
【請求項8】
請求項1に記載の郵便ポスト(1)と、
郵便ポスト(1)と通信ネットワーク(2)を介して接続されたセンターサーバ(3)と、
通信ネットワーク(2)を介してセンターサーバ(3)に接続されて、センターサーバ(3)に集められた投函情報を閲覧できる端末装置(4)と、
を含んで構成される郵便物取集システム。
発明の詳細な説明
【技術分野】
【0001】
本発明は、郵便物が投函されたことを検知する検知機能を備えた郵便ポストと、当該郵便ポストを含む郵便物取集システムに関する。
続きを表示(約 2,100 文字)
【背景技術】
【0002】
郵便ポストの分野において、ポスト内に郵便物が投函されたことを検知する検知機能を付与することは公知の技術である。例えば、特許文献1には、郵便物の挿入口を通過する物体を検知する光センサを備え、この光センサからの検知信号によりポストに投函された郵便物の有無を判別する郵便ポストが開示されている。より具体的には、特許文献1の郵便ポストでは、郵便物挿入口を挟んで対向するように、赤外線照射装置と赤外線センサとが配されており、赤外線照射装置から発せられて、赤外線センサに常時入射される赤外線光が遮られたときに郵便物が挿入口から投函されたと判断している。特許文献2には、郵便物の重さを検出する重量センサ、投函口の開閉を検出する開閉センサ、郵便ポストに投函された郵便物を撮像する画像センサ、郵便ポストに投函された郵便物による光の反射・遮断を捉える光センサ、および郵便ポストに投函された郵便物による超音波の反射・遮断を捉える超音波センサのいずれか一つのセンサを備え、これらセンサからの検知信号によりポストに投函された郵便物の有無を判別する郵便ポストが開示されている。
【先行技術文献】
【特許文献】
【0003】
特開2000-255687号公報
特開2013-252934号公報
【発明の概要】
【発明が解決しようとする課題】
【0004】
特許文献1、2のように、一つのセンサにより郵便物の投函状況を検知する構成では、当該センサがオン信号を発すると、郵便ポストは郵便物が投函されたと判断する。しかし、このように一つのセンサで郵便物の投函状況を検知する構成では、粉塵や雨水の侵入、或いは挿入口に手指を入れるいたずら等により、センサがオン信号を発した場合にも、郵便物が投函されたと誤って判断されるおそれがあり、検知精度が低い点に不利がある。
【0005】
本発明の目的は、郵便物の投函状況を検知し得る検知機能を備える郵便ポストにおいて、より高い検知精度で投函の有無を確実に検知することにある。
本発明の他の目的は、郵便物の投函状況を検知し得る検知機能を備える郵便ポストを含む郵便物収集システムにおいて、より高い検知精度で投函の有無を確実に検知することにある。
【課題を解決するための手段】
【0006】
本発明の郵便ポストは、投函された郵便物5が収容される箱状の本体部6と、本体部6の前面に形成されて郵便物5が投函される投函口8と、本体部6内に形成されて、投函口8から投函された郵便物5が通過する投函路9と、本体部6に回動可能に支持されて、投函口8を開閉する扉体10と、扉体10が開姿勢となったことを検知する第1検知装置31と、投函路9内を通過する郵便物5を検知する第2検知装置32と、通信ネットワーク2を介して、センターサーバ3に向けたデータ送信を行う通信部42と、通信部42を含む電気系統を制御する制御部40と、を備える。制御部40は、第1検知装置31により扉体10が開姿勢となったことが検知されるとともに、第2検知装置32により郵便物5が投函路9内を通過したことが検知されると、通信部42を稼働させてセンターサーバ3に向けて郵便物5の投函があった旨の情報に係るデータの送信を行うことを特徴とする。
【0007】
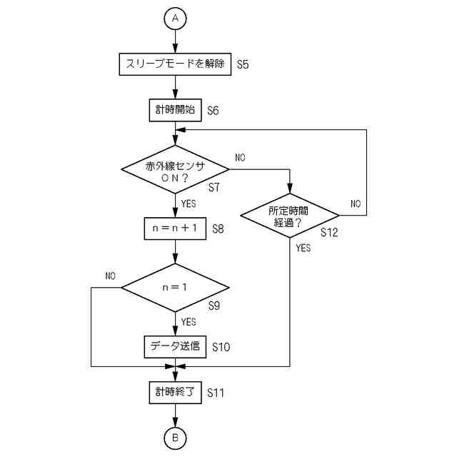
第2検知装置32による検知回数をカウントし、当該検知回数を記憶するカウント部41と、取集者による郵便物5の取集が完了した際に取集者により押圧操作されると、カウント部41に記憶されている検知回数をリセットする取集完了ボタン45と、を備える。制御部40は、第2検知装置32により郵便物5が投函路9内を通過したことが検知されたとき、カウント部41により記憶されている検知回数を確認し、カウント部41により記憶されている第2検知装置32による検知回数が1である場合に、通信部42を稼働させてセンターサーバ3に向けて郵便物5の投函があった旨の情報に係るデータの送信を行い、カウント部41に記憶されている第2検知装置32による検知回数が2以上である場合には通信部42を稼働させないように構成されている。
【0008】
第2検知装置32は常態においてはスリープ状態にあり、第1検知装置31により扉体10が開姿勢となったことが検知されると、第2検知装置32のスリープ状態が解除されるように構成されている。
【0009】
扉体10或いは本体部6のいずれか一方に磁石33が取り付けられ、扉体10或いは本体部6の他方における扉体10が閉姿勢にあるときの当該磁石33に対向する位置に磁性体が形成されており、第1検知装置31が、磁石33と、磁性体が形成された扉体10或いは本体部6の他方側に取り付けられた磁気センサ34とで構成される。
【0010】
第2検知装置32が、投函路9からの検知光を受光することで、投函路9を通過する郵便物5を検知する光センサである。
(【0011】以降は省略されています)
この特許をJ-PlatPat(特許庁公式サイト)で参照する
関連特許
マクセル株式会社
放送信号の処理方法
3日前
マクセル株式会社
郵便ポストと郵便物取集システム
9日前
マクセル株式会社
扁平形非水電解液電池およびその製造方法
10日前
マクセル株式会社
情報処理装置
2日前
マクセル株式会社
表示制御方法
5日前
マクセル株式会社
表示制御方法
2日前
マクセル株式会社
伝送波の処理方法
4日前
マクセル株式会社
ヘッドライト装置
5日前
マクセル株式会社
空間浮遊映像表示装置
5日前
マクセル株式会社
画像読み上げシステム、装置、および方法、ならびに応答出力システム
5日前
マクセル株式会社
コンテンツ保護処理方法
5日前
マクセル株式会社
コンテンツ保護処理方法
5日前
マクセル株式会社
空間浮遊映像表示システム
12日前
マクセル株式会社
アプリケーション起動方法
12日前
マクセル株式会社
デジタル放送変調波の処理方法
5日前
マクセル株式会社
情報表示装置およびその表示方法
5日前
マクセル株式会社
ヘッドマウントディスプレイ装置
5日前
マクセル株式会社
軽度認知障害スクリーニング方法、該方法を伴うコンピュータプログラム及びスクリーニング装置
9日前
マクセル株式会社
近赤外用結像レンズ系、カメラモジュール、車載システム、移動体
2日前
個人
箸
5日前
個人
家具
3か月前
個人
椅子
1か月前
個人
掃除機
7か月前
個人
自助箸
6か月前
個人
体洗い具
9か月前
個人
掃除用具
2か月前
個人
ハンガー
6か月前
個人
掃除道具
7か月前
個人
耳拭き棒
10か月前
個人
屋外用箒
6か月前
個人
枕
4か月前
個人
枕
7か月前
個人
多用途紐
2日前
個人
ソファー
1か月前
個人
開閉トング
5か月前
個人
掃除シート
8か月前
続きを見る
他の特許を見る