TOP
|
特許
|
意匠
|
商標
特許ウォッチ
Twitter
他の特許を見る
10個以上の画像は省略されています。
公開番号
2025159081
公報種別
公開特許公報(A)
公開日
2025-10-17
出願番号
2025132834,2023533017
出願日
2025-08-08,2021-07-09
発明の名称
表示制御方法
出願人
マクセル株式会社
代理人
弁理士法人武和国際特許事務所
主分類
G01B
11/00 20060101AFI20251009BHJP(測定;試験)
要約
【課題】より好適に物体の物理量を算出及び通知が行える表示制御方法を提供する。
【解決手段】表示装置(100)における表示制御方法であって、表示装置のカメラ(111)により生成された撮像画像に含まれる現実物体の種別を検出し、現実物体上の複数の計測点のそれぞれについて、各計測点までの距離を測定し、その距離に基づいて現実物体の3次元形状を認識して体積を推定し、現実物体の必要質量の入力を受け付け、現実物体の種別に対応した密度に必要質量に対応する必要体積を算出し、現実物体の3次元形状のうち、算出した必要体積に応じた領域を算出してその領域を示す目安マーカ画像を現実物体に重畳するように表示装置のディスプレイ(102)に表示する。
【選択図】図1
特許請求の範囲
【請求項1】
表示装置における表示制御方法であって、
前記表示装置のカメラにより生成された撮像画像に含まれる現実物体の種別を検出するステップと、
前記現実物体上の複数の計測点のそれぞれについて、各計測点までの距離を測定するステップと、
前記各計測点までの距離に基づいて前記現実物体の3次元形状を認識するステップと、
前記現実物体の3次元形状に基づいて前記現実物体の体積を推定するステップと、
前記現実物体の必要な質量である必要質量の入力を受け付けるステップと、
前記検出した現実物体の種別に対応した密度に基づいて前記受け付けた必要質量に対応する必要体積を算出するステップと、
前記推定した現実物体の体積に基づき、前記現実物体の3次元形状のうち、前記算出した必要体積に応じた領域を算出するステップと、
前記算出した領域を示す目安マーカ画像を前記現実物体に重畳するように前記表示装置のディスプレイに表示するステップと、
を有する表示制御方法。
続きを表示(約 930 文字)
【請求項2】
請求項1に記載の表示制御方法であって、
前記撮像画像は、前記カメラにより前記表示装置の外界風景を撮像した画像である表示制御方法。
【請求項3】
請求項1に記載の表示制御方法であって、
前記表示装置は、ヘッドマウントディスプレイまたはスマートグラスであり、
前記撮像画像は、前記カメラにより前記表示装置を装着したユーザの視界を撮像した画像である表示制御方法。
【請求項4】
請求項1から請求項3のいずれか1項に記載の表示制御方法であって、
前記検出した現実物体の種別に対応した密度と前記推定した現実物体の体積に基づき前記現実物体の質量を算出するステップと、
前記現実物体の質量を示す画像を前記ディスプレイに表示するステップと、
を有する表示制御方法。
【請求項5】
請求項1から請求項3のいずれか1項に記載の表示制御方法であって、
複数の必要質量の入力を受け付けるステップと、
前記複数の必要質量のそれぞれを示す複数の目安マーカ画像を前記現実物体に重畳するように前記ディスプレイに表示するステップと、
を有する表示制御方法。
【請求項6】
請求項5に記載の表示制御方法であって、
前記複数の必要質量を示す計量結果欄を示す拡張現実画像を更に前記ディスプレイに表示するステップ、
を有する表示制御方法。
【請求項7】
請求項1から請求項3のいずれか1項に記載の表示制御方法であって、
表示位置切替指示の入力を受け付けると、前記目安マーカ画像と異なる新たな目安マーカを示す画像を前記現実物体に重畳するように前記ディスプレイに表示するステップ、
を有する表示制御方法。
【請求項8】
請求項1から請求項3のいずれか1項に記載の表示制御方法であって、
前記各計測点までの距離に基づいて前記現実物体の3次元形状が認識できない場合、異なる角度からの前記現実物体の撮像を前記表示装置のユーザに促す通知を行うステップ、
を有する表示制御方法。
発明の詳細な説明
【技術分野】
【0001】
本発明は、表示制御方法に関する。
続きを表示(約 2,100 文字)
【背景技術】
【0002】
特許文献1には、計量アシスト機能を備えた情報処理装置の一例として、「センサにより検出された信号に基づいて、調理対象の食材及び調理に使用する調味料の少なくともいずれかの使用量を推定する推定部と、前記推定部による推定結果に応じて、所定の調理指標を算出する指標算出部と、前記指標算出部により算出された調理指標を通知するよう制御する通知制御部と、を備える、情報処理装置(要約抜粋)」が開示されている。
【先行技術文献】
【特許文献】
【0003】
国際公開第2014/132521号
【発明の概要】
【発明が解決しようとする課題】
【0004】
上記特許文献1では、撮像や外部調理器具に設置した匂いセンサや各種濃度センサ(塩分センサや糖分センサ)により得られた情報をもとに物体の識別及び質量の推定を行うため、例えば、複数の異なる物体が同色かつ前記センサにより検出した情報から差異が認められない場合は、各物体を判別することができない。またセンサを設置した外部機器を別途準備する必要がある。
【0005】
加えて、撮像により得られる情報は2次元情報であるため、対象物の大きさを正確に把握できず、質量の推定値が実際の値に対して大きく乖離してしまう恐れがある。
【0006】
そこで、本発明では、より好適に物体の物理量を算出及び通知が行える表示制御方法を提供することを目的とする。
【課題を解決するための手段】
【0007】
上記課題を解決するために、本発明は請求の範囲に記載の構成を備える。その一例をあげるなら、本発明は、表示装置における表示制御方法であって、前記表示装置のカメラにより生成された撮像画像に含まれる現実物体の種別を検出するステップと、前記現実物体上の複数の計測点のそれぞれについて、各計測点までの距離を測定するステップと、前記各計測Q点までの距離に基づいて前記現実物体の3次元形状を認識するステップと、前記現実物体の3次元形状に基づいて前記現実物体の体積を推定するステップと、前記現実物体の必要な質量である必要質量の入力を受け付けるステップと、前記検出した現実物体の種別に対応した密度に基づいて前記受け付けた必要質量に対応する必要体積を算出するステップと、前記推定した現実物体の体積に基づき、前記現実物体の3次元形状のうち、前記算出した必要体積に応じた領域を算出するステップと、前記算出した領域を示す目安マーカ画像を前記現実物体に重畳するように前記表示装置のディスプレイに表示するステップと、を有する。
【発明の効果】
【0008】
本発明によれば、より好適に物体の物理量を算出及び通知が行える表示制御方法を提供することができる。なお、上記した以外の課題、構成及び効果は、以下の実施形態の説明により明らかにされる。
【図面の簡単な説明】
【0009】
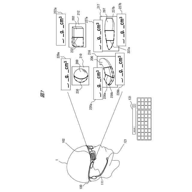
第1実施形態に係る拡張現実表示装置の概要を示す図。
HMDのハードウェア構成図である。
HMDのプロセッサが実行する計量アシストプログラムの構成の一例を示すブロック図。
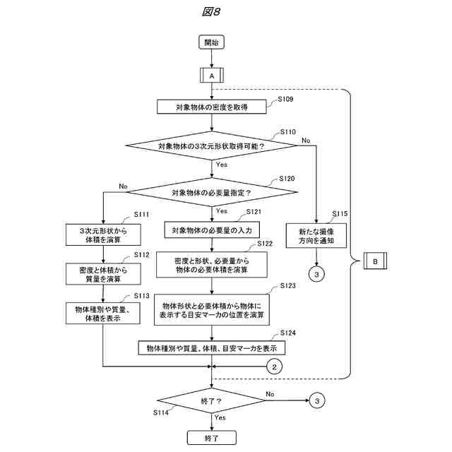
第1実施形態に係るHMDの動作を示すフローチャート。
第1実施形態に係るHMDの動作を示すフローチャート。
再スキャン通知の表示例を示す図。
第2実施形態に係る拡張現実表示装置の概要を示す図。
第2実施形態に係るHMDの動作を示すフローチャート。
目安マーカの表示位置切替例を示す図。
第3実施形態に係る拡張現実表示装置の概要を示す図。
第3実施形態に係る拡張現実表示装置の概要を示す図。
第3実施形態の変形で使用される画面表示例を示す図。
第3実施形態の変形例の動作を示すフローチャート。
拡張現実表示システムの構成例を示す図。
拡張現実表示システムの構成例を示す図。
HMDからの情報出力例を示す図。
HMDからの情報出力例を示す図。
拡張現実表示システムの例を示す図。
複数の対象物体がある場合のAR画像表示例を示す図。
複数の対象物体がある場合のAR画像表示例を示す図。
複数の対象物体が重なって視認できる状況におけるAR表示例を示す図。
【発明を実施するための形態】
【0010】
本発明は、例えば、労働集約型の産業に対して多様化や技術の向上が見込めることから、国連の提唱する持続可能な開発目標(SDGs:Sustainable Development Goals)の8.2(商品やサービスの価値をより高める産業や、労働集約型の産業を中心に、多様化、技術の向上、イノベーションを通じて、経済の生産性をあげる)に貢献する。以下、本発明の実施形態の例を、図面を用いて説明する。全図を通じて同一の構成には同一の符号を付し、重複説明を省略する。
(【0011】以降は省略されています)
この特許をJ-PlatPat(特許庁公式サイト)で参照する
関連特許
マクセル株式会社
放送信号の処理方法
4日前
マクセル株式会社
郵便ポストと郵便物取集システム
10日前
マクセル株式会社
扁平形非水電解液電池およびその製造方法
11日前
マクセル株式会社
情報処理装置
3日前
マクセル株式会社
表示制御方法
6日前
マクセル株式会社
表示制御方法
3日前
マクセル株式会社
伝送波の処理方法
5日前
マクセル株式会社
ヘッドライト装置
6日前
マクセル株式会社
画像読み上げシステム、装置、および方法、ならびに応答出力システム
6日前
マクセル株式会社
空間浮遊映像表示装置
6日前
マクセル株式会社
コンテンツ保護処理方法
6日前
マクセル株式会社
コンテンツ保護処理方法
6日前
マクセル株式会社
アプリケーション起動方法
13日前
マクセル株式会社
空間浮遊映像表示システム
13日前
マクセル株式会社
デジタル放送変調波の処理方法
6日前
マクセル株式会社
ヘッドマウントディスプレイ装置
6日前
マクセル株式会社
情報表示装置およびその表示方法
6日前
マクセル株式会社
軽度認知障害スクリーニング方法、該方法を伴うコンピュータプログラム及びスクリーニング装置
10日前
マクセル株式会社
ICモジュール、並びに、このICモジュールを備えるインレット、非接触ICカード、RFIDタグ
13日前
マクセル株式会社
近赤外用結像レンズ系、カメラモジュール、車載システム、移動体
3日前
個人
メジャー文具
13日前
個人
アクセサリー型テスター
6日前
個人
高精度同時多点測定装置
5日前
日本精機株式会社
位置検出装置
19日前
日本精機株式会社
位置検出装置
19日前
ユニパルス株式会社
ロードセル
12日前
日本精機株式会社
位置検出装置
19日前
アズビル株式会社
圧力センサ
18日前
株式会社ヨコオ
ソケット
12日前
株式会社ヨコオ
ソケット
11日前
ダイキン工業株式会社
監視装置
10日前
トヨタ自動車株式会社
監視装置
11日前
株式会社チノー
放射光測温装置
12日前
エイブリック株式会社
磁気センサ回路
18日前
株式会社ユーシン
操作検出装置
21日前
トヨタ自動車株式会社
検査装置
21日前
続きを見る
他の特許を見る