TOP
|
特許
|
意匠
|
商標
特許ウォッチ
Twitter
他の特許を見る
10個以上の画像は省略されています。
公開番号
2025148456
公報種別
公開特許公報(A)
公開日
2025-10-07
出願番号
2025116553,2024114868
出願日
2025-07-10,2014-05-12
発明の名称
アプリケーション起動方法
出願人
マクセル株式会社
代理人
弁理士法人筒井国際特許事務所
主分類
H04N
21/431 20110101AFI20250930BHJP(電気通信技術)
要約
【課題】より付加価値の高い機能を実行可能なデジタル放送受信機を提供すること。
【解決手段】放送受信装置は、デジタル放送サービスの放送波を受信し、アプリケーション制御情報に基づいてアプリケーションの起動及び終了を含む動作を制御し、複数の種類のアプリケーションの起動及び終了を含む動作に関する制御をユーザーの操作に基づいて選択する。放送受信装置は、第1のアプリケーション(放送外アプリや一般アプリ)の実行中に第2のアプリケーション(放送マネージドアプリ)の起動が要求されている場合、ユーザーによる制御の選択に応じて、第1のアプリケーションの終了または継続と、第2のアプリケーションの起動または非起動との少なくとも一方を制御する。
【選択図】図28
特許請求の範囲
【請求項1】
放送受信装置におけるアプリケーション起動方法であって、
デジタル放送信号を前記放送受信装置が受信する放送受信ステップと、
前記放送受信ステップで受信した前記デジタル放送信号に含まれる放送番組の映像を前記放送受信装置に表示する表示ステップと、
前記放送受信ステップで受信した前記デジタル放送信号に含まれるアプリケーション関連情報に基づいて、放送番組と連携する放送マネージドアプリケーションを前記放送受信装置において実行するアプリケーション実行ステップと、
前記放送受信ステップで受信した前記デジタル放送信号に基づいてデータ放送の実行を制御するデータ放送処理ステップと、
を備え、
前記放送受信ステップで受信したデジタル放送信号に含まれるPMT(Program Map Table)情報がデータ放送の起動優先度が高いことを示している場合には、前記アプリケーション実行ステップにおける前記放送マネージドアプリケーションの実行よりも前記データ放送処理ステップにおける前記データ放送の実行を優先するものであり、
前記データ放送処理ステップでは、前記放送受信装置に前記放送マネージドアプリケーションを起動するためのエントリーボタンを表示するように制御し、
前記データ放送処理ステップにより前記データ放送の実行中に、前記放送マネージドアプリケーションの起動指示として前記エントリーボタンを操作するための指示が受信された場合は、前記実行中のデータ放送を終了して、前記アプリケーション実行ステップにより前記アプリケーション関連情報に基づいて前記放送マネージドアプリケーションを起動し、
前記データ放送処理ステップでは、前記放送受信装置が前記放送マネージドアプリケーションを実行可能であることを確認した場合に、前記エントリーボタンを前記放送受信装置に表示するよう制御する、
アプリケーション起動方法。
発明の詳細な説明
【技術分野】
【0001】
本発明は、アプリケーション起動方法に関する。
続きを表示(約 2,900 文字)
【背景技術】
【0002】
デジタル放送サービスの拡張機能の一つに、放送波でデジタルデータを送信し、天気予報やニュース、おすすめ番組等の各種情報を表示するデータ放送がある。データ放送を受信可能なテレビ受信機は既に多数市販されており、また、データ放送受信に関する技術も下記特許文献1をはじめ多数が公表されている。
【先行技術文献】
【特許文献】
【0003】
特開2001-186486公報
【発明の概要】
【発明が解決しようとする課題】
【0004】
データ放送の特徴として、デジタル放送サービスに対応しているテレビ受信機では、単体でデータ放送の受信が可能であり、さまざまな情報を取得/表示することが可能であることが挙げられる。一方、データ放送は電波帯域の制限により送信可能なデータ量が限られるため、高精細な画面表示や高機能なエフェクトを得ることが難しく、このため、付加価値の高い有用な機能を現行のデジタル放送受信機で実行することが難しいという課題があった。
【0005】
本発明の目的は、より付加価値の高い機能を実行可能なデジタル放送受信機を提供することである。
【課題を解決するための手段】
【0006】
前記課題を解決するための手段として、特許請求の範囲に記載の技術を用いる。
一例を挙げるならば、請求項1に記載の技術を用いる。
【発明の効果】
【0007】
本発明の技術を用いることにより、より付加価値の高い機能を実行可能なデジタル放送受信機を提供することができる。
【図面の簡単な説明】
【0008】
実施例に係る通信システムのシステム構成図。
実施例に係る放送受信装置のブロック図。
実施例に係る放送受信装置のソフトウェア構成図。
実施例に係る放送局サーバのブロック図。
実施例に係るサービス事業者サーバのブロック図。
実施例に係る携帯情報端末のブロック図。
実施例に係る携帯情報端末のソフトウェア構成図。
実施例に係るアプリケーション制御情報のデータ構成図。
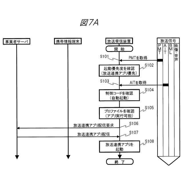
実施例に係る放送受信装置のアプリケーション起動時の動作シーケンス図。
実施例に係る放送受信装置のアプリケーション起動時の動作シーケンス図。
実施例に係る放送受信装置のアプリケーション起動時の動作シーケンス図。
実施例に係る携帯情報端末の連携時の動作シーケンス図。
実施例に係る携帯情報端末の連携時の動作シーケンス図。
実施例に係る携帯情報端末の連携時の動作シーケンス図。
実施例に係る放送受信装置及び携帯情報端末のアプリケーション起動時の動作シーケンス図。
実施例に係る携帯情報端末の連携制御アプリの基本画面の画面表示図。
実施例に係る携帯情報端末の連携制御アプリの基本画面の画面表示図。
実施例に係る放送受信装置のデータ放送画面の画面表示図。
実施例に係る放送受信装置の報知画面の画面表示図。
実施例に係る放送受信装置の放送連携アプリランチャの画面表示図。
実施例に係る放送受信装置の放送連携アプリ実行画面の画面表示図。
実施例に係る放送受信装置の放送連携アプリ実行画面の画面表示図。
実施例に係る放送受信装置の放送連携アプリ実行画面の画面表示図。
実施例に係る放送受信装置の放送連携アプリ実行画面の画面表示図。
実施例に係る放送受信装置のエラー表示画面の画面表示図。
実施例に係る携帯情報端末の放送連携アプリ実行画面の画面表示図。
実施例に係る放送受信装置のEPG表示画面の画面表示図。
実施例に係る放送受信装置のEPG表示画面の詳細情報の図。
実施例に係る放送受信装置の放送連携アプリ取得時の動作シーケンス図。
実施例に係る端末連携時の動作シーケンス図。
実施例に係る端末連携時の動作シーケンス図。
実施例に係る端末連携時の動作シーケンス図。
実施例に係る端末連携時の動作シーケンス図。
実施例に係る放送受信装置の放送連携アプリランチャの画面表示図。
実施例に係る放送受信装置の放送連携アプリランチャの画面表示図。
実施例に係る放送受信装置の放送連携アプリランチャの画面表示図。
実施例に係る放送受信装置の放送連携アプリランチャの画面表示図。
実施例に係る放送受信装置の画面表示図。
実施例に係る携帯情報端末の放送連携アプリランチャの画面表示図。
実施例に係る放送受信装置を含むシステム構成及び利用例を示す図。
実施例に係る放送受信装置の放送連携アプリ起動時の動作シーケンス図。
実施例に係る放送受信装置の放送連携アプリ起動時の動作シーケンス図。
実施例に係る放送受信装置の放送連携アプリ起動時の動作シーケンス図。
実施例に係る放送受信装置の起動可否確認画面の画面表示図。
実施例に係る放送受信装置のユーザー設定画面の画面表示図。
実施例に係る放送受信装置を含むシステム構成及び利用例を示す図。
実施例に係る複数の種類のアプリ及びアプリ間の遷移等の例を示す図。
実施例に係る放送受信装置の放送連携アプリ起動時の動作シーケンス図。
実施例に係る放送番組の再生及びアプリの実行の制御例を示す図。
実施例に係る放送受信装置の起動選択画面の例の画面表示図。
実施例に係る放送受信装置の起動選択画面の例の画面表示図。
実施例に係る放送受信装置の複数アプリ実行画面の例の画面表示図。
実施例に係る放送受信装置の複数アプリ実行画面の例の画面表示図。
【発明を実施するための形態】
【0009】
以下、本発明の実施形態の例を、図面を用いて説明する。
【実施例】
【0010】
先ず、本実施例の放送受信装置で受信可能なデジタル放送サービスの一例を説明する。
例えば、本実施例の放送受信装置で受信可能なBS/地上デジタル放送の一例では、一つのトランスポンダ(周波数チャンネル)に複数のトランスポートストリーム(Transport Stream:TS)を多重化して伝送可能である。TSは、映像/音声エレメンタリストリーム(Elementary Stream:ES)やプログラム固有情報(Program Specific Information:PSI)/サービス情報(Service Information:SI)等のデータ列を分割してTSヘッダを付加した所定長のTSパケットの連続である。
(【0011】以降は省略されています)
この特許をJ-PlatPat(特許庁公式サイト)で参照する
関連特許
マクセル株式会社
郵便ポストと郵便物取集システム
3日前
マクセル株式会社
扁平形非水電解液電池およびその製造方法
4日前
マクセル株式会社
放送受信装置
10日前
マクセル株式会社
システムおよび方法
10日前
マクセル株式会社
コンテンツ保護処理方法
10日前
マクセル株式会社
コンテンツ保護処理方法
10日前
マクセル株式会社
コンテンツ保護処理方法
10日前
マクセル株式会社
コンテンツ保護処理方法
10日前
マクセル株式会社
アプリケーション起動方法
6日前
マクセル株式会社
空間浮遊映像表示システム
6日前
マクセル株式会社
軽度認知障害スクリーニング方法、該方法を伴うコンピュータプログラム及びスクリーニング装置
3日前
マクセル株式会社
ICモジュール、並びに、このICモジュールを備えるインレット、非接触ICカード、RFIDタグ
6日前
WHISMR合同会社
収音装置
1か月前
サクサ株式会社
中継装置
4日前
サクサ株式会社
中継装置
5日前
キヤノン株式会社
撮像装置
1か月前
アイホン株式会社
電気機器
26日前
個人
ワイヤレスイヤホン対応耳掛け
24日前
キヤノン電子株式会社
画像読取装置
1か月前
株式会社リコー
画像形成装置
1か月前
サクサ株式会社
無線通信装置
4日前
サクサ株式会社
無線通信装置
4日前
株式会社リコー
画像形成装置
2か月前
株式会社リコー
画像形成装置
1か月前
サクサ株式会社
無線システム
3日前
個人
発信機及び発信方法
3日前
ブラザー工業株式会社
読取装置
2か月前
キヤノン株式会社
撮像システム
26日前
株式会社ニコン
撮像装置
2か月前
パテントフレア株式会社
超高速電波通信
1か月前
株式会社小糸製作所
画像照射装置
1か月前
DXO株式会社
情報処理システム
2か月前
大日本印刷株式会社
写真撮影装置
25日前
国立大学法人電気通信大学
小型光学装置
1か月前
沖電気工業株式会社
画像形成装置
6日前
パテントフレア株式会社
水中電波通信法
2か月前
続きを見る
他の特許を見る