TOP
|
特許
|
意匠
|
商標
特許ウォッチ
Twitter
他の特許を見る
公開番号
2025155531
公報種別
公開特許公報(A)
公開日
2025-10-14
出願番号
2024138990,2024052872
出願日
2024-08-20,2024-03-28
発明の名称
飲食店用移動体および飲食店用搬送システム
出願人
くら寿司株式会社
代理人
個人
,
個人
主分類
A47G
23/08 20060101AFI20251002BHJP(家具;家庭用品または家庭用設備;コーヒーひき;香辛料ひき;真空掃除機一般)
要約
【課題】来店客の注目を十分且つ適切に集めることが可能な飲食店用移動体および飲食店用搬送システムを提供する。
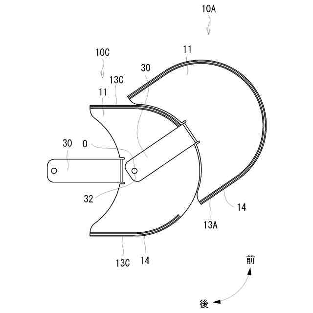
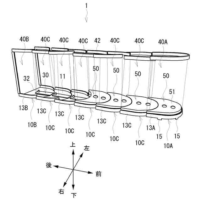
【解決手段】飲食店用移動体1は、複数の支持体10と、複数の連結部30を備える。各々の支持体10は、搬送路上に載置されると共に、物体を支持することができる。各々の連結部30は、複数の支持体10のうち、互いに隣接する一対の支持体10の各々に接続または固定されることで、一方の支持体10に対して他方の支持体10を、少なくとも鉛直方向に延びる軸を中心として回動可能に連結する。互いに隣接する一対の支持体10をセットとして、複数の連結部30の各々が、複数の支持体10のセットを連続して長尺状に連結することで、連結された複数の支持体10が搬送路のカーブに沿って蛇行して移動する。
【選択図】図2
特許請求の範囲
【請求項1】
飲
食物を搬送可能な搬送路上に載置されることで、前記搬送路の経路に沿って搬送される飲食店用移動体であって、
前記搬送路の搬送方向に沿う方向の長さが、前記搬送路の幅の2倍よりも長い長尺状の連続した上面を有し、長尺方向が前記搬送方向に一致した状態で前記搬送路上に載置されると共に、前記搬送路の幅の2倍よりも長い長尺状の物体であって、来店客に向けて報知又は演出を行うために設けられる物体を支持することが可能な支持体を備えた
ことを特徴とする飲食店用移動体。
続きを表示(約 310 文字)
【請求項2】
飲食物を搬送する飲食店用搬送システムであって、
搬送路上に載置された物体を搬送する搬送装置と、
前記搬送路上に載置されることで、前記搬送路の経路に沿って搬送される飲食店用移動体と、
を備え、
前記飲食店用移動体は、
前記搬送路の搬送方向に沿う方向の長さが、前記搬送路の幅の2倍よりも長い長尺状の連続した上面を有し、長尺方向が前記搬送方向に一致した状態で前記搬送路上に載置されると共に、前記搬送路の幅の2倍よりも長い長尺状の物体であって、来店客に向けて報知又は演出を行うために設けられる物体を支持することが可能な支持体を備えたことを特徴とする飲食店用搬送システム。
発明の詳細な説明
【技術分野】
【0001】
本開示は、搬送装置によって搬送される飲食店用移動体、および、飲食店用移動体を備えた飲食店用搬送システムに関する。
続きを表示(約 2,100 文字)
【背景技術】
【0002】
飲食店(例えば回転寿司店等)では、搬送路上で飲食物等を搬送する搬送装置が使用される場合がある。搬送路上に載置された飲食物等は、搬送装置によって来店客の飲食スペースに搬送される。近年では、飲食店は、飲食物以外の種々の移動体を搬送装置によって搬送させる場合も多い。例えば、お勧めのメニュー等が掲載された案内物を搬送装置に搬送させることで、搬送路の近傍の来店客の意識を、搬送路上を移動する案内物に向けさせる試みも行われている。
【0003】
例えば、特許文献1に記載のシステムは、表示手段を備えた案内装置を搬送路上に載せて搬送する。案内装置の表示手段には、例えば、通信端末を介して来店客によって送信された画像およびメッセージ等が表示される。来店客は、搬送路上を搬送されている搬送物の中から、自分が送信した表示データが表示されている案内装置を見つけることで、自分が注文した飲食物を把握する。
【先行技術文献】
【特許文献】
【0004】
特開2008-293322号公報
【発明の概要】
【発明が解決しようとする課題】
【0005】
しかしながら、従来の技術では、搬送装置によって搬送させる移動体の、搬送路に沿う方向の長さを長くすると、特にカーブしている経路の通過時等に、移動体の搬送路からの離脱、搬送路外の物体への接触、および移動体の転倒等の不具合が生じてしまう。従って、従来の技術では、特許文献1に記載のように、搬送装置によって搬送させる移動体の長さを制限せざるを得ず、来店客の意識を十分に案内物に向けさせることは困難であった。長さが短い移動体を、搬送路上に複数並べて搬送させることも考えられる。しかし、この場合でも、複数の移動体を分離せざるを得ないので、見栄えが良いとは言い難く、一体感も乏しく、来店客に与えるインパクトも弱い。以上のように、従来の技術では、来店客の注目を十分且つ適切に搬送路上の移動体に集めることは困難であった。
【0006】
本開示の典型的な目的は、上記の課題の少なくともいずれかを解決することで、来店客の注目を十分且つ適切に集めることが可能な飲食店用移動体および飲食店用搬送システムを提供することである。
【課題を解決するための手段】
【0007】
本開示における典型的な実施形態が提供する飲食店用移動体は、
飲
食物を搬送可能な搬送路上に載置されることで、前記搬送路の経路に沿って搬送される飲食店用移動体であって、
前記搬送路の搬送方向に沿う方向の長さが、前記搬送路の幅の2倍よりも長い長尺状の連続した上面を有し、長尺方向が前記搬送方向に一致した状態で前記搬送路上に載置されると共に、前記搬送路の幅の2倍よりも長い長尺状の物体であって、来店客に向けて報知又は演出を行うために設けられる物体を支持することが可能な支持体を備える
。
【0008】
本開示における典型的な実施形態が提供する飲食店用搬送システムの第1態様は、飲食物を搬送する飲食店用搬送システムであって、カーブを有する搬送路上に載置された物体を搬送する搬送装置と、前記搬送路上に載置されることで、前記搬送路の経路に沿って搬送される飲食店用移動体と、を備え、前記飲食店用移動体は、前記搬送路上に載置されると共に、物体を支持することが可能な複数の支持体と、複数の前記支持体のうち、互いに隣接する一対の前記支持体の各々に接続または固定されることで、一方の前記支持体に対して他方の前記支持体を、少なくとも鉛直方向に延びる軸を中心として回動可能に連結する連結部と、を備え、互いに隣接する一対の前記支持体をセットとして、複数の前記連結部の各々が、複数の前記支持体のセットを連続して長尺状に連結することで、連結された複数の前記支持体が前記搬送路のカーブに沿って蛇行して移動する。
【0009】
本開示における典型的な実施形態が提供する飲食店用搬送システムの第2態様は、飲食物を搬送する飲食店用搬送システムであって、搬送路上に載置された物体を搬送する搬送装置と、前記搬送路上に載置されることで、前記搬送路の経路に沿って搬送される飲食店用移動体と、を備え、前記飲食店用移動体は、前記搬送路の搬送方向に沿う方向の長さが、前記搬送路の幅の2倍よりも長い長尺状の連続した上面を有し、長尺方向が前記搬送方向に一致した状態で前記搬送路上に載置されると共に、前記搬送路の幅の2倍よりも長い長尺状の物体であって、来店客に向けて報知又は演出を行うために設けられる物体を支持することが可能な支持体を備える。
【0010】
本開示に係る飲食店用移動体および飲食店用搬送システムによると、来店客の注目を十分且つ適切に集めることができる。
【図面の簡単な説明】
(【0011】以降は省略されています)
この特許をJ-PlatPat(特許庁公式サイト)で参照する
関連特許
くら寿司株式会社
飲食店用移動体および飲食店用搬送システム
9日前
くら寿司株式会社
連結具
1か月前
くら寿司株式会社
飲食店用移動体および飲食店用搬送システム
4日前
個人
箸
4日前
個人
家具
3か月前
個人
椅子
1か月前
個人
掃除機
7か月前
個人
自助箸
5か月前
個人
体洗い具
9か月前
個人
掃除用具
2か月前
個人
ハンガー
6か月前
個人
掃除道具
7か月前
個人
耳拭き棒
10か月前
個人
屋外用箒
6か月前
個人
枕
4か月前
個人
枕
7か月前
個人
多用途紐
1日前
個人
ソファー
29日前
個人
開閉トング
5か月前
個人
掃除シート
8か月前
個人
物品
2か月前
個人
組立式棚板
6か月前
個人
エコ掃除機
11か月前
個人
省煙消臭器
7か月前
個人
片手代替具
10か月前
個人
ゴミ袋保持枠
6か月前
個人
中身のない枕
6か月前
個人
靴ベラ
1か月前
個人
転倒防止装置
4か月前
個人
バターナイフ
4日前
個人
シャワー装置
5か月前
個人
紙コップ 蓋
1か月前
個人
洗面台
9か月前
個人
受け皿
4か月前
個人
経典表示装置
3か月前
個人
矯正用枕
3か月前
続きを見る
他の特許を見る