TOP
|
特許
|
意匠
|
商標
特許ウォッチ
Twitter
他の特許を見る
公開番号
2025156938
公報種別
公開特許公報(A)
公開日
2025-10-15
出願番号
2024059715
出願日
2024-04-02
発明の名称
モータ
出願人
ミネベアミツミ株式会社
代理人
アインゼル・フェリックス=ラインハルト
,
個人
,
個人
主分類
H02K
1/14 20060101AFI20251007BHJP(電力の発電,変換,配電)
要約
【課題】起動時のトルクを向上する。
【解決手段】モータ1は、ロータ42と、単相のステータ2と、を備え、ステータ2は、径方向において、ロータ42に対向する磁極部24を有する。磁極部24は、回転軸41の軸線x方向に積み重なった複数の磁性体21を備え、複数の磁性体21のうち、重なり合う2つの磁性体21の面には嵌合部28が形成されている。複数の磁性体21は、周方向において、互いに逆方向に突出する2つの突出部241,242を備える。周方向において、2つの突出部241,242のうち、一方の突出部241の端部から嵌合部28までの距離は、他方の突出部242の端部から嵌合部28までの距離より大きい。
【選択図】図3
特許請求の範囲
【請求項1】
ロータと、
単相のステータと、を備え、
径方向において、前記ステータは、前記ロータに対向する磁極部を有し、
前記磁極部は、回転軸方向に積み重なった複数の磁性体を備え、
前記複数の磁性体のうち、重なり合う2つの磁性体の面には嵌合部が形成されており、
前記複数の磁性体は、周方向において、互いに逆方向に突出する2つの突出部を備え、
周方向において、前記2つの突出部のうち、一方の突出部の端部から前記嵌合部までの距離は、他方の突出部の端部から前記嵌合部までの距離より大きい、モータ。
続きを表示(約 280 文字)
【請求項2】
径方向において、前記ロータの側面と前記磁極部の側面との間には磁気ギャップが形成され、
前記磁気ギャップの幅は、周方向において、前記一方の突出部から前記他方の突出部にかけて一定である、
請求項1に記載のモータ。
【請求項3】
前記ロータの側面の中心と前記磁極部の側面の中心は同じである、
請求項1または2に記載のモータ。
【請求項4】
前記ステータは、
環状の部分と、前記環状の部分及び前記磁極部に繋がる複数の枝とを有する、
請求項1または2に記載のモータ。
発明の詳細な説明
【技術分野】
【0001】
本発明は、モータに関する。
続きを表示(約 1,000 文字)
【背景技術】
【0002】
単相モータにおいて、複数の磁極を有するロータと、磁極数と同数のティースを有するステータとを備える構造が知られている(特許文献1参照)。
【先行技術文献】
【特許文献】
【0003】
国際公開第2019/077716号
【発明の概要】
【発明が解決しようとする課題】
【0004】
ところで、単相モータにおいて、起動時の回転方向を決定するため、ステータのティースの一部をマグネットから生じる磁界から遠ざけることにより、ティースの中央にマグネットの中央が位置しないようにしていた。
【0005】
しかしながら、単相モータにおいて、マグネットからティースが遠ざかることで、単相モータを駆動する際に必要なトルクが不足する場合があった。
【0006】
本発明は、上述の課題を一例とするものであり、起動時のトルクを向上することができるモータを提供することを目的とする。
【課題を解決するための手段】
【0007】
上記目的を達成するために、本発明に係るモータは、ロータと、単相のステータと、を備え、前記ステータは、径方向において、前記ロータに対向する磁極部を有し、前記磁極部は、回転軸方向に積み重なった複数の磁性体を備え、前記複数の磁性体のうち、重なり合う2つの磁性体の面には嵌合部が形成されており、前記複数の磁性体は、周方向において、互いに逆方向に突出する2つの突出部を備え、周方向において、前記2つの突出部のうち、一方の突出部の端部から前記嵌合部までの距離は、他方の突出部の端部から前記嵌合部までの距離より大きい。
【図面の簡単な説明】
【0008】
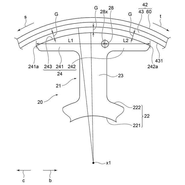
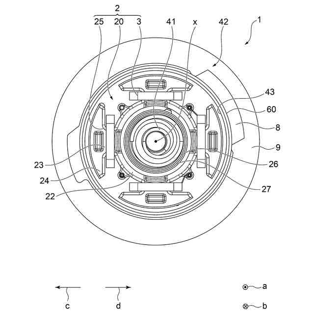
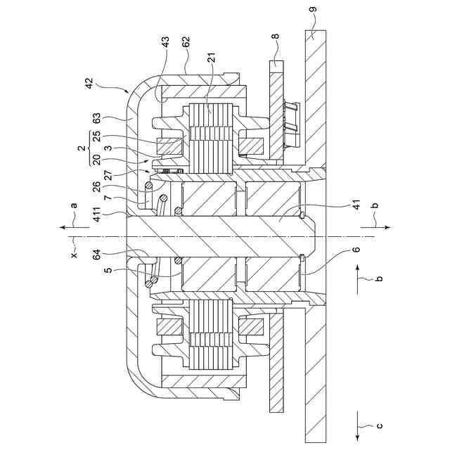
本発明の実施の形態に係るモータの構成を概略的に示す断面図である。
図1に示すモータの構成を概略的に示す平面に見た断面図である。
図1に示すモータにおけるステータコア及びロータを示す平面図である。
【発明を実施するための形態】
【0009】
以下、本発明の実施の形態に係るモータについて図面を参照しながら説明する。
【0010】
図1は、本発明の実施の形態に係るモータ1の構成を概略的に示す断面図である。図2は、モータ1の構成を概略的に示すA-A断面図である。図3は、モータ1におけるステータコア20及びロータ42を示す部分拡大平面図である。
(【0011】以降は省略されています)
この特許をJ-PlatPat(特許庁公式サイト)で参照する
関連特許
個人
単極モータ
13日前
株式会社アイシン
ロータ
13日前
株式会社アイシン
ロータ
17日前
西部電機株式会社
充電装置
20日前
日本精機株式会社
サージ保護回路
20日前
日星電気株式会社
ケーブル組立体
5日前
西部電機株式会社
充電装置
20日前
トヨタ自動車株式会社
固定子
18日前
個人
連続ガウス加速器形磁力増幅装置
20日前
株式会社デンソー
回転機
11日前
トヨタ自動車株式会社
製造装置
18日前
株式会社アイシン
ステータ
17日前
カヤバ株式会社
筒型リニアモータ
19日前
株式会社ダイヘン
充電装置
17日前
株式会社アイシン
ステータ
17日前
株式会社ダイヘン
充電装置
17日前
株式会社ダイヘン
充電装置
17日前
株式会社ダイヘン
充電装置
17日前
東京瓦斯株式会社
通信装置
19日前
株式会社ミツバ
ブラシレスモータ
19日前
株式会社アイシン
ステータ
17日前
株式会社アイシン
ステータ
17日前
個人
太陽エネルギー収集システム
18日前
トヨタ自動車株式会社
被膜形成装置
18日前
個人
二次電池繰返パルス放電器用印刷基板
3日前
株式会社kaisei
発電システム
13日前
ニチコン株式会社
AC入力検出回路
24日前
ASTI株式会社
電力変換装置
18日前
株式会社ミツバ
回転電機
17日前
東京瓦斯株式会社
給電システム
19日前
株式会社ダイヘン
電力変換装置
20日前
株式会社デンソー
電力変換装置
4日前
株式会社デンソー
電力変換装置
12日前
株式会社ダイヘン
電力システム
20日前
株式会社ミツバ
回転電機
10日前
株式会社ダイヘン
インバータ装置
12日前
続きを見る
他の特許を見る