TOP
|
特許
|
意匠
|
商標
特許ウォッチ
Twitter
他の特許を見る
公開番号
2025158883
公報種別
公開特許公報(A)
公開日
2025-10-17
出願番号
2024073477
出願日
2024-04-30
発明の名称
カーボンナノチューブ粉末の評価方法、この評価方法を用いるカーボンナノチューブ分散液の製造方法および製造システム
出願人
artience株式会社
代理人
個人
,
個人
,
個人
主分類
C01B
32/174 20170101AFI20251009BHJP(無機化学)
要約
【課題】分散処理に適したカーボンナノチューブ粉末を選別可能なカーボンナノチューブ粉末を評価する方法を提供する。
【解決手段】カーボンナノチューブ粉末の乾式粒度分布(D10)を取得する工程、
下記条件(1)および(2)のうち少なくとも一方を満たすか否かの情報を取得する工程、および乾式粒度分布(D10)および情報を用いてカーボンナノチューブ粉末の分散性を評価する工程を備える、評価方法である。
条件(1)カーボンナノチューブ粉末の粉末X線回折において回折角2θ=8°~12°に第1ピークと、回折角2θ=24°~27°に第2ピークとを有する。
条件(2)カーボンナノチューブ粉末の粉体レオメータによって求めた凝集力が1kPa以上10kPa以下である。
【選択図】図1
特許請求の範囲
【請求項1】
カーボンナノチューブ粉末の乾式粒度分布(D10)を取得する工程、
下記条件(1)および(2)のうち少なくとも一方を満たすか否かの情報を取得する工程、および
前記乾式粒度分布(D10)および前記情報を用いてカーボンナノチューブ粉末の分散性を評価する工程を備える、評価方法。
条件(1)カーボンナノチューブ粉末の粉末X線回折において回折角2θ=8°~12°に第1ピークと、回折角2θ=24°~27°に第2ピークとを有する。
条件(2)カーボンナノチューブ粉末の粉体レオメータによって求めた凝集力が1kPa以上10kPa以下である。
続きを表示(約 1,200 文字)
【請求項2】
前記評価する工程は、前記乾式粒度分布(D10)が110μm以下であり、かつ前記条件(1)および(2)のうち少なくとも一方を満たす場合に、カーボンナノチューブ粉末の分散性が良好であると評価する、請求項1に記載の評価方法。
【請求項3】
前記評価する工程は、前記乾式粒度分布(D10)が40μm以上110μm以下であり、かつ前記条件(1)および(2)のうち少なくとも一方を満たす場合に、カーボンナノチューブ粉末の分散性が良好であると評価する、請求項1に記載の評価方法。
【請求項4】
前記条件(2)において、カーボンナノチューブ粉末の粉体レオメータによって求めた凝集力が5kPa以上10kPa以下である、請求項1に記載の評価方法。
【請求項5】
請求項1から4のいずれか1項に記載の評価方法にしたがってカーボンナノチューブ粉末を評価し、評価済カーボンナノチューブ粉末を得ること、および前記評価済カーボンナノチューブ粉末および分散媒体を含むカーボンナノチューブ分散液を得ることを含む、カーボンナノチューブ分散液の製造方法。
【請求項6】
請求項1から4のいずれか1項に記載の評価方法にしたがってカーボンナノチューブ粉末を評価し、評価済カーボンナノチューブ粉末を提供すること、および前記評価済カーボンナノチューブ粉末、分散媒体およびバインダー樹脂を含む樹脂組成物を得ることを含む、カーボンナノチューブ樹脂組成物の製造方法。
【請求項7】
請求項1から4のいずれか1項に記載の評価方法にしたがってカーボンナノチューブ粉末を評価し、評価済カーボンナノチューブ粉末を提供すること、および前記評価済カーボンナノチューブ粉末、分散媒体、バインダー樹脂および電極活物質を含む合材スラリーを得ることを含む、合材スラリーの製造方法。
【請求項8】
請求項1から4のいずれか1項に記載の評価方法にしたがってカーボンナノチューブ粉末を評価し、評価済カーボンナノチューブ粉末を提供すること、および前記評価済カーボンナノチューブ粉末、分散媒体、バインダー樹脂および電極活物質を含む合材スラリーを用いて電極膜を得ることを含む、電極膜の製造方法。
【請求項9】
正極および負極の少なくとも一方の電極膜を、請求項8に記載の電極膜の製造方法にしたがって得ることを含む、二次電池の製造方法。
【請求項10】
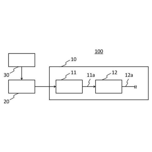
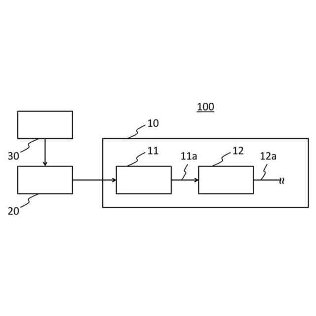
カーボンナノチューブ分散液を製造するシステムであって、
請求項1から4のいずれか1項に記載の評価方法にしたがってカーボンナノチューブ粉末を評価し、評価済カーボンナノチューブ粉末を得る評価装置、および
前記評価済カーボンナノチューブ粉末および分散媒体を含むカーボンナノチューブ分散液を製造する製造装置を含む、カーボンナノチューブ分散液の製造システム。
発明の詳細な説明
【技術分野】
【0001】
本開示の実施形態は、カーボンナノチューブ粉末の評価方法、この評価方法を用いるカーボンナノチューブ分散液の製造方法および製造システムに関する。
続きを表示(約 2,800 文字)
【背景技術】
【0002】
カーボンナノチューブは、黒鉛層を円筒状にした構造を有し、化学的に安定であり、導電性および機械的強靭性を備えることから、電子材料、構造材料、塗料等の各種用途に用いられている。カーボンナノチューブの用途としては、具体的には、電子材料、半導体材料、フィラー材料、顕微鏡用短針プローブ、吸着材料、フィルター材料等が挙げられる。なかでも、カーボンナノチューブを用いる電極材料は、導電性に優れることから、二次電池、燃料電池、電気二重層キャパシタ等への応用が期待されている。
【0003】
電気自動車の普及、携帯電話の小型軽量化および高性能化に伴い、高いエネルギー密度を有する二次電池、さらに、その二次電池の高容量化が求められている。このような背景の下で高エネルギー密度、高電圧という特徴から非水系電解液を用いる非水電解質二次電池、特に、リチウムイオン二次電池が多くの機器に使われるようになっている。
【0004】
二次電池の電極は、正極活物質または負極活物質、導電材、バインダー樹脂等を含む合材スラリーを集電体に塗工して作製される。導電剤としては、カーボンブラック、グラフェン、微細炭素材料等が使用されているが、導電性をさらに改善して電池の容量を改善する目的で、微細炭素繊維の一種であるカーボンナノチューブを用いることが検討されている。例えば、正極にカーボンナノチューブを添加することにより、電極膜の導電性を改善して電極抵抗を低減することができる。中でも、外径数nm~数10nmの多層カーボンナノチューブは比較的安価であり、実用化が進んでいる。平均外径が小さく繊維長が大きいカーボンナノチューブを用いると、少量でも効率的に導電ネットワークを形成することができ、二次電池の高容量化を図ることができる。一方で、これらの特徴を有するカーボンナノチューブは凝集力が強く、カーボンナノチューブ分散液の分散性をより一層高めることが難しくなる。
【0005】
特許文献1には、カーボンナノチューブの質量に対し、吸収された溶媒の質量である濡れ性指数を特定することで、カーボンナノチューブを2質量%以上含む高濃度かつ低粘度なカーボンナノチューブ分散体を提供することが提案される。特許文献1では、金属ボールまたはセラミックスボールを含むミリング装置を用いてカーボンナノチューブを乾式粉砕して濡れ性指数を制御しており、具体例では、アトリッションミルを用いて10~140分間のバッチ式乾式粉砕を行っている。また、特許文献2には、平均外径と表面酸素濃度を特定したカーボンナノチューブを用いて、樹脂成形体や自動車の車体等に漆黒性および光沢性を付与するカーボンナノチューブ塗料を提供することが提案されている。特許文献2では、未処理カーボンナノチューブを、粉砕メディアを用いて液状媒体を介在させないで粉砕処理することで、カーボンナノチューブの表面酸素濃度を制御している。
【先行技術文献】
【特許文献】
【0006】
韓国特許第10-2125933号公報
特開2020-029372号公報
【発明の概要】
【発明が解決しようとする課題】
【0007】
分散媒体中にカーボンナノチューブを分散させる場合、カーボンナノチューブの高アスペクト比は、ファンデルワールス力により相互に強固に物理結合するため、カーボンナノチューブ同士の絡まりや束の解しにくさによって分散媒中での広がりの困難さをもたらす。また、分散媒中にカーボンナノチューブを分散させることで分散液は高粘度化するため、均一に分散された高濃度のカーボンナノチューブを含む分散液を得ることは困難であり、特に、流動性と貯蔵安定性を両立する高濃度分散液を得ることは困難を極める。カーボンナノチューブ固有の高アスペクト比による難分散を解消すべく、特許文献1や特許文献2のように粉砕メディアを用いてカーボンナノチューブを乾式処理することで、カーボンナノチューブの溶媒に対する濡れ性を向上させ、カーボンナノチューブを2質量%以上で含む高濃度でも低粘度なカーボンナノチューブ分散液を得る技術が開示されている。しかし、カーボンナノチューブを用いた電極膜において、カーボンナノチューブ固有の高アスペクト比に由来する発達した導電ネットワークを十分に形成するには、まだ検討の余地があった。
【0008】
カーボンナノチューブ粉末は、任意的に乾式処理を経て分散媒体と分散処理されてカーボンナノチューブ分散液が提供される。分散処理においては、高粘度化により生産効率が劣化しやすい初期分散性の改善が非常に重要である。そのため、分散処理に供されるカーボンナノチューブ粉末の評価方法の確立、その評価方法によって分散処理に適したカーボンナノチューブ粉末の選別が望まれている。
【0009】
本開示は、分散処理に適したカーボンナノチューブ粉末を選別可能なカーボンナノチューブ粉末を評価する方法、この評価方法を用いるカーボンナノチューブ分散液の製造方法、カーボンナノチューブ樹脂組成物の製造方法、合材スラリーの製造方法、電極膜の製造方法、および二次電池の製造方法、並びにこの評価方法を用いるカーボンナノチューブ分散液の製造システムを提供することを目的の一つとする。
【課題を解決するための手段】
【0010】
カーボンナノチューブを含む分散液の初期分散性を改善して分散安定性を得るためにはカーボンナノチューブの高アスペクト比を解消してカーボンナノチューブの濡れ性を改善し、分散液を低粘度化することが重要である。一方、カーボンナノチューブを用いた電極膜において発達した導電ネットワークを十分に形成するためには、カーボンナノチューブ固有の高アスペクト比を一定以上保ちつつ分散すること、および、その分散状態を安定化させることが重要であり、分散液の流動性および貯蔵安定性と導電性とはトレードオフの関係にある。本発明者らが、上記課題を解決することを目的として鋭意検討したところによると、分散処理に供されるカーボンナノチューブ粉末の性状が初期分散性に影響を及ぼすことに着目し、カーボンナノチューブ粉末の性状の中でも特定の条件を満たすことで、高アスペクト比を一定以上に保ちつつ、カーボンナノチューブ粉末の初期分散性を改善し、引き続く分散処理の効率が高まり、分散処理の分散時間を短縮可能であることを見出した。この条件の確立によって、カーボンナノチューブ粉末の原料を選別する評価方法を提供することができる。
(【0011】以降は省略されています)
この特許をJ-PlatPat(特許庁公式サイト)で参照する
関連特許
株式会社タクマ
固体炭素化設備
11日前
三菱重工業株式会社
加熱装置
11日前
東ソー株式会社
CHA型ゼオライトの製造方法
21日前
東ソー株式会社
CHA型ゼオライトの製造方法
21日前
日揮触媒化成株式会社
珪酸液およびその製造方法
14日前
株式会社小糸製作所
水分解装置
29日前
デンカ株式会社
窒化ケイ素粉末
13日前
株式会社小糸製作所
水素発生装置
29日前
デンカ株式会社
窒化ケイ素粉末
13日前
株式会社三井E&S
アンモニア改質装置
21日前
三菱ケミカル株式会社
槽の洗浄方法及びシリカ粒子の製造方法
19日前
デンカ株式会社
窒化ケイ素粉末の製造方法
18日前
デンカ株式会社
セラミックス粉末の製造方法
18日前
大阪瓦斯株式会社
酸化物複合体
19日前
大阪瓦斯株式会社
水素製造装置及びその運転方法
19日前
アサヒプリテック株式会社
濃縮方法
19日前
アサヒプリテック株式会社
濃縮方法
19日前
トヨタ自動車株式会社
光触媒を用いた水素ガス製造装置
19日前
トヨタ自動車株式会社
光触媒を用いた水素ガス製造装置
19日前
デンカ株式会社
窒化ホウ素粉末の製造方法
19日前
トヨタ自動車株式会社
光触媒を用いた水素ガス製造装置
6日前
トヨタ自動車株式会社
光触媒を用いた水素ガス製造装置
11日前
株式会社レゾナック
球状アルミナ粉末
18日前
日揮触媒化成株式会社
粉体及びその製造方法、並びに樹脂組成物
18日前
デゾン・ジャパン株式会社
酸素濃度調整システム
1か月前
日本電気株式会社
繊維状カーボンナノホーン集合体の接着分離方法
14日前
南海化学株式会社
塩基性塩化アルミニウム含有組成物
29日前
東ソー株式会社
アルカリ金属の除去方法
20日前
南海化学株式会社
塩基性塩化アルミニウム含有組成物
29日前
日本化学工業株式会社
コアシェル型負熱膨張材およびその製造方法
1か月前
デンカ株式会社
窒化ホウ素粉末、及び樹脂成形体
14日前
エヌ・イーケムキャット株式会社
ゼオライトの製造方法
13日前
株式会社大阪チタニウムテクノロジーズ
四塩化チタン製造方法
18日前
日揮触媒化成株式会社
シリカ微粒子分散液およびその製造方法
25日前
デンカ株式会社
窒化ホウ素粉末、及び樹脂成形体
14日前
日揮触媒化成株式会社
多孔質の三次粒子を含む粉体、及びその製造方法
14日前
続きを見る
他の特許を見る