TOP
|
特許
|
意匠
|
商標
特許ウォッチ
Twitter
他の特許を見る
公開番号
2025159555
公報種別
公開特許公報(A)
公開日
2025-10-21
出願番号
2024062214
出願日
2024-04-08
発明の名称
蓄電装置
出願人
トヨタ自動車株式会社
代理人
弁理士法人太陽国際特許事務所
主分類
H02J
7/00 20060101AFI20251014BHJP(電力の発電,変換,配電)
要約
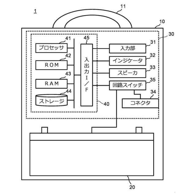
【課題】外部との通信を必要とすることなく盗難等の異常を検知可能な蓄電装置を提供すること。
【解決手段】本開示の蓄電装置は、筐体と、前記筐体内に収容された蓄電池と、前記蓄電池の通電を制御する制御装置と、を含み、前記制御装置は、特定のユーザに関連付けられた第1認証情報が記憶された記憶部と、任意のユーザからの第2認証情報を読み取る読取部と、前記第2認証情報と前記第1認証情報とが一致するか否かを照合する認証部と、前記認証部における認証結果を報知する報知部と、を含む。
【選択図】図1
特許請求の範囲
【請求項1】
筐体と、
前記筐体内に収容された蓄電池と、
前記蓄電池の通電を制御する制御装置と、を備え、
前記制御装置は、
特定のユーザに関連付けられた第1認証情報が記憶された記憶部と、
任意のユーザからの第2認証情報を読み取る読取部と、
前記第2認証情報と前記第1認証情報とが一致するか否かを照合する認証部と、
前記認証部における認証結果を報知する報知部と、を備える、
蓄電装置。
続きを表示(約 300 文字)
【請求項2】
前記制御装置は、前記認証部において前記第2認証情報と前記第1認証情報とが一致した後、前記蓄電池が機体に接続されると、前記蓄電池の通電を許可する、
請求項1に記載の蓄電装置。
【請求項3】
前記筐体は、把持部を備え、
前記読取部は、前記把持部に設置されて前記把持部を把持したユーザの生体情報を前記第2認証情報として読み取る、
請求項1に記載の蓄電装置。
【請求項4】
前記認証部による認証結果に基づいて、前記蓄電池の外部との通電を許可するか否かを判定する通電許可判定部を更に備える、
請求項1に記載の蓄電装置。
発明の詳細な説明
【技術分野】
【0001】
本開示は、蓄電装置に関する。
続きを表示(約 1,100 文字)
【背景技術】
【0002】
蓄電装置は、自動車等の車両やスマートフォン等の通信端末といった種々の機械(以下、これらを「機体」と呼ぶ)の電源として広く用いられている。このような蓄電装置は比較的高価であり、盗難の恐れがある。
【0003】
下記特許文献1には、盗難等を検知して外部に報知する機能を備えた蓄電装置が記載されている。この蓄電装置は、蓄電池と、蓄電装置の移動を検出する移動検出器と、蓄電装置の異常を外部に報知する報知器と、蓄電池が放電を実行していないときに移動検出器により蓄電装置の移動が検出されると、報知器に異常であることを報知させる制御器とを含む。
【先行技術文献】
【特許文献】
【0004】
特開2017-041443号公報
【発明の概要】
【発明が解決しようとする課題】
【0005】
上記特許文献1では、蓄電装置の利用者の情報端末と近距離無線通信する通信器により情報端末との通信が不可能である場合に、蓄電装置に異常が発生したと判断している。この場合、正規の利用者が情報端末を保有していない場合には、正規の利用者が蓄電装置を移動させた場合にも、蓄電装置に異常が発生したと判断してしまう。
【0006】
本開示は、上述した課題に鑑み、外部との通信を必要とすることなく盗難等の異常を検知可能な蓄電装置を提供することを目的とする。
【課題を解決するための手段】
【0007】
上記目的を達成するために、本開示の請求項1の蓄電装置は、筐体と、前記筐体内に収容された蓄電池と、前記蓄電池の通電を制御する制御装置と、を含み、前記制御装置は、特定のユーザに関連付けられた第1認証情報が記憶された記憶部と、任意のユーザからの第2認証情報を読み取る読取部と、前記第2認証情報と前記第1認証情報とが一致するか否かを照合する認証部と、前記認証部における認証結果を報知する報知部と、を含む。
【0008】
請求項1に係る蓄電装置では、蓄電装置単体で当該蓄電装置の盗難の発生を検知することができる。
【0009】
本開示の請求項2に係る蓄電装置は、上記本開示の請求項1に係る蓄電装置において、前記制御装置は、前記認証部において前記第2認証情報と前記第1認証情報とが一致した後、前記蓄電池が機体に接続されると、前記蓄電池の通電を許可する。
【0010】
請求項2に係る蓄電装置では、正規の所有者以外が蓄電装置を使用できないようにすることができる。
(【0011】以降は省略されています)
この特許をJ-PlatPat(特許庁公式サイト)で参照する
関連特許
個人
単極モータ
8日前
株式会社アイシン
ロータ
8日前
株式会社アイシン
ロータ
12日前
日本精機株式会社
サージ保護回路
15日前
日星電気株式会社
ケーブル組立体
今日
トヨタ自動車株式会社
固定子
13日前
個人
連続ガウス加速器形磁力増幅装置
15日前
株式会社デンソー
回転機
6日前
トヨタ自動車株式会社
製造装置
13日前
東京瓦斯株式会社
通信装置
14日前
株式会社アイシン
ステータ
12日前
株式会社ミツバ
ブラシレスモータ
14日前
カヤバ株式会社
筒型リニアモータ
14日前
個人
太陽エネルギー収集システム
13日前
株式会社アイシン
ステータ
12日前
株式会社アイシン
ステータ
12日前
株式会社アイシン
ステータ
12日前
株式会社ダイヘン
充電装置
12日前
株式会社ダイヘン
充電装置
12日前
株式会社ダイヘン
充電装置
12日前
株式会社ダイヘン
充電装置
12日前
トヨタ自動車株式会社
被膜形成装置
13日前
株式会社kaisei
発電システム
8日前
株式会社ミツバ
回転電機
5日前
ASTI株式会社
電力変換装置
13日前
株式会社デンソー
電力変換装置
7日前
株式会社ダイヘン
電力システム
15日前
株式会社ミツバ
回転電機
12日前
東京瓦斯株式会社
給電システム
14日前
株式会社ダイヘン
電力変換装置
15日前
キヤノン株式会社
無線電力伝送システム
13日前
株式会社ダイヘン
インバータ装置
7日前
大和ハウス工業株式会社
システム
14日前
シャープ株式会社
表示装置
13日前
株式会社アイシン
駆動装置
13日前
株式会社アイシン
保護装置
13日前
続きを見る
他の特許を見る