TOP
|
特許
|
意匠
|
商標
特許ウォッチ
Twitter
他の特許を見る
公開番号
2025160762
公報種別
公開特許公報(A)
公開日
2025-10-23
出願番号
2024063531
出願日
2024-04-10
発明の名称
電力変換装置用の筐体
出願人
株式会社TMEIC
代理人
弁理士法人iX
主分類
H02M
7/48 20070101AFI20251016BHJP(電力の発電,変換,配電)
要約
【課題】より簡単な構成で、より確実に側面カバーをフレームに取り付けることができる電力変換装置用の筐体を提供する。
【解決手段】フレームと、フレームの側方を覆う側面カバーと、側面カバーをフレームに取り付ける複数のネジと、を備え、フレームは、複数のネジのそれぞれの雄ネジ部と螺合する複数の雌ネジ部を有し、側面カバーは、内側面と、内側面と反対側を向く外側面と、外側面に設けられた複数の凹部と、複数の凹部のそれぞれの内底面から内側面に向かうように延びる複数の貫通孔と、を有し、複数の凹部は、複数のネジの頭部を内部に収容可能とする電力変換装置用の筐体が提供される。
【選択図】図1
特許請求の範囲
【請求項1】
電力変換装置に用いられ、内部空間を有し、電力の変換を行う変換器を前記内部空間内に収容する電力変換装置用の筐体であって、
フレームと、
前記フレームの側方を覆う側面カバーと、
前記側面カバーを前記フレームに取り付ける複数のネジと、
を備え、
前記複数のネジのそれぞれは、
雄ネジ部と、
前記雄ネジ部の一端に設けられ、前記雄ネジ部よりも大きい径を有する頭部と、
を有し、
前記頭部は、前記雄ネジ部側を向く平面状の接触面を有し、
前記フレームは、前記複数のネジのそれぞれに対応して設けられ、前記複数のネジのそれぞれの前記雄ネジ部と螺合する複数の雌ネジ部を有し、
前記側面カバーは、
前記内部空間側を向く内側面と、
前記内側面と反対側を向く外側面と、
前記フレームの前記複数の雌ネジ部のそれぞれに対応して設けられ、前記複数の雌ネジ部のそれぞれと位置を合わせて配置され、前記外側面から前記内側面に向かって凹むように前記外側面に設けられ、平面状の内底面を有する複数の凹部と、
前記複数の凹部のそれぞれに対応して設けられ、前記複数の凹部のそれぞれの前記内底面から前記内側面に向かうように延び、前記内底面と前記内側面とを連通させ、前記フレームの前記複数の雌ネジ部のそれぞれを前記外側面側に露出させるとともに、前記複数のネジの前記雄ネジ部の挿通を可能とすることにより、前記複数の雌ネジ部に対して前記複数のネジを前記外側面側から取り付けられるようにする複数の貫通孔と、
を有し、
前記複数の凹部は、前記複数のネジの前記雄ネジ部を前記複数の貫通孔に挿通し、前記複数のネジの前記雄ネジ部を前記フレームの前記複数の雌ネジ部に螺合させた際に、前記頭部を内部に収容可能とし、
前記側面カバーは、前記複数のネジの前記雄ネジ部を前記複数の貫通孔に挿通し、前記複数のネジの前記雄ネジ部を前記フレームの前記複数の雌ネジ部に螺合させ、平面状の前記内底面を前記頭部の平面状の前記接触面に接触させることにより、前記複数のネジによって前記フレームに取り付けられる電力変換装置用の筐体。
続きを表示(約 350 文字)
【請求項2】
前記複数の貫通孔の幅は、前記複数のネジの前記雄ネジ部の直径、及び前記フレームの前記複数の雌ネジ部の直径よりも所定の寸法公差の分だけ大きく、
前記複数の凹部の幅は、前記複数のネジの前記頭部の直径よりも所定の寸法公差の分だけ大きい請求項1記載の電力変換装置用の筐体。
【請求項3】
前記複数の凹部の前記複数のネジの前記頭部の直径に対する前記寸法公差は、前記複数の貫通孔の前記複数のネジの前記雄ネジ部の直径及び前記フレームの前記複数の雌ネジ部の直径に対する前記寸法公差よりも大きい請求項2記載の電力変換装置用の筐体。
【請求項4】
前記複数のネジの前記頭部の厚さは、1.0mm以上1.5mm以下である請求項1記載の電力変換装置用の筐体。
発明の詳細な説明
【技術分野】
【0001】
本発明の実施形態は、電力変換装置用の筐体に関する。
続きを表示(約 2,000 文字)
【背景技術】
【0002】
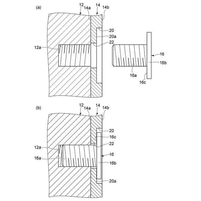
電力変換装置は、電力の変換を行う変換器と、変換器を内部の空間に収容する筐体と、を備える。筐体は、内部の空間に変換器を収容することにより、塵埃や外力などから変換器を保護する。筐体は、フレームと、フレームの側方を覆う側面カバーと、を備える。側面カバーは、複数のネジによってフレームに取り付けられる。
【0003】
電力変換装置では、大容量化に対応するため、複数の電力変換装置を並べて配置する、いわゆる列盤構成とすることが行われている。このため、電力変換装置用の筐体では、側面カバーに皿もみ加工を施し、皿ネジによって側面カバーをフレームに取り付けている。これにより、ネジの頭部が側面カバーの表面よりも突出することを抑制し、列盤構成の際に、隣接する電力変換装置との間に隙間が空くことを抑制することができる。
【0004】
しかしながら、皿ネジによって側面カバーをフレームに取り付ける場合には、テーパ面で皿ネジを受けるため、フレームに設けられる雌ネジ部と、側面カバーのテーパ状のネジ孔(貫通孔)との位置合わせを厳密に行う必要があり、フレーム及び側面カバーに高い加工精度が要求される。このため、フレーム及び側面カバーの製造コストを増大させる要因となっている。
【0005】
また、皿ネジによって側面カバーをフレームに取り付ける場合には、テーパ面で皿ネジを受けるため、輸送振動で皿ネジが緩んでしまうことがある。このため、電力変換装置の設置現場での作業が増加してしまうことも懸念される。
【0006】
従って、電力変換装置用の筐体では、列盤構成の際に、隣接する電力変換装置との間に隙間が空くことを抑制しつつ、より簡単な構成で、より確実に側面カバーをフレームに取り付けられるようにすることが望まれる。
【先行技術文献】
【特許文献】
【0007】
特開2022-79937号公報
特許第7046263号公報
【発明の概要】
【発明が解決しようとする課題】
【0008】
本発明の実施形態は、列盤構成の際に、隣接する電力変換装置との間に隙間が空くことを抑制しつつ、より簡単な構成で、より確実に側面カバーをフレームに取り付けることができる電力変換装置用の筐体を提供する。
【課題を解決するための手段】
【0009】
本発明の実施形態によれば、電力変換装置に用いられ、内部空間を有し、電力の変換を行う変換器を前記内部空間内に収容する電力変換装置用の筐体であって、フレームと、前記フレームの側方を覆う側面カバーと、前記側面カバーを前記フレームに取り付ける複数のネジと、を備え、前記複数のネジのそれぞれは、雄ネジ部と、前記雄ネジ部の一端に設けられ、前記雄ネジ部よりも大きい径を有する頭部と、を有し、前記頭部は、前記雄ネジ部側を向く平面状の接触面を有し、前記フレームは、前記複数のネジのそれぞれに対応して設けられ、前記複数のネジのそれぞれの前記雄ネジ部と螺合する複数の雌ネジ部を有し、前記側面カバーは、前記内部空間側を向く内側面と、前記内側面と反対側を向く外側面と、前記フレームの前記複数の雌ネジ部のそれぞれに対応して設けられ、前記複数の雌ネジ部のそれぞれと位置を合わせて配置され、前記外側面から前記内側面に向かって凹むように前記外側面に設けられ、平面状の内底面を有する複数の凹部と、前記複数の凹部のそれぞれに対応して設けられ、前記複数の凹部のそれぞれの前記内底面から前記内側面に向かうように延び、前記内底面と前記内側面とを連通させ、前記フレームの前記複数の雌ネジ部のそれぞれを前記外側面側に露出させるとともに、前記複数のネジの前記雄ネジ部の挿通を可能とすることにより、前記複数の雌ネジ部に対して前記複数のネジを前記外側面側から取り付けられるようにする複数の貫通孔と、を有し、前記複数の凹部は、前記複数のネジの前記雄ネジ部を前記複数の貫通孔に挿通し、前記複数のネジの前記雄ネジ部を前記フレームの前記複数の雌ネジ部に螺合させた際に、前記頭部を内部に収容可能とし、前記側面カバーは、前記複数のネジの前記雄ネジ部を前記複数の貫通孔に挿通し、前記複数のネジの前記雄ネジ部を前記フレームの前記複数の雌ネジ部に螺合させ、平面状の前記内底面を前記頭部の平面状の前記接触面に接触させることにより、前記複数のネジによって前記フレームに取り付けられる電力変換装置用の筐体が提供される。
【発明の効果】
【0010】
本発明の実施形態によれば、列盤構成の際に、隣接する電力変換装置との間に隙間が空くことを抑制しつつ、より簡単な構成で、より確実に側面カバーをフレームに取り付けることができる電力変換装置用の筐体が提供される。
【図面の簡単な説明】
(【0011】以降は省略されています)
この特許をJ-PlatPat(特許庁公式サイト)で参照する
関連特許
個人
単極モータ
17日前
キヤノン電子株式会社
モータ
1日前
株式会社アイシン
ロータ
17日前
株式会社アイシン
ロータ
21日前
コーセル株式会社
電源装置
2日前
日星電気株式会社
ケーブル組立体
9日前
西部電機株式会社
充電装置
24日前
西部電機株式会社
充電装置
24日前
日本精機株式会社
サージ保護回路
24日前
トヨタ自動車株式会社
固定子
22日前
個人
連続ガウス加速器形磁力増幅装置
24日前
トヨタ自動車株式会社
製造装置
22日前
株式会社デンソー
回転機
15日前
株式会社ダイヘン
充電装置
21日前
個人
太陽エネルギー収集システム
22日前
株式会社ミツバ
ブラシレスモータ
23日前
カヤバ株式会社
筒型リニアモータ
23日前
株式会社ダイヘン
充電装置
21日前
株式会社アイシン
ステータ
21日前
株式会社ダイヘン
充電装置
21日前
株式会社アイシン
ステータ
21日前
株式会社アイシン
ステータ
21日前
株式会社ダイヘン
充電装置
21日前
株式会社アイシン
ステータ
21日前
東京瓦斯株式会社
通信装置
23日前
株式会社kaisei
発電システム
17日前
トヨタ自動車株式会社
被膜形成装置
22日前
個人
二次電池繰返パルス放電器用印刷基板
7日前
株式会社ミツバ
回転電機
14日前
株式会社ダイヘン
電力変換装置
24日前
東京瓦斯株式会社
給電システム
23日前
ASTI株式会社
電力変換装置
22日前
株式会社ダイヘン
電力システム
24日前
株式会社ミツバ
回転電機
21日前
株式会社デンソー
電力変換装置
8日前
株式会社デンソー
電力変換装置
16日前
続きを見る
他の特許を見る