TOP
|
特許
|
意匠
|
商標
特許ウォッチ
Twitter
他の特許を見る
公開番号
2025163894
公報種別
公開特許公報(A)
公開日
2025-10-30
出願番号
2024067513
出願日
2024-04-18
発明の名称
モータ
出願人
キヤノン電子株式会社
代理人
主分類
H02K
3/52 20060101AFI20251023BHJP(電力の発電,変換,配電)
要約
【課題】モータの巻線と回路接続の作業性、取り扱い性を向上する。
【解決手段】ロータマグネット2を有するロータユニット20と、ロータマグネット20を駆動する巻線コイルユニット21と、巻線コイルユニット21への通電を制御する制御回路基板24と、巻線コイルユニット21の巻線6の端部が絡げられ、制御回路基板24に電気的に接続される端子ピン5とを有するステータユニット23とを備え、ステータユニット23は、制御回路基板24が取り付けられるベースプレート9を有し、ベースプレート9は、端子ピン5が挿通される貫通孔9xを有する。
【選択図】図3
特許請求の範囲
【請求項1】
ロータマグネットを有するロータユニットと、
前記ロータマグネットを駆動する巻線コイルユニットと、前記巻線コイルユニットへの通電を制御する制御回路基板と、巻線コイルユニットの巻線の端部が絡げられ、前記制御回路基板に電気的に接続される端子ピンとを有するステータユニットと
を備え、
前記ステータユニットは、前記制御回路基板が取り付けられるベースプレートを有し、
前記ベースプレートは、前記端子ピンが挿通される貫通孔を有することを特徴とするモータ。
続きを表示(約 530 文字)
【請求項2】
前記ステータユニットの前記ベースプレートは金属製であり、前記巻線コイルユニットから発せられる電磁ノイズを遮蔽することを特徴とする請求項1に記載のモータ。
【請求項3】
前記ステータユニットは、コアと、該コアに設けられ前記巻線が巻かれる突極と、前記コアと前記巻線とを絶縁するインシュレータを有し、
前記端子ピンは、前記インシュレータによって保持されていることを特徴とする請求項1に記載のモータ。
【請求項4】
前記端子ピンは、前記コアにおける前記突極同士の間であって、その径方向の外縁に設けられた切り欠き内に配置されたことを特徴とする請求項3に記載のモータ。
【請求項5】
前記インシュレータにおける前記端子ピンを保持する部分からその外縁側に突出して設けられた円弧形状部を有することを特徴とする請求項3または4に記載のモータ。
【請求項6】
前記ロータユニットは、ベアリングを介して前記ステータユニットに取り付けられ、
前記ロータユニットが前記ベアリングの内輪に、前記ステータユニットが前記ベアリングの外輪に固定されていることを特徴とする請求項5に記載のモータ。
発明の詳細な説明
【技術分野】
【0001】
本発明は、高精度な角度制御が可能なモータに関し、特にその巻線と回路板接続方法に関するものである。
続きを表示(約 1,600 文字)
【背景技術】
【0002】
従来、モータ巻線の回路基板への接続方法としては、例えば特許文献1のように、ステータの下面に配置された電子回路基板外面に巻線コイルを電気接続することがあった。
【先行技術文献】
【特許文献】
【0003】
特開2023-87371号公報
【発明の概要】
【発明が解決しようとする課題】
【0004】
特許文献1のように電子回路基板と巻線の電気的導通を行うには、巻線端末かワイヤー(リード線)等を用いて配線する必要があった。特に細いリード線や巻線端末を電子回路基板に接続する作業は人手での修正作業等も発生し作業工数が増加していた。
【課題を解決するための手段】
【0005】
上記課題を解決するため、本発明に係るモータは、
ロータマグネットを有するロータユニットと、
前記ロータマグネットを駆動する巻線コイルユニットと、前記巻線コイルユニットへの通電を制御する制御回路基板と、巻線コイルユニットの巻線の端部が絡げられ、前記制御回路基板に電気的に接続される端子ピンとを有するステータユニットと
を備え、
前記ステータユニットは、前記制御回路基板が取り付けられるベースプレートを有し、
前記ベースプレートは、前記端子ピンが挿通される貫通孔を有することを特徴とする。
【発明の効果】
【0006】
本発明によれば、巻線ユニットの組込及び、はんだ付けによる電気的導通を簡単に行うことができる。
【図面の簡単な説明】
【0007】
高精度角度制御モータ分解斜視図
端子ピンを搭載した巻線図
端子ピンを搭載した巻線とベースプレートの分解図
モータ断面図
従来技術と本実施形態のコアに対する端子ピンの配置を比較する要部の上面図
【発明を実施するための形態】
【0008】
〔第1の実施形態〕
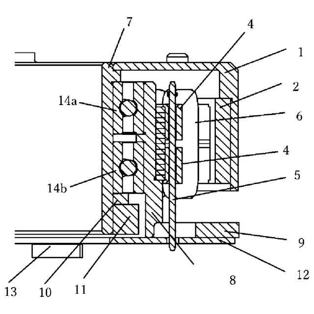
図1、図2は本発明が適用されるDCブラシレスモータ構造を示す説明図である。図1に示す通り、本実施形態のモータは、中空軸シャフト7、ロータケース1、ロータマグネット2からなるロータユニット20と、巻線コイルユニット21、ベースプレート9、ハウジング8、ベアリング14a、14bからなるステータユニット23と、センサマグネット11、センサ基板12及びそれに実装されたエンコーダIC13を含む制御回路基板24からなるエンコーダ部22で構成されている。制御回路基板24は、そのセンサ基板12がベースプレート9に対して固定されることによりステータユニット23に取り付けられる。固定の方法としては接着や他の方法を適用可能であるが、本実施形態においては、後述するように端子ピン5の半田付けによって補助的に固定されるため、接着により簡易に保持することが可能である。
【0009】
ロータユニット20は、中空軸シャフト7に溶接またはカシメ等で締結させたロータケース1とその内部にはロータマグネット2を備え、ロータケース1天面には、負荷側の取付け用に不図示のねじ穴を備えている。巻線コイルユニット21の巻線6に通電されることで生じる磁界によってロータマグネット2が駆動され、モータが回転する。本実施形態においてはロータマグネット2はネオジム磁石、中空軸シャフト7は非磁性系ステンレス系鋼材が用いられているが、これらは一例である。
【0010】
ロータユニット20はステータユニット23に設けられ、その外輪がステータユニット23に固定された2個のベアリング14a、14bの内輪によって保持され、そのアキシャル方向とラジアル方向に剛性を高められている。
(【0011】以降は省略されています)
この特許をJ-PlatPat(特許庁公式サイト)で参照する
関連特許
キヤノン電子株式会社
モータ
1日前
個人
単極モータ
17日前
キヤノン電子株式会社
モータ
1日前
株式会社アイシン
ロータ
17日前
株式会社アイシン
ロータ
21日前
日星電気株式会社
ケーブル組立体
9日前
コーセル株式会社
電源装置
2日前
トヨタ自動車株式会社
固定子
22日前
トヨタ自動車株式会社
製造装置
22日前
株式会社デンソー
回転機
15日前
個人
太陽エネルギー収集システム
22日前
株式会社ダイヘン
充電装置
21日前
株式会社アイシン
ステータ
21日前
株式会社ダイヘン
充電装置
21日前
株式会社ダイヘン
充電装置
21日前
株式会社アイシン
ステータ
21日前
株式会社アイシン
ステータ
21日前
株式会社ダイヘン
充電装置
21日前
株式会社アイシン
ステータ
21日前
個人
二次電池繰返パルス放電器用印刷基板
7日前
トヨタ自動車株式会社
被膜形成装置
22日前
株式会社kaisei
発電システム
17日前
株式会社ミツバ
回転電機
14日前
株式会社ミツバ
回転電機
21日前
株式会社デンソー
電力変換装置
8日前
株式会社デンソー
電力変換装置
16日前
ASTI株式会社
電力変換装置
22日前
株式会社ダイヘン
インバータ装置
16日前
キヤノン株式会社
無線電力伝送システム
22日前
シャープ株式会社
表示装置
22日前
株式会社アイシン
駆動装置
22日前
株式会社アイシン
保護装置
22日前
株式会社デンソー
非接触受電装置
10日前
トヨタ自動車株式会社
固定子の加熱装置
4日前
山洋電気株式会社
モータ
7日前
矢崎総業株式会社
ワイヤーハーネス
17日前
続きを見る
他の特許を見る