TOP
|
特許
|
意匠
|
商標
特許ウォッチ
Twitter
他の特許を見る
10個以上の画像は省略されています。
公開番号
2025162426
公報種別
公開特許公報(A)
公開日
2025-10-27
出願番号
2024065720
出願日
2024-04-15
発明の名称
動電式振動発生装置
出願人
IMV株式会社
代理人
個人
,
個人
主分類
G01M
7/02 20060101AFI20251020BHJP(測定;試験)
要約
【課題】 精度を維持しつつ構成を簡素化した振動発生装置を提供する。
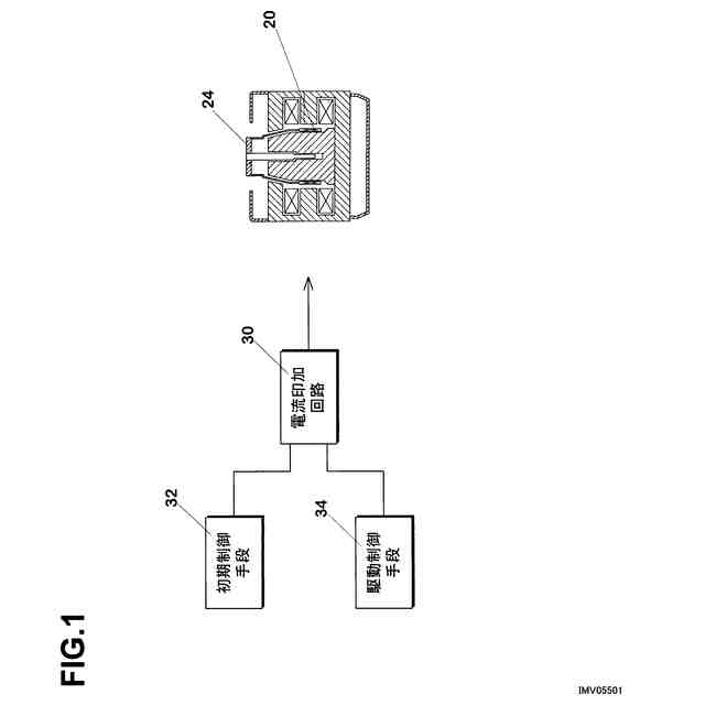
【解決手段】 電流印加回路30は、駆動コイル20に駆動電流を印加するための回路である。初期制御手段32は、電流印加回路30を制御して、駆動コイル20に直流電流を印加する。初期制御手段32は、直流電流の電流値を制御して、駆動コイル20により振動台24を基準点(たとえば、上下振動可能範囲の中央点)に保持させる。上記のように初期設定が完了すると、駆動制御手段34は、前記直流電流に振動のための所望の制御電流を重畳した駆動電流が出力されるように電圧印加回路30を制御する。これにより、駆動コイル20に直流電流に所望の制御電流が重畳された駆動電流が印加され、振動第24が振動させられる。
【選択図】 図1
特許請求の範囲
【請求項1】
磁束を発生させる磁束発生源と、
前記磁束発生源によって発生した磁束中に設けられ、電流によって駆動する駆動コイルと、
前記駆動コイルの駆動力により駆動され、供試体を載置するための振動台と、
前記駆動コイルに駆動電流を与える電流印加回路と、
初期状態において、振動台を基準位置まで持ち上げるため、直流電流を駆動電流として前記駆動コイルに与えるよう電流印加回路を制御する初期制御手段と、
駆動状態において、振動台を振動させるため、制御信号に対応する制御電流を、前記直流電流に重畳し駆動電流として前記駆動コイルに与えるよう電流印加回路を制御する駆動制御手段と、
を備えたことを特徴とする振動発生装置。
続きを表示(約 800 文字)
【請求項2】
請求項1の装置において、
異常状態を検知すると、前記駆動コイルの両端を短絡させる短絡スイッチを、
さらに備えたことを特徴とする装置。
【請求項3】
請求項1の装置において、
異常状態を検知すると作動する前記振動台の落下を防止する落下防止機構をさらに備えることを特徴とする装置。
【請求項4】
請求項1の装置において、
前記初期制御手段によって与えた前記直流電流の値に基づいて、前記振動台に載置された供試体の重量関連値を算出する算出手段をさらに備えたことを特徴とする装置。
【請求項5】
磁束を発生させる磁束発生源と、
前記磁束発生源によって発生した磁束中に設けられ、電流によって駆動する駆動コイルと、
前記駆動コイルの駆動力により駆動され、供試体を載置するための振動台と、 前記駆動コイルに駆動電流を与える電流印加回路と、
初期状態において、振動台を基準位置まで持ち上げるため、直流電流を駆動電流として前記駆動コイルに与えるよう電流印加回路を制御する初期制御手段と、
前記初期制御手段によって与えた前記直流電流の値に基づいて、前記振動台に載置された供試体の重量関連値を算出する算出手段と、
を備えたことを特徴とする振動発生装置。
【請求項6】
振動発生装置の制御器をコンピュータによって実現するための制御プログラムであって、コンピュータを、
初期状態において、振動台を基準位置まで持ち上げるため、直流電流を駆動電流として駆動コイルに与えるよう電流印加回路を制御する初期制御手段と、
前記初期制御手段によって与えた前記直流電流の値に基づいて、振動台に載置された供試体の重量関連値を算出する算出手段として機能させるための制御プログラム。
発明の詳細な説明
【技術分野】
【0001】
この発明は、振動試験などに用いられる振動発生装置に関するものである。
続きを表示(約 1,400 文字)
【背景技術】
【0002】
一般的に、振動発生装置は、加振機とこれを動作させるための電力を供給する電力増幅器によって構成されている。
【0003】
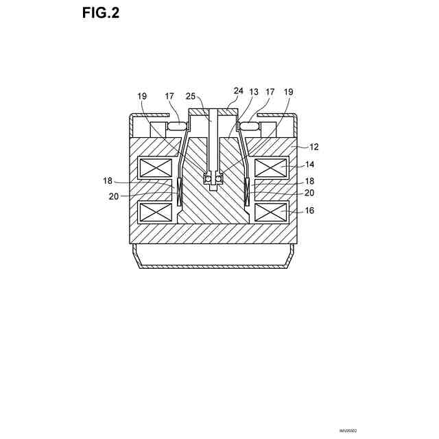
図15Aに、製品の振動試験などに用いられる従来の加振機を示す。磁路部材12、13が設けられている。磁路部材12には、励磁コイル14、16が収納されている。励磁コイル14、16によって、図15Bに示すように、上部磁気回路と下部磁気回路が形成される。これにより、ギャップ18に磁束が生じることになる。
【0004】
このギャップ18に、駆動コイル20が設けられている。したがって、駆動コイル20に所望の振動を生じるための駆動電流を流すと、駆動コイル20を上下させることができる。駆動コイル20には、その上部に振動台24が設けられている。したがって、製品である試料を載置した振動台24を上下に振動させることができる。なお、振動台24は、上部支持機構および下部支持機構(図示せず)によって支持されている。
【0005】
この加振機を使用する際には、まず、振動台24に試料を固定する。この状態で、振動台24の下部に設けられたエアーサスペンション22に空気を送り込み、振動台24を上方向に移動させる。振動台24が上下最大振幅の中央点に達すると、エアーサスペンション22への空気注入を止めて、弁(図示せず)を閉じる。このようにして、初期設定が完了する。
【0006】
以上のようにして、振動台24を中央点まで上昇させると、続いて、アンプにより所望の振動を生じさせるための駆動電力を駆動コイル20に与え、振動台24と試料を振動させる。
【先行技術文献】
【特許文献】
【0007】
特開2002-13033
【発明の概要】
【発明が解決しようとする課題】
【0008】
上記のような振動発生装置では、以下のような問題点があった。
【0009】
第1に、上記のような振動発生装置では、エアーサスペンション22を用いて振動台24を所定の基準位置まで持ち上げている。このため、振動台24を所定の基準位置に合致させるためエアーサスペンション22の電気およびエアー圧を用いた制御が必要であり、構成が複雑となっていた。
【0010】
第2に、加振中はそれが長時間であってもエアーサスペンション22への空気給排気を止めるが、エアーサスペンション22のエアー漏れ(弁の漏れによる給気も含む)があってはならないため、空気弁や配管部材の選定が難しく(電磁弁メーカの見解では、「微量のエアー漏れは常識的にあるもの」とのこと)、加えて配管作業にも留意する必要があった。一般に振動発生装置には直流電流を流せない電力増幅器と流せる電力増幅器両方とも使用可能であるが、前者の場合、エアー漏れが起こると加振中心が移動してしまい、最終的には過変位の保護働く。また後者では、エアーで保持していた中心位置に直流電流を流すことにより保持する結果となり、その直流電流を流すことで保護が働く場合や、加振が完了し電力増幅器を停止させる場合、直流電流を停止するため、保持していた中心から急降下し、場合によっては最下端への衝突で供試品に不要な加振負荷が起こることがあり、供試品を破損させる危険性があった。
(【0011】以降は省略されています)
この特許をJ-PlatPat(特許庁公式サイト)で参照する
関連特許
IMV株式会社
動電式振動発生装置
6日前
個人
メジャー文具
26日前
個人
採尿及び採便具
3日前
個人
アクセサリー型テスター
19日前
個人
高精度同時多点測定装置
18日前
株式会社ミツトヨ
測定器
9日前
日本精機株式会社
位置検出装置
1か月前
日本精機株式会社
位置検出装置
1か月前
日本精機株式会社
位置検出装置
1か月前
ユニパルス株式会社
ロードセル
25日前
大和製衡株式会社
組合せ秤
1か月前
大和製衡株式会社
組合せ秤
1か月前
アズビル株式会社
圧力センサ
1か月前
アズビル株式会社
電磁流量計
12日前
株式会社ヨコオ
ソケット
24日前
トヨタ自動車株式会社
監視装置
24日前
ダイキン工業株式会社
監視装置
23日前
株式会社ユーシン
操作検出装置
1か月前
トヨタ自動車株式会社
検査装置
1か月前
エイブリック株式会社
磁気センサ回路
1か月前
株式会社ヨコオ
ソケット
25日前
株式会社チノー
放射光測温装置
25日前
株式会社東芝
センサ
1か月前
株式会社東芝
センサ
1か月前
TDK株式会社
磁気センサ
24日前
TDK株式会社
ガスセンサ
1か月前
ローム株式会社
半導体装置
17日前
TDK株式会社
ガスセンサ
25日前
株式会社東芝
重量測定装置
1か月前
大和製衡株式会社
組合せ計量装置
6日前
大和製衡株式会社
組合せ計量装置
6日前
TDK株式会社
ガスセンサ
1か月前
愛知時計電機株式会社
ガスメータ
9日前
ローム株式会社
半導体装置
17日前
愛知電機株式会社
軸部材の外観検査装置
6日前
東レエンジニアリング株式会社
計量装置
1か月前
続きを見る
他の特許を見る