TOP
|
特許
|
意匠
|
商標
特許ウォッチ
Twitter
他の特許を見る
公開番号
2025162914
公報種別
公開特許公報(A)
公開日
2025-10-28
出願番号
2024066417
出願日
2024-04-16
発明の名称
二次電池及び二次電池の制御方法
出願人
トヨタ自動車株式会社
,
株式会社豊田自動織機
代理人
弁理士法人太陽国際特許事務所
主分類
H01M
50/333 20210101AFI20251021BHJP(基本的電気素子)
要約
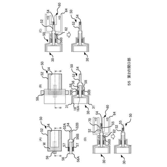
【課題】ラミネートフィルムで形成された外装部材内部において拘束力を発生させることができる二次電池及び二次電池の制御方法を得る。
【解決手段】二次電池10は、ラミネートフィルムを重ね合わせた状態で周縁が封止され、内部に密閉空間Sを有する外装部材30と、密閉空間Sに収容された電極モジュール20と、密閉空間Sを開閉可能なポート部50と、を備える。ポート部50は、一部を除く周縁が封止された袋状のシール部52と、一端部56Aがシール部52外に配設されると共に密閉空間S内と連通され、他端部56Bがシール部52内に配設されて、他端部56Bの少なくとも一部の外周面が、第2のシーラントフィルムを介してシール部52の周縁の第2のラミネートフィルムで固着された金属パイプ56と、を備える
【選択図】図1
特許請求の範囲
【請求項1】
ラミネートフィルムを重ね合わせた状態で周縁が封止され、内部に密閉空間を有する外装部材と、
前記密閉空間に収容された電極モジュールと、
前記周縁の少なくとも一部に設けられ、前記密閉空間と連通し、前記密閉空間を開閉可能なポート部と、を備え、
前記ポート部が、空気が流入する流入口を有する一端部が前記密閉空間内と連通され、空気を排出する排出口を有する他端部が前記密閉空間外に配設されて、前記流入口から前記排出口までの通気路を開閉可能なバルブ部を備える二次電池。
続きを表示(約 690 文字)
【請求項2】
前記バルブ部は、前記一端部に平坦部が設けられており、当該平坦部の表裏面が、シーラントフィルムを介して前記周縁の前記ラミネートフィルムで固着されている請求項1に記載の二次電池。
【請求項3】
ラミネートフィルムを重ね合わせた状態で周縁が封止され、内部に密閉空間を有する外装部材と、
前記密閉空間に収容された電極モジュールと、
前記周縁の少なくとも一部に設けられ、前記密閉空間と連通し、前記密閉空間を開閉可能なポート部と、を備え、
当該ポート部は、
第2のラミネートフィルムを重ね合わせた状態で、一部を除く周縁が封止された袋状のシール部と、
一端部が前記シール部外に配設されると共に前記密閉空間内と連通され、前記一端部以外の他端部が前記シール部内に配設されて、前記他端部の少なくとも一部の外周面が、第2のシーラントフィルムを介して前記シール部の前記周縁の前記第2のラミネートフィルムで固着された金属パイプと、を備える二次電池。
【請求項4】
前記シール部は、前記一部の前記周縁に開口部を有しており、
当該開口部は閉塞可能であり、閉塞された前記開口部を切り外すことにより第2の開口部を形成可能である請求項3に記載の二次電池。
【請求項5】
請求項1又は請求項3に記載の二次電池の制御方法であって、
前記密閉空間内の内圧を測定し、
測定された内圧が予め定められた閾値以上である場合に、前記ポート部により前記密閉空間内を減圧させるための警告を行う制御方法。
発明の詳細な説明
【技術分野】
【0001】
本発明は、二次電池及び二次電池の制御方法に関する。
続きを表示(約 1,700 文字)
【背景技術】
【0002】
下記特許文献1には、複数のラミネート外装電池をその厚さ方向に積層した積層体において、積層体内でのラミネート外装電池間の少なくとも1つの積層面における接触圧あるいは、積層体と積層体を保持する保持部材との当接面における接触圧を検出し、接触圧が所定の閾値を超えている場合に過電圧が発生したものと判断する過電圧検出方法が開示されている。また、下記特許文献2~4には、ラミネート外装体に収容された電池において、内部ガスを排出するポートを設けた構造が開示されている。
【先行技術文献】
【特許文献】
【0003】
特開2006-269345号公報
特許第7040294号公報
特開2016-31934号公報
特表2023-529685号公報
【発明の概要】
【発明が解決しようとする課題】
【0004】
ところで、ラミネート外装体の内部を減圧することにより、ラミネート外装体内部と外部の大気圧との差圧によって、ラミネート外装体内部の電極モジュールに拘束圧を掛けることができる。しかしながら、ラミネート外装体の経年劣化等により、市場環境において、ラミネート外装体内部へ酸素や窒素が侵入してしまう可能性があり、ラミネート外装体内部へ酸素や窒素が侵入してしまうと、ラミネート外装体内の圧力が上昇してしまい、拘束圧が不十分となってしまう場合がある。
【0005】
本発明は上記事実を考慮し、ラミネートフィルムで形成された外装部材内部において拘束力を発生させることができる二次電池及び二次電池の制御方法を提供することを目的とする。
【課題を解決するための手段】
【0006】
請求項1に記載の本発明に係る二次電池は、ラミネートフィルムを重ね合わせた状態で周縁が封止され、内部に密閉空間を有する外装部材と、前記密閉空間に収容された電極モジュールと、前記周縁の少なくとも一部に設けられ、前記密閉空間と連通し、前記密閉空間を開閉可能なポート部と、を備え、前記ポート部が、空気が流入する流入口を有する一端部が前記密閉空間内と連通され、空気を排出する排出口を有する他端部が前記密閉空間外に配設されて、前記流入口から前記排出口までの通気路を開閉可能なバルブ部を備えるる。
【0007】
ここで、本発明において「密閉空間」は、厳密に密閉された空間のみを意図するものではなく、閉じられた空間ではあるものの、例えば外装部材の経年劣化等により空気などの出入りが若干生じるものを含んでいる。
【0008】
請求項1に記載の本発明に係る二次電池では、ラミネートフィルムを重ね合わせた状態で封止された周縁の少なくとも一部に、外装部材の内部の密閉空間と連通し、密閉空間を開閉可能なポート部が設けられている。また、ポート部が、流入口を有する一端部が密閉空間内と連通され、排出口を有する他端部が密閉空間外に配設されて、流入口から排出口までの通気路を開閉可能なバルブ部を備えている。そのため、バルブ部によって通気路を開状態とすることにより、密閉空間内の空気を流入口から流入させて排出口から排出させることができる。これにより、密閉空間内の圧力を低下させることができるので、ラミネートフィルムで形成された外装部材内部において拘束力を発生させることができる。
【0009】
請求項2に記載の本発明に係る二次電池は、請求項1に記載の構成において、前記バルブ部は、前記一端部に平坦部が設けられており、当該平坦部の表裏面が、シーラントフィルムを介して前記周縁の前記ラミネートフィルムで固着されている。
【0010】
請求項2に記載の本発明に係る二次電池では、流入口を有する一端部に設けられた平坦部の表裏面が、シーラントフィルムを介してラミネートフィルムで固着されているので、筒状の外周面をラミネートフィルムで固着する場合と比較して、シール性を向上させることができる。
(【0011】以降は省略されています)
この特許をJ-PlatPat(特許庁公式サイト)で参照する
関連特許
トヨタ自動車株式会社
治具
3日前
トヨタ自動車株式会社
車両
4日前
トヨタ自動車株式会社
電池
8日前
トヨタ自動車株式会社
車両
8日前
トヨタ自動車株式会社
方法
8日前
トヨタ自動車株式会社
車両
2日前
トヨタ自動車株式会社
車両
2日前
トヨタ自動車株式会社
方法
9日前
トヨタ自動車株式会社
車両
9日前
トヨタ自動車株式会社
方法
9日前
トヨタ自動車株式会社
車両
10日前
トヨタ自動車株式会社
車体
11日前
トヨタ自動車株式会社
方法
10日前
トヨタ自動車株式会社
自動車
9日前
トヨタ自動車株式会社
電動機
8日前
トヨタ自動車株式会社
モータ
10日前
トヨタ自動車株式会社
サーバ
5日前
トヨタ自動車株式会社
モータ
5日前
トヨタ自動車株式会社
正極層
8日前
トヨタ自動車株式会社
燃料電池
10日前
トヨタ自動車株式会社
蓄電セル
8日前
トヨタ自動車株式会社
蓄電セル
8日前
トヨタ自動車株式会社
塗工装置
8日前
トヨタ自動車株式会社
路側装置
8日前
トヨタ自動車株式会社
塗工装置
10日前
トヨタ自動車株式会社
蓄電装置
2日前
トヨタ自動車株式会社
蓄電装置
3日前
トヨタ自動車株式会社
固体電池
5日前
トヨタ自動車株式会社
電源装置
3日前
トヨタ自動車株式会社
報知装置
10日前
トヨタ自動車株式会社
制御装置
5日前
トヨタ自動車株式会社
冷却構造
10日前
トヨタ自動車株式会社
蓄電セル
8日前
トヨタ自動車株式会社
蓄電装置
5日前
トヨタ自動車株式会社
電池装置
4日前
トヨタ自動車株式会社
蓄電装置
2日前
続きを見る
他の特許を見る