TOP
|
特許
|
意匠
|
商標
特許ウォッチ
Twitter
他の特許を見る
公開番号
2025163889
公報種別
公開特許公報(A)
公開日
2025-10-30
出願番号
2024067507
出願日
2024-04-18
発明の名称
蓄電装置
出願人
トヨタ自動車株式会社
代理人
弁理士法人深見特許事務所
主分類
H01M
50/242 20210101AFI20251023BHJP(基本的電気素子)
要約
【課題】周囲からの衝撃によって損傷することを抑制することができる蓄電装置を提供する。
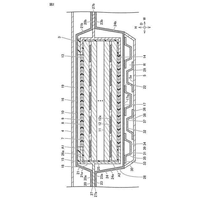
【解決手段】蓄電装置3は、車両1に搭載され、上下方向Hに蓄電モジュール11が積層されることによって形成された積層体7と、積層体7を収容する収容ケース10とを備える。収容ケース10は、収容ケース10のケース上面に位置する天板19と、収容ケース10のケース下面に位置する底板22と、天板19および底板22を接続する周壁28と、保持部材18とを含む。積層体7は、上面13および下面14と、上面13および下面14を接続する周面15とを含む。保持部材18は、保持起立壁25と、保持フランジ27とを有す。保持起立壁25は、周面15を覆うように形成されており、保持フランジ27は、保持起立壁25に設けられると共に、周壁28に固定されている。
【選択図】図2
特許請求の範囲
【請求項1】
車両に搭載される蓄電装置であって、
前記蓄電装置は、上下方向に蓄電モジュールが積層されることによって形成された積層体と、前記積層体を収容する収容ケースとを備え、
前記収容ケースは、前記収容ケースのケース上面に位置する天板と、前記収容ケースのケース下面に位置する底板と、前記天板および前記底板を接続する周壁と、保持部材とを含み、
前記積層体は、上面および下面と、前記上面および前記下面を接続する周面とを含み、
前記保持部材は、保持起立壁と、保持フランジとを有し、
前記保持起立壁は、前記周面を覆うように形成されており、
前記保持フランジは、前記保持起立壁に設けられると共に、前記周壁に固定された、蓄電装置。
続きを表示(約 430 文字)
【請求項2】
前記保持起立壁は、幅方向に配列する第1側壁および第2側壁を含み、
前記保持フランジは、前記第1側壁と前記第2側壁との少なくとも一方に固定された、請求項1に記載の蓄電装置。
【請求項3】
前記保持部材は、さらに、被覆部材を有し、
前記被覆部材は、前記保持起立壁の前記上下方向に配列する端部の少なくとも一方から環状に延びるように形成されるとともに、前記積層体の前記上面および前記下面の少なくとも一方の外縁部を覆うように形成されている、請求項1または請求項2に記載の蓄電装置。
【請求項4】
前記被覆部材は、前記保持起立壁の上端に接続された上端被覆部を含み、
前記上端被覆部は、前記天板のうち前記上端被覆部と前記上下方向に対応する部分に接着されている、請求項3に記載の蓄電装置。
【請求項5】
前記保持部材は、前記積層体に接着されている、請求項1または請求項2に記載の蓄電装置。
発明の詳細な説明
【技術分野】
【0001】
本開示は、蓄電装置に関する。
続きを表示(約 1,100 文字)
【背景技術】
【0002】
例えば、特開2024-007753号公報には、車両下部に搭載されたバイポーラ電池の側面部分の構成が開示されている。
【先行技術文献】
【特許文献】
【0003】
特開2024-007753号公報
【発明の概要】
【発明が解決しようとする課題】
【0004】
上記特許文献1に係る電池は、周囲からの衝撃に弱く、周囲からの衝撃に対する電池の保護について改善の余地がある。
【0005】
本開示は、上記課題を解決するためになされたものであり、その目的は、周囲からの衝撃によって損傷することを抑制できる蓄電装置を提供することである。
【課題を解決するための手段】
【0006】
本開示の第1の局面に係る蓄電装置は、車両に搭載される蓄電装置であって、上下方向に蓄電モジュールが積層されることによって形成された積層体と、積層体を収容する収容ケースとを備え、収容ケースは、収容ケースのケース上面に位置する天板と、収容ケースのケース下面に位置する底板と、天板および底板を接続する周壁と、保持部材とを含み、積層体は、上面および下面と、上面および下面を接続する周面とを含み、保持部材は、保持起立壁と、保持フランジとを有し、保持起立壁は、周面を覆うように形成されており、保持フランジは、保持起立壁に設けられると共に、周壁に固定されている。
【0007】
本開示の第1の局面に係る蓄電装置における保持起立壁は、幅方向に配列する第1側壁および第2側壁を含み、保持フランジは、第1側壁と第2側壁との少なくとも一方に固定されている。
【0008】
本開示の第1の局面に係る蓄電装置における保持部材は、さらに、被覆部材を有し、被覆部材は、保持起立壁の上下方向に配列する端部の少なくとも一方から環状に延びるように形成されるとともに、積層体から上下方向に離れた位置から積層体を平面視した場合における積層体の外縁部を覆うように形成されている、請求項1または請求項2に記載の蓄電装置。
【0009】
本開示の第1の局面に係る蓄電装置における被覆部材は、保持起立壁の上端に接続された上端被覆部を含み、上端被覆部は、天板のうち上端被覆部と上下方向に対応する部分に接着されている。
【0010】
本開示の第1の局面に係る蓄電装置における保持部材は、積層体に接着されている。
【発明の効果】
(【0011】以降は省略されています)
この特許をJ-PlatPat(特許庁公式サイト)で参照する
関連特許
トヨタ自動車株式会社
電池
15日前
トヨタ自動車株式会社
車両
4日前
トヨタ自動車株式会社
椅子
18日前
トヨタ自動車株式会社
方法
9日前
トヨタ自動車株式会社
方法
9日前
トヨタ自動車株式会社
方法
18日前
トヨタ自動車株式会社
方法
18日前
トヨタ自動車株式会社
車両
17日前
トヨタ自動車株式会社
車両
15日前
トヨタ自動車株式会社
車両
8日前
トヨタ自動車株式会社
車両
2日前
トヨタ自動車株式会社
車両
2日前
トヨタ自動車株式会社
車両
10日前
トヨタ自動車株式会社
方法
10日前
トヨタ自動車株式会社
車体
11日前
トヨタ自動車株式会社
電池
24日前
トヨタ自動車株式会社
治具
3日前
トヨタ自動車株式会社
車両
22日前
トヨタ自動車株式会社
車両
9日前
トヨタ自動車株式会社
車両
23日前
トヨタ自動車株式会社
電池
8日前
トヨタ自動車株式会社
方法
8日前
トヨタ自動車株式会社
加熱器
22日前
トヨタ自動車株式会社
飛行体
15日前
トヨタ自動車株式会社
モータ
10日前
トヨタ自動車株式会社
固定子
23日前
トヨタ自動車株式会社
モータ
5日前
トヨタ自動車株式会社
自動車
9日前
トヨタ自動車株式会社
電磁弁
18日前
トヨタ自動車株式会社
電動車
18日前
トヨタ自動車株式会社
モータ
16日前
トヨタ自動車株式会社
正極層
8日前
トヨタ自動車株式会社
電動機
8日前
トヨタ自動車株式会社
サーバ
5日前
トヨタ自動車株式会社
電源装置
3日前
トヨタ自動車株式会社
報知装置
10日前
続きを見る
他の特許を見る