TOP
|
特許
|
意匠
|
商標
特許ウォッチ
Twitter
他の特許を見る
10個以上の画像は省略されています。
公開番号
2025163789
公報種別
公開特許公報(A)
公開日
2025-10-30
出願番号
2024067309
出願日
2024-04-18
発明の名称
蓄電装置
出願人
トヨタ自動車株式会社
代理人
弁理士法人深見特許事務所
主分類
H01M
50/242 20210101AFI20251023BHJP(基本的電気素子)
要約
【課題】上方からの荷重の入力に対する剛性が高く、かつ、分解容易な蓄電装置を提供する。
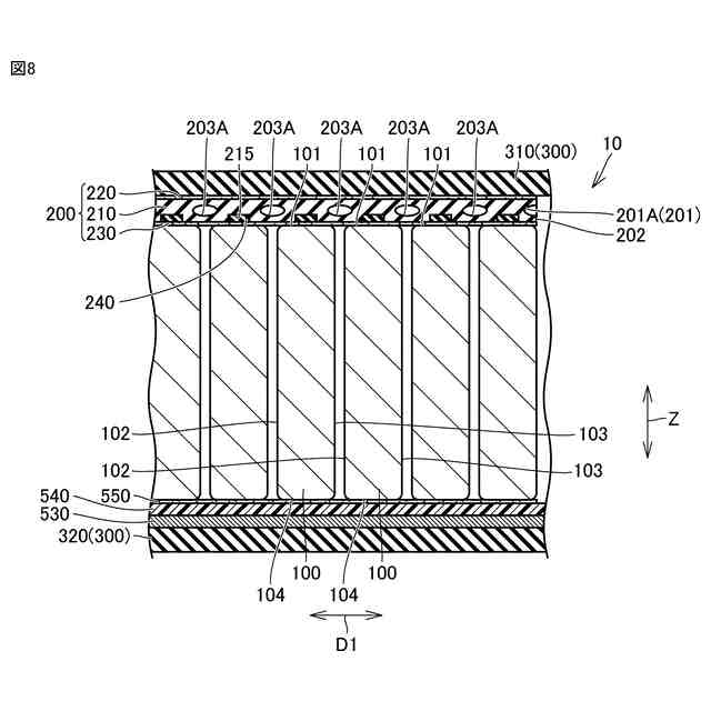
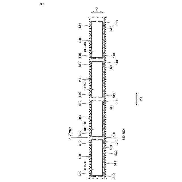
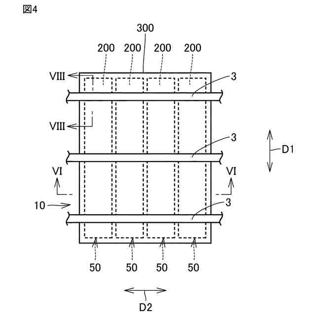
【解決手段】蓄電装置10は、車両1に搭載可能であって、複数のセル100と、緩衝部200と、上板部310とを備えている。複数のセル100は、水平方向に沿う第1方向D1に並んでいる。緩衝部200は、複数のセル100の各々の上部101と接合している。緩衝部200は、第1方向D1に延びている。上板部310は、緩衝部200の上方に配置されている。上板部310は、緩衝部200と接合している。緩衝部200は、上下方向Zの引張応力が生じたときに上下方向Zに分離可能に構成されている。緩衝部200は、起点部201を有している。起点部201は、第1方向D1における端縁202において、緩衝部200の分離の起点となる。
【選択図】図9
特許請求の範囲
【請求項1】
車両に搭載可能な蓄電装置であって、
水平方向に沿う第1方向に並ぶ複数のセルと、
前記複数のセルの各々の上部と接合し、前記第1方向に延びている緩衝部と、
前記緩衝部の上方に配置され、前記緩衝部と接合している、上板部とを備え、
前記緩衝部は、上下方向の引張応力が生じたときに前記上下方向に分離可能に構成されており、
前記緩衝部は、前記第1方向における端縁において、前記緩衝部の分離の起点となる起点部を有している、蓄電装置。
続きを表示(約 510 文字)
【請求項2】
前記緩衝部は、前記起点部として、前記第1方向を向く開口部を有している、請求項1に記載の蓄電装置。
【請求項3】
前記緩衝部は、前記第1方向に並ぶ複数の空隙部を有している、請求項2に記載の蓄電装置。
【請求項4】
前記緩衝部は、前記起点部として、前記端縁から内部に向かって延びる切込部を有している、請求項1に記載の蓄電装置。
【請求項5】
前記緩衝部は、前記切込部の下方に位置する下側緩衝部と、前記切込部の上方に位置する上側緩衝部とを含み、
前記上側緩衝部は、前記上側緩衝部が上側に引っ張られたときに前記下側緩衝部との係合が解除されるように、前記下側緩衝部と係合する係合部を有している、請求項4に記載の蓄電装置。
【請求項6】
前記緩衝部は、
前記第1方向に延びる板状の本体部と、
前記本体部と前記上板部とを互いに接合する接着材層とを含み、
前記接着材層は、強接着部と、前記起点部として該強接着部より弱い接合強度で前記本体部と前記上板部とを互いに接合する、弱接着部とを含む、請求項1に記載の蓄電装置。
発明の詳細な説明
【技術分野】
【0001】
本開示は、蓄電装置に関する。
続きを表示(約 1,200 文字)
【背景技術】
【0002】
特開2020-142589号公報(特許文献1)には、フロアパネルの下方側に、電池パックが配設されていることが開示されている。
【先行技術文献】
【特許文献】
【0003】
特開2020-142589号公報
【発明の概要】
【発明が解決しようとする課題】
【0004】
車両に搭載される蓄電装置のエネルギー密度を高めることができる、蓄電装置の構造が検討されている。たとえば、フロアパネルの下方に配置される蓄電装置を可能な限りフロアパネルに近づけることや、蓄電装置自体がフロアパネルの一部を構成することも検討されている。しかしながら、蓄電装置を上記のように設計した場合には、車室内側すなわち上側からの荷重によって、蓄電装置の上方から荷重が入力される可能性がある。そして、当該荷重の入力に対する剛性を高める構造を備えるように蓄電装置を設計すると、メンテナンス時においては蓄電装置を上側から分解することが困難となり得る。
【0005】
本開示は上記の問題点に鑑みてなされたものであり、上方からの荷重の入力に対する剛性が高く、かつ、分解容易な蓄電装置を提供することを目的とする。
【課題を解決するための手段】
【0006】
本開示のある局面に従う蓄電装置は、車両に搭載可能である。蓄電装置は、複数のセルと、緩衝部と、上板部とを備えている。複数のセルは、水平方向に沿う第1方向に並んでいる。緩衝部は、複数のセルの各々の上部と接合している。緩衝部は、第1方向に延びている。上板部は、緩衝部の上方に配置されている。上板部は、緩衝部と接合している。緩衝部は、上下方向の引張応力が生じたときに上下方向に分離可能に構成されている。緩衝部は、起点部を有している。起点部は、第1方向における端縁において、緩衝部の分離の起点となる。
【0007】
本開示のある局面に従う蓄電装置において、好ましくは、緩衝部が、起点部として、第1方向を向く開口部を有している。
【0008】
本開示のある局面に従う蓄電装置において、好ましくは、緩衝部が、第1方向に並ぶ複数の空隙部を有している。
【0009】
本開示のある局面に従う蓄電装置において、好ましくは、緩衝部が、起点部として、端縁から内部に向かって延びる切込部を有している。
【0010】
本開示のある局面に従う蓄電装置において、好ましくは、緩衝部が、下側緩衝部と、上側緩衝部とを含んでいる。下側緩衝部は、切込部の下方に位置している。上側緩衝部は、切込部の上方に位置する。上側緩衝部は、係合部を有している。係合部は、上側緩衝部が上側に引っ張られたときに下側緩衝部との係合が解除されるように、下側緩衝部と係合している。
(【0011】以降は省略されています)
この特許をJ-PlatPat(特許庁公式サイト)で参照する
関連特許
トヨタ自動車株式会社
車体
12日前
トヨタ自動車株式会社
車両
16日前
トヨタ自動車株式会社
車両
9日前
トヨタ自動車株式会社
車両
5日前
トヨタ自動車株式会社
治具
4日前
トヨタ自動車株式会社
方法
10日前
トヨタ自動車株式会社
車両
3日前
トヨタ自動車株式会社
車両
3日前
トヨタ自動車株式会社
方法
10日前
トヨタ自動車株式会社
方法
11日前
トヨタ自動車株式会社
車両
10日前
トヨタ自動車株式会社
車両
11日前
トヨタ自動車株式会社
電池
9日前
トヨタ自動車株式会社
方法
9日前
トヨタ自動車株式会社
電池
16日前
トヨタ自動車株式会社
サーバ
6日前
トヨタ自動車株式会社
正極層
9日前
トヨタ自動車株式会社
電動機
9日前
トヨタ自動車株式会社
モータ
11日前
トヨタ自動車株式会社
飛行体
16日前
トヨタ自動車株式会社
モータ
6日前
トヨタ自動車株式会社
モータ
17日前
トヨタ自動車株式会社
自動車
10日前
トヨタ自動車株式会社
電源装置
16日前
トヨタ自動車株式会社
報知装置
11日前
トヨタ自動車株式会社
燃料電池
11日前
トヨタ自動車株式会社
冷却構造
11日前
トヨタ自動車株式会社
路側装置
9日前
トヨタ自動車株式会社
電源装置
4日前
トヨタ自動車株式会社
乾燥装置
16日前
トヨタ自動車株式会社
充電装置
11日前
トヨタ自動車株式会社
塗工装置
11日前
トヨタ自動車株式会社
蓄電装置
3日前
トヨタ自動車株式会社
蓄電装置
3日前
トヨタ自動車株式会社
蓄電装置
3日前
トヨタ自動車株式会社
製造方法
16日前
続きを見る
他の特許を見る