TOP
|
特許
|
意匠
|
商標
特許ウォッチ
Twitter
他の特許を見る
公開番号
2025164558
公報種別
公開特許公報(A)
公開日
2025-10-30
出願番号
2024068609
出願日
2024-04-19
発明の名称
電池パック
出願人
トヨタ自動車株式会社
代理人
弁理士法人太陽国際特許事務所
主分類
H01M
10/658 20140101AFI20251023BHJP(基本的電気素子)
要約
【課題】部品点数が低減されても、電池モジュール間の熱伝導を抑制することができる電池パックが提供される。
【解決手段】本開示の電池パックは、複数の電池モジュールと、少なくとも1つのブラケットと、少なくとも1つの断熱部材と、電池パック容器と、を備える。電池モジュールは、複数の電池セルと、前記複数の電池セルを収容する電池モジュール容器とを有する。ブラケットは、前記電池モジュール容器に取り付けられ、前記複数の電池モジュールのうちの隣り合う電池モジュール同士を繋ぐ。断熱部材は、前記隣り合う電池モジュール同士の間に配置されている。電池パック容器は、前記複数の電池モジュール、前記少なくとも1つのブラケット及び前記少なくとも1つの断熱部材を収容する。前記断熱部材は、前記ブラケットに保持されている。
【選択図】図3
特許請求の範囲
【請求項1】
複数の電池セル及び前記複数の電池セルを収容する電池モジュール容器を有する複数の電池モジュールと、
前記電池モジュール容器に取り付けられ、前記複数の電池モジュールのうちの隣り合う電池モジュール同士を繋ぐ少なくとも1つのブラケットと、
少なくとも1つの断熱部材と、
前記複数の電池モジュール、前記少なくとも1つのブラケット及び前記少なくとも1つの断熱部材を収容する電池パック容器と、を備え、
前記断熱部材が、前記ブラケットに保持されている、電池パック。
続きを表示(約 490 文字)
【請求項2】
前記断熱部材が、前記隣り合う電池モジュール同士の間の空間の少なくとも一部を仕切る断熱板を有し、
前記ブラケットが、貫通孔を有し、
前記断熱板が、前記貫通孔に嵌まっている、請求項1に記載の電池パック。
【請求項3】
前記断熱部材が、前記ブラケットに取り付けられており、かつ前記隣り合う電池モジュール同士の間の空間の少なくとも一部を塞ぐ蓋板を更に有し、
前記断熱板が、第1切り欠き部を有し、
前記蓋板が、第2切り欠き部を有し、
前記第1切り欠き部と前記第2切り欠き部とが、嵌まり合っている、請求項2に記載の電池パック。
【請求項4】
前記断熱部材が、前記隣り合う電池モジュール同士の間の空間の少なくとも一部を仕切る断熱板を有し、
前記ブラケットが、溝を有し、
前記断熱板が、前記溝に嵌まっている、請求項1に記載の電池パック。
【請求項5】
前記電池セルが、ラミネート型リチウムイオン二次電池を含む、請求項1~請求項4のいずれか1項に記載の電池パック。
発明の詳細な説明
【技術分野】
【0001】
本開示は、電池パックに関する。
続きを表示(約 1,400 文字)
【背景技術】
【0002】
リチウムイオン電池を用いた電池パックでは、リチウムイオン電池の熱暴走の発生時に電池モジュール間の熱伝導を防止する技術の開発が行われている。
【0003】
特許文献1は、バッテリパック(以下、「電池パック」ともいう)を開示している。当該電池パックは、複数のバッテリモジュール(以下、「電池モジュール」ともいう)を備える。電池パックの筐体内には、複数の電池モジュールが収容されている。隣り合う電池モジュールの間には、耐火材が配置されている。電池モジュールを形成する筐体(以下、「電池モジュール容器」ともいう)に耐火材を設置し固定する方法として、粘着材を介して耐火材を電池モジュール容器に固定する方法と、耐火材を電池モジュール容器に積層した後に枠を用いて固定する方法とが開示されている。
【先行技術文献】
【特許文献】
【0004】
特開2018-206604号公報
【発明の概要】
【発明が解決しようとする課題】
【0005】
しかしながら、特許文献1に開示の電池パックでは、隣り合う電池モジュール同士を繋ぐブラケットに加えて、耐火材の固定のための固定用部品(例えば、粘着剤又は枠)が必要である。そのため、固定用部品がなくても(すなわち、部品点数が低減されても)、電池モジュール間の熱伝導を抑制することができる電池パックが求められている。
【0006】
本開示は、上記事情に鑑みたものである。
本開示の一実施形態が解決しようとする課題は、部品点数が低減されても、電池モジュール間の熱伝導を抑制することができる電池パックを提供することである。
【課題を解決するための手段】
【0007】
上記課題を解決するための手段には、以下の実施態様が含まれる。
【0008】
<1>第1態様の電池パックは、
複数の電池セル及び前記複数の電池セルを収容する電池モジュール容器を有する複数の電池モジュールと、
前記電池モジュール容器に取り付けられ、前記複数の電池モジュールのうちの隣り合う電池モジュール同士を繋ぐ少なくとも1つのブラケットと、
前記隣り合う電池モジュール同士の間に配置された少なくとも1つの断熱部材と、
前記複数の電池モジュール、前記少なくとも1つのブラケット及び前記少なくとも1つの断熱部材を収容する電池パック容器と、を備え、
前記断熱部材が、前記ブラケットに保持されている、電池パックである。
【0009】
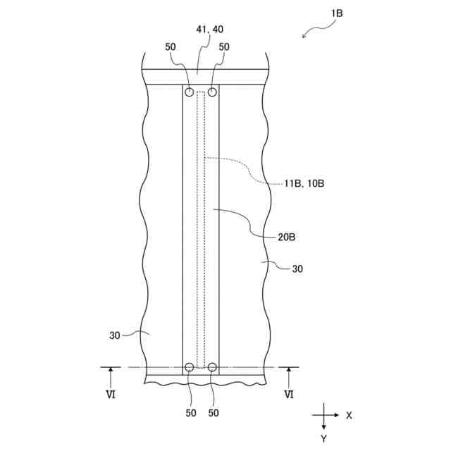
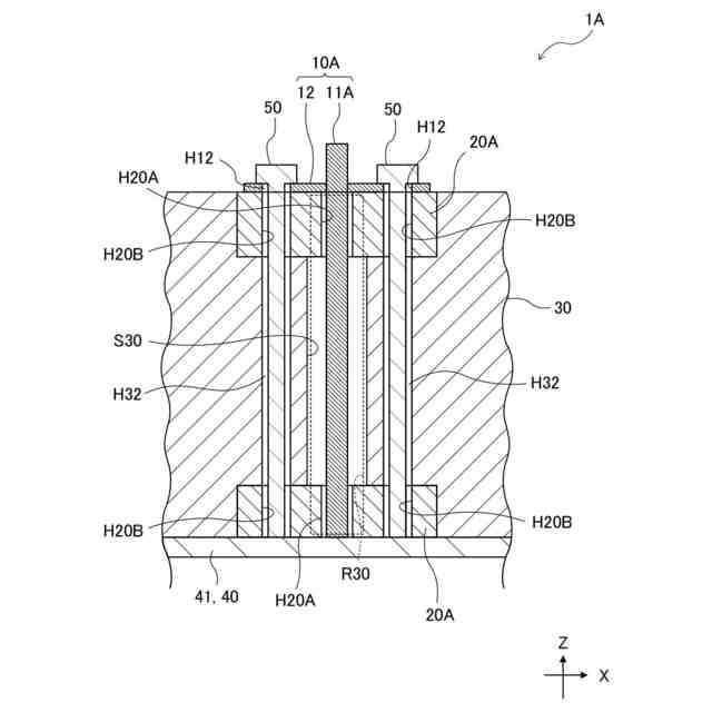
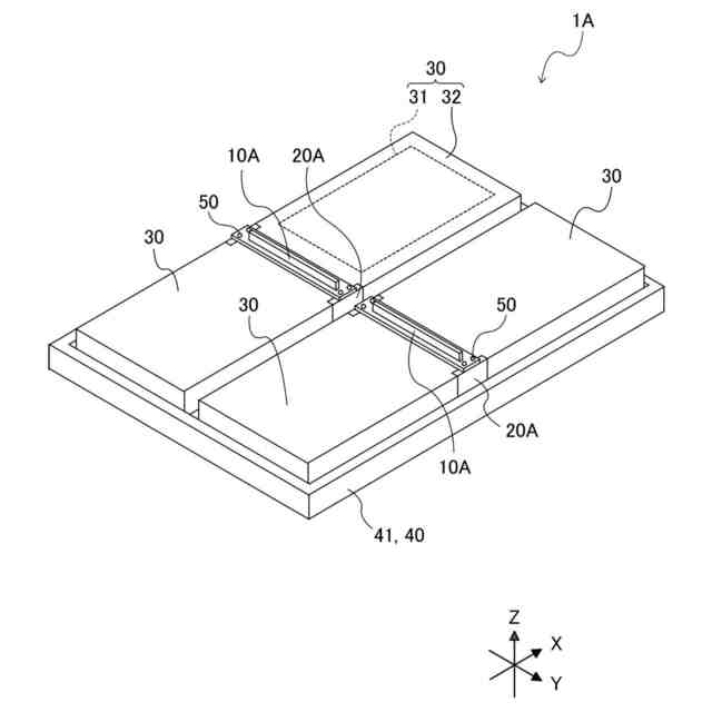
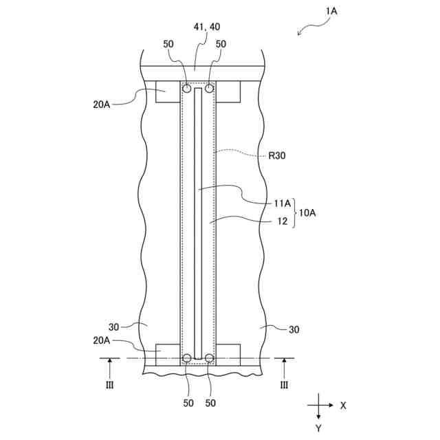
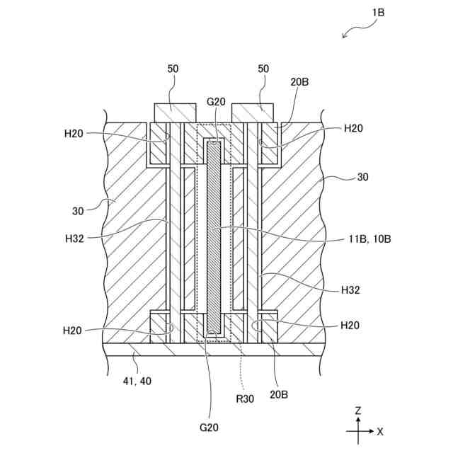
第1態様では、断熱部材は、ブラケットに保持されている。つまり、第1態様のブラケットは、従来のブラケットとは異なり、断熱部材を保持する機能を有する。これにより、従来の固定用部品がなくても、断熱部材は、隣り合う電池モジュール同士の間の空間に配置される。その結果、第1態様の電池パックは、部品点数が低減されても、電池モジュール間の熱伝導を抑制することができる。
【0010】
<2>第2態様の電池パックは、
前記断熱部材が、前記隣り合う電池モジュール同士の間の空間の少なくとも一部を仕切る断熱板を有し、
前記ブラケットが、貫通孔を有し、
前記断熱板が、前記貫通孔に嵌まっている、前記<1>に記載の電池パックである。
(【0011】以降は省略されています)
この特許をJ-PlatPat(特許庁公式サイト)で参照する
関連特許
トヨタ自動車株式会社
方法
12日前
トヨタ自動車株式会社
車両
今日
トヨタ自動車株式会社
車両
6日前
トヨタ自動車株式会社
治具
7日前
トヨタ自動車株式会社
車両
8日前
トヨタ自動車株式会社
電池
12日前
トヨタ自動車株式会社
車両
12日前
トヨタ自動車株式会社
方法
13日前
トヨタ自動車株式会社
方法
13日前
トヨタ自動車株式会社
車両
13日前
トヨタ自動車株式会社
車両
14日前
トヨタ自動車株式会社
方法
14日前
トヨタ自動車株式会社
車両
6日前
トヨタ自動車株式会社
電池
19日前
トヨタ自動車株式会社
車体
15日前
トヨタ自動車株式会社
電池
今日
トヨタ自動車株式会社
飛行体
19日前
トヨタ自動車株式会社
サーバ
9日前
トヨタ自動車株式会社
モータ
14日前
トヨタ自動車株式会社
モータ
9日前
トヨタ自動車株式会社
電動機
12日前
トヨタ自動車株式会社
自動車
13日前
トヨタ自動車株式会社
正極層
12日前
トヨタ自動車株式会社
路側装置
12日前
トヨタ自動車株式会社
固体電池
9日前
トヨタ自動車株式会社
制御装置
9日前
トヨタ自動車株式会社
蓄電装置
9日前
トヨタ自動車株式会社
冷却構造
14日前
トヨタ自動車株式会社
電池装置
8日前
トヨタ自動車株式会社
塗工装置
12日前
トヨタ自動車株式会社
蓄電装置
7日前
トヨタ自動車株式会社
電源装置
7日前
トヨタ自動車株式会社
蓄電装置
6日前
トヨタ自動車株式会社
蓄電装置
6日前
トヨタ自動車株式会社
端末装置
19日前
トヨタ自動車株式会社
充電設備
19日前
続きを見る
他の特許を見る