TOP
|
特許
|
意匠
|
商標
特許ウォッチ
Twitter
他の特許を見る
公開番号
2025165616
公報種別
公開特許公報(A)
公開日
2025-11-05
出願番号
2024069767
出願日
2024-04-23
発明の名称
開閉機構
出願人
スズキ株式会社
代理人
個人
,
個人
,
個人
主分類
B62J
1/12 20060101AFI20251028BHJP(鉄道以外の路面車両)
要約
【課題】簡易な構成で操作し易い開閉機構を提供する。
【解決手段】開閉機構(50)は、鞍乗型車両の車体にシート(16)を開閉可能に連結している。開閉機構には、車体に取り付けられたベースブラケット(61)と、シートに取り付けられたシートブラケット(51、52)と、シートに開方向の反発力を付与する反発部材(71)と、が設けられている。シートブラケットがベースブラケットに揺動可能に連結され、反発部材の基端部(73)が車体に揺動可能に連結され、反発部材の先端部(72)がシートに揺動可能に連結されっている。シートが閉じた状態では、シートブラケットの揺動中心(C3)と反発部材の基端部の揺動中心(C2)を結ぶ直線(L1)上又は当該直線よりも下方に、反発部材の先端部の揺動中心(C1)が位置している。
【選択図】図5
特許請求の範囲
【請求項1】
鞍乗型車両の車体に開閉可能に連結されるシートの開閉機構であって、
前記車体に取り付けられたベースブラケットと、
前記シートに取り付けられたシートブラケットと、
前記シートに開方向の反発力を付与する反発部材と、を備え、
前記シートブラケットが前記ベースブラケットに揺動可能に連結され、
前記反発部材の基端部が前記車体に揺動可能に連結され、
前記反発部材の先端部が前記シートに揺動可能に連結され、
前記シートが閉じた状態では、前記シートブラケットの揺動中心と前記反発部材の基端部の揺動中心を結ぶ直線上又は当該直線よりも下方に、前記反発部材の先端部の揺動中心が位置していることを特徴とする開閉機構。
続きを表示(約 1,100 文字)
【請求項2】
前記反発部材は前記シートブラケットの車幅方向両端よりも内側に位置していることを特徴とする請求項1に記載の開閉機構。
【請求項3】
上面視にて前記反発部材は車幅方向の中間位置に位置することを特徴とする請求項2に記載の開閉機構。
【請求項4】
前記反発部材の基端部よりも先端部が後方に位置し、前記反発部材の基端部よりも先端部が上方に位置することを特徴とする請求項1又は請求項2に記載の開閉機構。
【請求項5】
前記シートの下面にはシートプレートが設けられており、
前記シートプレートの上方に凹んだ凹部に前記反発部材が入り込むことを特徴とする請求項4に記載の開閉機構。
【請求項6】
前記シートプレートの凹部が車幅方向の中心線上に位置することを特徴とする請求項5に記載の開閉機構。
【請求項7】
前記シート下方にはバッテリが収納され、
前記反発部材は前記バッテリの車幅方向両端よりも内側に位置し、
前記反発部材の基端部が前記バッテリの前方に位置し、前記反発部材の先端部が前記バッテリの上方に位置することを特徴とする請求項1又は請求項2に記載の開閉機構。
【請求項8】
前記バッテリは前記車体に上方から着脱可能であり、
前記反発部材の基端部が前記バッテリの着脱軌跡よりも前方に位置していることを特徴とする請求項7に記載の開閉機構。
【請求項9】
前記シート下方には上面が開口した収納ボックスが設置され、
前記反発部材は前記収納ボックスの車幅方向両端よりも内側に位置し、
前記反発部材の基端部が前記収納ボックスの前方に位置し、前記反発部材の先端部が前記収納ボックスの上方に位置し、
前記反発部材の基端部が前記収納ボックスの開口よりも前方に位置していることを特徴とする請求項1又は請求項2に記載の開閉機構。
【請求項10】
第1の部材と第2の部材を開閉可能に連結する開閉機構であって、
前記第1の部材に取り付けられた固定ブラケットと、
前記第2の部材に取り付けられた可動ブラケットと、
前記第2の部材に開方向に反発力を付与する反発部材と、を備え、
前記可動ブラケットが前記固定ブラケットに揺動可能に連結され、
前記反発部材の基端部が前記第1の部材に揺動可能に連結され、
前記反発部材の先端部が前記第2の部材に揺動可能に連結され、
前記第2の部材が閉じた状態では、前記可動ブラケットの揺動中心と前記反発部材の基端部の揺動中心を結ぶ直線上又は当該直線よりも下方に、前記反発部材の先端部の揺動中心が位置していることを特徴とする開閉機構。
発明の詳細な説明
【技術分野】
【0001】
本発明は、シートの開閉機構に関する。
続きを表示(約 1,900 文字)
【背景技術】
【0002】
鞍乗型車両のシートの開閉機構として、ダンパーによってシートの持ち上げ操作が補助されるものが知られている(例えば、特許文献1参照)。特許文献1に記載のシートの開閉機構では、シートの前端部に設けられた可動ブラケットと車体フレームに設けられた固定ブラケットがヒンジを介して開閉可能に連結されている。シートの前後方向の中間部にはダンパーが連結されており、シートが閉じた状態でダンパーの反発力がシートに対して開く方向に作用している。このため、運転者が上向きに軽く力を加えるだけでシートが開かれ、ダンパーの反発力によってシートが開いた状態で保持される。
【先行技術文献】
【特許文献】
【0003】
特開2001-122172号公報
【発明の概要】
【発明が解決しようとする課題】
【0004】
特許文献1に記載のシートの開閉機構では、ロック機構によってシートが閉状態で保持されるが、ダンパーの反発力がロック機構にも作用して解錠操作が重くなるという不具合があった。
【0005】
本発明はかかる点に鑑みてなされたものであり、簡易な構成で操作し易い開閉機構を提供することを目的とする。
【課題を解決するための手段】
【0006】
本発明の一態様の開閉機構は、鞍乗型車両の車体に開閉可能に連結されるシートの開閉機構であって、前記車体に取り付けられたベースブラケットと、前記シートに取り付けられたシートブラケットと、前記シートに開方向の反発力を付与する反発部材と、を備え、前記シートブラケットが前記ベースブラケットに揺動可能に連結され、前記反発部材の基端部が前記車体に揺動可能に連結され、前記反発部材の先端部が前記シートに揺動可能に連結され、前記シートが閉じた状態では、前記シートブラケットの揺動中心と前記反発部材の基端部の揺動中心を結ぶ直線上又は当該直線よりも下方に、前記反発部材の先端部の揺動中心が位置していることで上記課題を解決する。
【発明の効果】
【0007】
本発明の一態様の開閉機構によれば、シートが持ち上げられてベースブラケットに対してシートブラケットが揺動すると、反発部材にシートが開方向に押し上げられてシートの持ち上げ操作が補助される。シートが閉じた状態では、反発部材の反発力がシートを開く方向に作用していない。このため、反発部材の反発力によってシートロックの解錠操作が重くなることがない。また、シートとカバー類等の合わせ部位に隙間ができ難くなって止水性が低下することがない。
【図面の簡単な説明】
【0008】
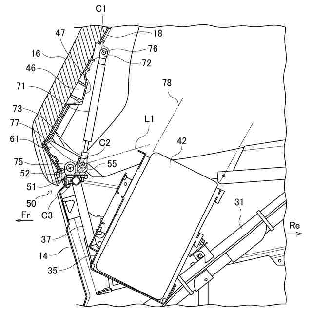
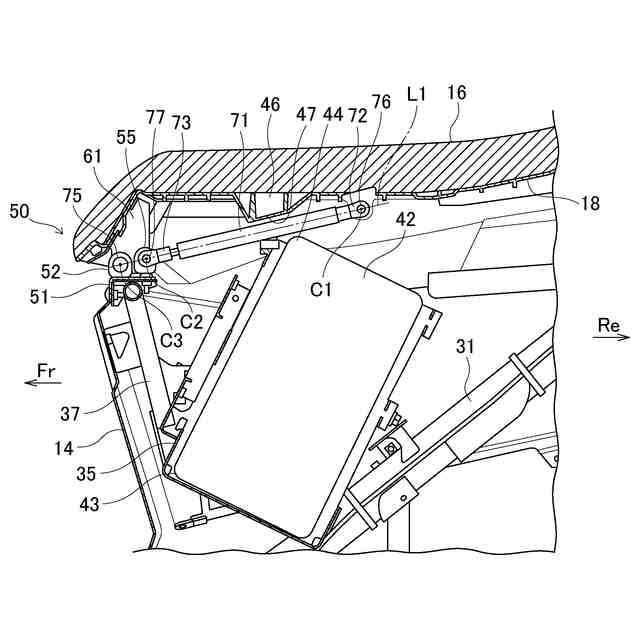
本実施例の鞍乗型車両の左側面図である。
本実施例の車体後部の左側面図である。
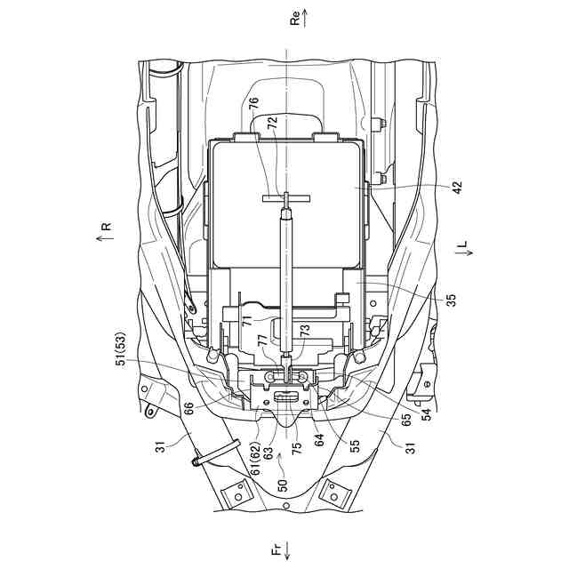
本実施例の車体後部の上面図である。
本実施例の開閉機構の斜視図である。
本実施例の開閉機構のシートが閉じた状態を示す断面図である。
本実施例の開閉機構のシートが開いた状態を示す断面図である。
変形例の開閉機構のシートが閉じた状態を示す断面図である。
【0009】
本発明の一態様の開閉機構は、鞍乗型車両の車体にシートを開閉可能に連結している。この開閉機構では、車体にベースブラケットが取り付けられ、シートにシートブラケットが取り付けられ、ベースブラケットにシートブラケットが揺動可能に連結されている。シートには反発部材から開方向に反発力が付与されており、反発部材の基端部が車体に揺動可能に連結され、反発部材の先端部がシートに揺動可能に連結されている。シートが閉じた状態では、シートブラケットの揺動中心と反発部材の基端部の揺動中心を結ぶ直線上又は当該直線よりも下方に、反発部材の先端部の揺動中心が位置している。シートが持ち上げられてベースブラケットに対してシートブラケットが揺動すると、反発部材にシートが開方向に押し上げられてシートの持ち上げ操作が補助される。シートが閉じた状態では、反発部材の反発力がシートを開く方向に作用していない。このため、反発部材の反発力によってシートロックの解錠操作が重くなることがない。また、シートとカバー類等の合わせ部位に隙間ができ難くなって止水性が低下することがない。
【 実施例】
【0010】
以下、添付図面を参照して、本実施例の鞍乗型車両について説明する。図1は本実施例の鞍乗型車両の左側面図である。また、以下の図では、矢印Frは車両前方、矢印Reは車両後方、矢印Lは車両左方、矢印Rは車両右方をそれぞれ示している。
(【0011】以降は省略されています)
この特許をJ-PlatPat(特許庁公式サイト)で参照する
関連特許
スズキ株式会社
開閉機構
今日
スズキ株式会社
車両構造
26日前
スズキ株式会社
車両構造
26日前
スズキ株式会社
車両構造
26日前
スズキ株式会社
車両構造
26日前
スズキ株式会社
車両構造
26日前
スズキ株式会社
車室構造
26日前
スズキ株式会社
車室構造
26日前
スズキ株式会社
車室構造
26日前
スズキ株式会社
車両構造
26日前
スズキ株式会社
車両構造
26日前
スズキ株式会社
車両構造
26日前
スズキ株式会社
シート構造
今日
スズキ株式会社
シート構造
今日
スズキ株式会社
車両側部構造
8日前
スズキ株式会社
車両検査装置
21日前
スズキ株式会社
車両後部構造
20日前
スズキ株式会社
車両の制御装置
12日前
スズキ株式会社
車両用制御装置
9日前
スズキ株式会社
車両用荷室構造
26日前
スズキ株式会社
車体ルーフ構造
26日前
スズキ株式会社
車両の制御装置
19日前
スズキ株式会社
車両用制御装置
21日前
スズキ株式会社
車両の可動ゲート
15日前
スズキ株式会社
車両の制御システム
1か月前
スズキ株式会社
電動車両の後部構造
20日前
スズキ株式会社
電動車両の後部構造
20日前
スズキ株式会社
車両の制御システム
12日前
スズキ株式会社
車両の制御システム
12日前
スズキ株式会社
梱包対象物の緩衝部材
1か月前
スズキ株式会社
車両用リアバンパ構造
22日前
スズキ株式会社
キャブオーバー型車両
15日前
スズキ株式会社
梱包対象物の緩衝部材
1か月前
スズキ株式会社
梱包対象物の緩衝構造
1か月前
スズキ株式会社
車両用グロメット周辺構造
27日前
スズキ株式会社
多気筒エンジンの制御装置
今日
続きを見る
他の特許を見る