TOP
|
特許
|
意匠
|
商標
特許ウォッチ
Twitter
他の特許を見る
公開番号
2025153844
公報種別
公開特許公報(A)
公開日
2025-10-10
出願番号
2024056503
出願日
2024-03-29
発明の名称
車両構造
出願人
スズキ株式会社
代理人
個人
,
個人
,
個人
,
個人
,
個人
,
個人
主分類
B60R
19/48 20060101AFI20251002BHJP(車両一般)
要約
【課題】外装部材の透過部周辺の外観品質低下を抑制しつつ、センサ装置と透過部との相対的な位置関係を精度良く維持できる車両構造を提供する。
【解決手段】車両構造1は、車両外側の意匠面を形成する外装部材2と、外装部材2の車両内側に設けられ、車外環境を検出するセンサ装置Sを支持するセンサ支持部材3と、を備える。外装部材2は、センサ装置Sの検出波が透過する透過面221、および透過面221の周縁から車両内側に向かって延びる内向壁222を有する透過部22を含む。センサ支持部材3は、センサ装置Sを支持する枠状のセンサ支持部31の少なくとも一部分を透過部22の内向壁222の車両内側端部に当接させた状態で、外装部材2に連結されている。
【選択図】図4
特許請求の範囲
【請求項1】
車両外側の意匠面を形成する外装部材と、
前記外装部材の車両内側に設けられ、車外環境を検出するセンサ装置を支持するセンサ支持部材と、を備える車両構造であって、
前記外装部材は、前記センサ装置により送受信される検出波が透過する透過面、および該透過面の周縁から車両内側に向かって延びる内向壁を有する透過部を含み、
前記センサ支持部材は、前記センサ装置を支持する枠状のセンサ支持部を含み、
前記透過部における前記内向壁の車両内側端部に前記センサ支持部の少なくとも一部分を当接させた状態で、前記センサ支持部材が前記外装部材に連結されていることを特徴とする車両構造。
続きを表示(約 1,100 文字)
【請求項2】
前記外装部材は、前記内向壁の下壁部から車両内側に突出し、前記センサ支持部材が連結される連結部を有していることを特徴とする請求項1に記載の車両構造。
【請求項3】
前記下壁部は、前記透過面の下縁から、車両下方に向かうに従い車両内側に延びる斜面部分を有し、
前記連結部は、前記斜面部分から車両内側に突出していることを特徴とする請求項2に記載の車両構造。
【請求項4】
前記連結部は、前記内向壁における車両幅方向の側壁部および前記下壁部が接続するコーナ部分の周辺に配置されていることを特徴とする請求項2に記載の車両構造。
【請求項5】
前記外装部材は、
車両内外方向に空気が流通する通気部と、
前記通気部の周縁から車両内側に延出し該周縁に沿って延びる延出部と、を含み、
前記透過部は、前記内向壁の一部が前記延出部に接続されていることを特徴とする請求項2に記載の車両構造。
【請求項6】
前記透過部は、前記透過面が前記意匠面および前記延出部に亘って形成されていると共に、前記透過面の周縁から車両外側に向かって延びる外向壁を有し、該外向壁が前記意匠面および前記延出部に接続されていることを特徴とする請求項5に記載の車両構造。
【請求項7】
前記外装部材は、前記連結部として、
前記内向壁の下壁部から車両内側に突出し、前記センサ支持部材が連結される第1連結部と、
前記外向壁よりも車両幅方向外側に間隔を空けて配置され、前記センサ支持部材が連結される第2連結部と、
を含むことを特徴とする請求項6に記載の車両構造。
【請求項8】
前記第2連結部は、前記延出部および前記意匠面に接続されていることを特徴とする請求項7に記載の車両構造。
【請求項9】
前記センサ支持部材は、前記通気部内の通気領域を複数の小領域に仕切る仕切部を含み、
前記外装部材は、前記延出部の車両内側端部分かつ前記第2連結部の周辺に配置され、前記センサ支持部材の前記仕切部が連結される第3連結部を含むことを特徴とする請求項8に記載の車両構造。
【請求項10】
前記外装部材は、
車両内外方向に空気が流通する通気部と、
前記通気部の周縁から車両内側に延出し該周縁に沿って延びる延出部と、を含み、
前記透過部は、前記透過面の一部が前記通気部の内側に張り出すように形成され、前記透過面の周縁から車両外側に向かって延びる外向壁を有し、該外向壁が前記意匠面および前記延出部に接続され、かつ、前記内向壁が前記延出部に接続されていることを特徴とする請求項1に記載の車両構造。
発明の詳細な説明
【技術分野】
【0001】
本発明は、車外環境を検出するセンサ装置を外装部材に配置するための構造を含む車両構造に関する。
続きを表示(約 2,200 文字)
【背景技術】
【0002】
一般に、自動車等の車両の前部や後部には、車両外側の意匠面を構成するバンパやグリルなどの外装部材が設けられている。この外装部材の裏面などには、車外環境を検出するセンサ装置が設けられることがある。センサ装置としては、ミリ波やマイクロ波などの電波を検出波として用いるレーダ、レーザ光を検出波として用いるLiDAR(light detection and ranging)、超音波などの音波を検出波として用いる音波センサ(超音波センサ/ソナー)、撮像により車外環境を検出するカメラ(撮像装置)などがある。このようなセンサ装置で用いられる検出波がミリ波等のように高い直進性を有している場合、検出精度を高めるべく、センサ装置と外装部材におけるセンサ装置に対向する部位との相対的な位置関係(相対距離および相対角度)について高い精度が要求される。
【0003】
センサ装置を外装部材に配置するための構造を有する従来の車両構造の一例として、特許文献1には、自動車のフロントに設置された、レーダー支持体と、レドームと、シールドと、を備える組立体が開示されている。この組立体では、第1の横断部分と第2の横断部分とを有するフロントシールドにおいて、第1の横断部分に通風グリッドを接続し、通風グリッドにおけるレドームの取付スペースの後方にレーダが位置するように、レーダ支持体が第1の横断部分および第2の横断部分に固定されている。
【先行技術文献】
【特許文献】
【0004】
国際公開第2022/175045号
【発明の概要】
【発明が解決しようとする課題】
【0005】
ところで、上記特許文献1に開示されているフロントシールドのような外装部材におけるセンサ装置(レーダ)に対向する領域は、所望の検出波が透過可能な材質または形状で構成された透過部として形成される必要がある。このような検出波の透過部は、それ以外の外装部材の部位とは異なる材質または形状になり易い。このため、車両の外観設計上、外装部材における検出波の透過部を可能な範囲で極力小さくして目立ち難くすることが求められる。しかしながら、透過部を小さくすると検出波の透過範囲が制限されるので、検出精度を高めるためには、センサ装置と透過部との相対的な位置関係をより高い精度で維持しなければならないという課題がある。
【0006】
本発明は上記の点に着目してなされたもので、外装部材における検出波の透過部周辺の外観品質低下を抑制しつつ、センサ装置と透過部との相対的な位置関係を精度良く維持できる車両構造を提供することを目的とする。
【課題を解決するための手段】
【0007】
上記の目的を達成するため本発明の一態様は、車両外側の意匠面を形成する外装部材と、前記外装部材の車両内側に設けられ、車外環境を検出するセンサ装置を支持するセンサ支持部材と、を備える車両構造を提供する。この車両構造における前記外装部材は、前記センサ装置により送受信される検出波が透過する透過面、および該透過面の周縁から車両内側に向かって延びる内向壁を有する透過部を含み、前記センサ支持部材は、前記センサ装置を支持する枠状のセンサ支持部を含み、前記透過部における前記内向壁の車両内側端部に前記センサ支持部の少なくとも一部分を当接させた状態で、前記センサ支持部材が前記外装部材に連結されている。
【発明の効果】
【0008】
本発明に係る車両構造によれば、外装部材における検出波の透過部周辺の外観品質低下を抑制しつつ、センサ装置と透過部との相対的な位置関係を精度良く維持することができる。
【図面の簡単な説明】
【0009】
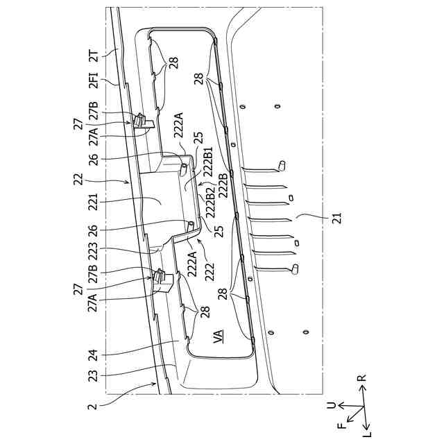
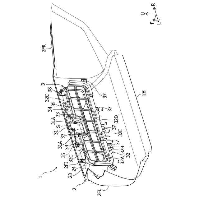
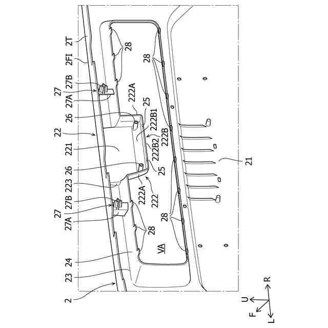
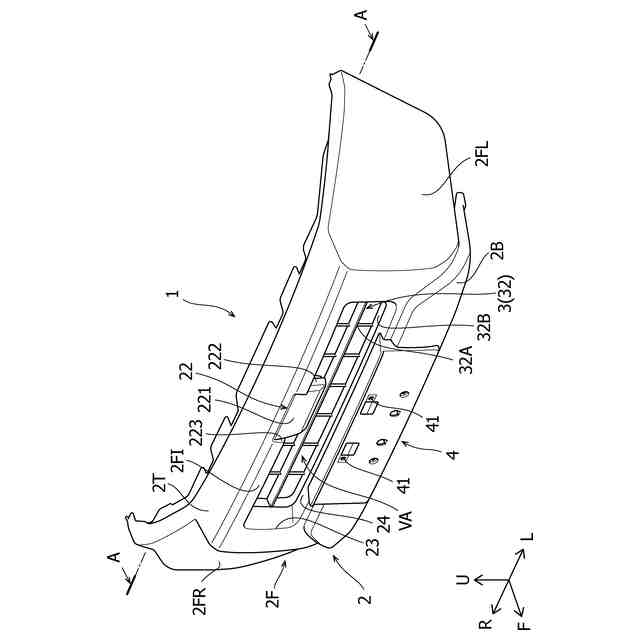
本発明の一実施形態に係る車両構造を前方斜め側方から見た斜視図である。
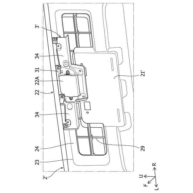
図1の車両構造の分解斜視図である。
図1のA-A線に沿って切断した断面を含む車両構造を後方斜め側方から見た斜視図である。
上記実施形態における外装部材の透過部および通気部の周辺を拡大して後方斜め側方から見た斜視図である。
図4における透過部の周辺を前方斜め下方から見た斜視図である。
上記実施形態におけるセンサ支持部材を拡大して後方斜め側方から見た斜視図である。
上記実施形態に関連した車両構造の変形例における通気部の周辺を拡大して後方斜め上方から見た斜視図である。
【発明を実施するための形態】
【0010】
以下、本発明の実施形態について添付図面を参照しながら詳細に説明する。
図1~図3は、本発明の一実施形態に係る車両構造1を説明するための図である。図1は、車両構造1を前方斜め側方から見た斜視図であり、図2は、車両構造1の分解斜視図である。また、図3は、図1のA-A線に沿って切断した断面を含む車両構造1を後方斜め側方から見た斜視図である。なお、以下で説明する各図面において、矢印F方向は車両前後方向で前方を示し、矢印U方向は車両上下方向で上方を示し、矢印R方向および矢印L方向は、車室内から車両前方を見たときの右方および左方を示している。
(【0011】以降は省略されています)
この特許をJ-PlatPat(特許庁公式サイト)で参照する
関連特許
スズキ株式会社
車両構造
8日前
スズキ株式会社
車両構造
8日前
スズキ株式会社
車室構造
8日前
スズキ株式会社
車室構造
8日前
スズキ株式会社
車室構造
8日前
スズキ株式会社
車両構造
8日前
スズキ株式会社
車両構造
8日前
スズキ株式会社
車両構造
8日前
スズキ株式会社
車両構造
8日前
スズキ株式会社
車両構造
8日前
スズキ株式会社
車両構造
8日前
スズキ株式会社
燃料電池車両
16日前
スズキ株式会社
車両検査装置
3日前
スズキ株式会社
燃料電池車両
16日前
スズキ株式会社
車両後部構造
2日前
スズキ株式会社
車体ルーフ構造
8日前
スズキ株式会社
車両の制御装置
22日前
スズキ株式会社
車両の制御装置
1日前
スズキ株式会社
車両用荷室構造
8日前
スズキ株式会社
車両用送風構造
23日前
スズキ株式会社
車両用制御装置
3日前
スズキ株式会社
衝突被害軽減装置
15日前
スズキ株式会社
電動車両の後部構造
2日前
スズキ株式会社
電動車両の後部構造
2日前
スズキ株式会社
車両の照明制御装置
16日前
スズキ株式会社
車両の制御システム
15日前
スズキ株式会社
車両の制御システム
15日前
スズキ株式会社
車両の熱害防止構造
16日前
スズキ株式会社
梱包対象物の緩衝構造
15日前
スズキ株式会社
梱包対象物の緩衝部材
15日前
スズキ株式会社
梱包対象物の緩衝部材
15日前
スズキ株式会社
車両用リアバンパ構造
4日前
スズキ株式会社
吸気装置の被水防止構造
16日前
スズキ株式会社
エンジンのベルト伝動装置
3日前
スズキ株式会社
エンジンの排気ポート構造
8日前
スズキ株式会社
車両用グロメット周辺構造
9日前
続きを見る
他の特許を見る