TOP
|
特許
|
意匠
|
商標
特許ウォッチ
Twitter
他の特許を見る
10個以上の画像は省略されています。
公開番号
2025146149
公報種別
公開特許公報(A)
公開日
2025-10-03
出願番号
2024046778
出願日
2024-03-22
発明の名称
梱包対象物の緩衝部材
出願人
スズキ株式会社
代理人
個人
,
個人
,
個人
,
個人
,
個人
,
個人
主分類
B65D
81/02 20060101AFI20250926BHJP(運搬;包装;貯蔵;薄板状または線条材料の取扱い)
要約
【課題】 梱包対象物を保護するための緩衝部材として小形状でありながら良好な緩衝効果が得られ、産業廃棄物の削減にも有利な緩衝部材を提供する。
【解決手段】 緩衝部材は、梱包対象物に隣接して配置される表面と、その反対側に第1の幅を有して長手方向に延びる裏面を有する発泡材で構成された第1緩衝部材と、段ボールの組立体で構成された第2緩衝部材を備える。第2緩衝部材は、第1の幅より大きい第2の幅を有して長手方向に延びる溝を形成するように、長手方向に延びる底壁部とその両側に連続する一対の側壁部と、一対の側壁部を橋絡するように係合部間に延びかつ底壁部と垂直な方向に延びる複数の橋絡部とを有し、第1緩衝部材は、裏面が橋絡部の上端に当接した状態で第2緩衝部材に固定されている。
【選択図】図5
特許請求の範囲
【請求項1】
梱包枠の内底部に固定された梱包対象物を保護するために、前記梱包対象物を囲む前記梱包枠の側部の内側に配設される緩衝部材であって、
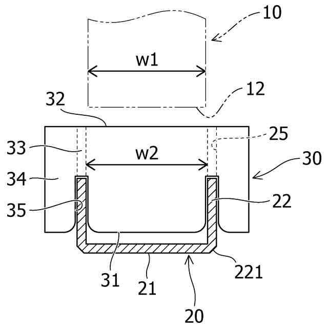
前記梱包対象物に隣接して配置される表面と、前記表面と反対側に第1の幅を有して長手方向に延びる裏面と、前記裏面の側縁と前記表面との間に延びる側面と、前記裏面の前記長手方向の端縁と前記表面との間に延びる端面と、を有する、発泡材で構成された第1緩衝部材と、
段ボールの組立体で構成された第2緩衝部材であって、前記第1の幅より大きい第2の幅を有して前記長手方向に延びる溝を形成するように、前記長手方向に延びる底壁部と、前記底壁部の両側に折曲部を介して連続する一対の側壁部と、前記一対の側壁部を橋絡するように前記係合部間に延びかつ前記底壁部と垂直な方向に延びる複数の橋絡部と、を有する第2緩衝部材と、を備え、
前記第1緩衝部材は、前記裏面が前記溝の範囲内で前記橋絡部の上端に当接した状態で、前記第2緩衝部材に固定されている、緩衝部材。
続きを表示(約 580 文字)
【請求項2】
前記第2緩衝部材は、前記底壁部の両端に折曲部を介して連続する一対の端フラップを有し、前記第1緩衝部材は、前記端面に前記端フラップが接合または係合されることにより、前記第2緩衝部材に固定されている、請求項1記載の緩衝部材。
【請求項3】
前記第2緩衝部材の前記底壁部、前記一対の側壁部、および、前記一対の端フラップは、前記長手方向と直交する前記幅方向をフルート方向とする1枚の第1の段ボール製ブランクから形成され、前記複数の橋絡部は、前記垂直な方向をフルート方向とする複数の第2の段ボール製ブランクから形成されている、請求項2記載の緩衝部材。
【請求項4】
前記橋絡部の前記係合部は、前記側壁部の上端から前記底壁部に向けて延びるスリットに係合すべく側方に延出した係合片部を含む、請求項3記載の緩衝部材。
【請求項5】
前記橋絡部の前記係合片部は、前記側壁部の前記スリットの下側部分に係合する係合溝を形成するように、前記スリットを超えて延出した拡大部をさらに含む、請求項4記載の緩衝部材。
【請求項6】
前記橋絡部の上端から下端までの長さは、前記側壁部の上端から下端までの長さよりも短く、前記橋絡部の下端と前記底壁部との間に間隙が形成されている、請求項1~5の何れか一項記載の緩衝部材。
発明の詳細な説明
【技術分野】
【0001】
本発明は、梱包対象物を保護するための緩衝部材に関する。
続きを表示(約 1,900 文字)
【背景技術】
【0002】
工業製品などを遠隔(例えば海外)の仕向地に輸送コンテナなどを利用して輸送する場合、輸送中の振動や衝撃から製品を保護するために梱包枠の内部に製品を固定する梱包構造が採用される。
【0003】
例えば、特許文献1には、船外機を横にした状態で発泡スチロール製のパッドで上下から挟み、木製のスキッド上に角柱とアングル紙管で固定する梱包構造が開示されている。この梱包構造は、軽量な小型船外機を対象としており、中型ないし大型の船外機には利用できない。また、扁平な荷姿の割に多段積みに耐える強度を有しておらず、荷役効率が悪いうえ、荷重を分散させるために広い面積のパッドで荷重を受ける構成を前提としており、産業廃棄物となる発泡スチロールの使用量が多くなる問題もあった。
【0004】
船外機、特に中型以上の船外機の場合は、船外機を船体に固定するための構造であるスターンブラケットを利用して、船外機の推進方向を下方向にして立てた状態で、梱包枠の内底部に立設された架台にボルト留めして収納する梱包形態が採用される。
【0005】
この梱包形態では、実質的にスターンブラケット以外に梱包枠に対する支持構造を有しておらず、船外機は、梱包枠の内側で架台の両側にオーバーハングした状態で支持されることに加えて、支持位置に対して重心が高くかつエンジン側に偏っているので、荷役作業時や輸送中に外部要因により衝撃が作用した場合に、梱包対象物である船外機が梱包枠に対して揺動して接触する虞がある。そこで、接触による損傷を防止するために、発泡スチロールなどによる緩衝材が併用される。
【0006】
ところで、船外機のような最終製品は、梱包状態で納入先まで輸送される。したがって、梱包枠は基本的にワンウェイの梱包資材であり、追加のコストを抑えるために、通常の荷役作業や輸送に必要な最小限の強度と剛性を有するように設計される。そのため、外部要因により大きな衝撃が作用した場合、特に、梱包枠が転倒した場合には、発泡スチロールなどによる緩衝材が衝撃を吸収しきれずに破断し、梱包対象物である船外機が損傷する虞があった。
【先行技術文献】
【特許文献】
【0007】
特開平10-250768号公報
【発明の概要】
【発明が解決しようとする課題】
【0008】
本発明はこのような実状に鑑みてなされたものであって、その目的は、梱包対象物を保護するための緩衝部材として小形状でありながら良好な緩衝効果が得られ、産業廃棄物の削減にも有利な緩衝部材を提供することにある。
【課題を解決するための手段】
【0009】
上記課題を解決するために、本発明は、
梱包枠の内底部に固定された梱包対象物を保護するために、前記梱包対象物を囲む前記梱包枠の側部の内側に配設される緩衝部材であって、
前記梱包対象物に隣接して配置される表面と、前記表面と反対側に第1の幅を有して長手方向に延びる裏面と、前記裏面の側縁と前記表面との間に延びる側面と、前記裏面の前記長手方向の端縁と前記表面との間に延びる端面と、を有する、発泡材で構成された第1緩衝部材と、
段ボールの組立体で構成された第2緩衝部材であって、前記第1の幅より大きい第2の幅を有して前記長手方向に延びる溝を形成するように、前記長手方向に延びる底壁部と、前記底壁部の両側に折曲部を介して連続する一対の側壁部と、前記一対の側壁部を橋絡するように前記係合部間に延びかつ前記底壁部と垂直な方向に延びる複数の橋絡部と、を有する第2緩衝部材と、を備え、
前記第1緩衝部材は、前記裏面が前記溝の範囲内で前記橋絡部の上端に当接した状態で、前記第2緩衝部材に固定されている、緩衝部材にある。
【発明の効果】
【0010】
本発明に係る緩衝部材は、上記のような構成により、外部要因により大きな衝撃が作用した場合に、梱包対象物から緩衝部材に作用する衝撃荷重が、発泡材で構成された第1緩衝部材の弾性変形により緩和されるとともに、段ボールの組立体で構成された第2緩衝部材の塑性変形により吸収され、第1緩衝部材の破断、特に初期段階における破断が抑制されることで、良好な緩衝効果が得られる。また、緩衝部材全体が発泡材で構成される場合と比較して、使用後に産業廃棄物となる発泡材の使用量を削減できる。
【図面の簡単な説明】
(【0011】以降は省略されています)
この特許をJ-PlatPat(特許庁公式サイト)で参照する
関連特許
スズキ株式会社
燃料電池車両
5日前
スズキ株式会社
燃料電池車両
5日前
スズキ株式会社
衝突被害軽減装置
4日前
スズキ株式会社
車両の制御システム
4日前
スズキ株式会社
車両の制御システム
4日前
スズキ株式会社
車両の熱害防止構造
5日前
スズキ株式会社
車両の照明制御装置
5日前
スズキ株式会社
梱包対象物の緩衝構造
4日前
スズキ株式会社
梱包対象物の緩衝部材
4日前
スズキ株式会社
梱包対象物の緩衝部材
4日前
スズキ株式会社
吸気装置の被水防止構造
5日前
スズキ株式会社
船舶推進機の原動機制御装置
8日前
株式会社東海理化電機製作所
電子機器
8日前
個人
箱
12か月前
個人
ゴミ箱
11か月前
個人
収容箱
2か月前
個人
コンベア
4か月前
個人
段ボール箱
6か月前
個人
段ボール箱
6か月前
個人
ゴミ収集器
6か月前
個人
容器
8か月前
個人
土嚢運搬器具
7か月前
個人
バンド
1か月前
個人
角筒状構造体
4か月前
個人
宅配システム
6か月前
個人
パウチ補助具
11か月前
個人
楽ちんハンド
4か月前
個人
コード類収納具
7か月前
個人
閉塞装置
9か月前
個人
お薬の締結装置
5か月前
個人
廃棄物収容容器
2か月前
個人
包装容器
18日前
個人
把手付米袋
3か月前
株式会社和気
包装用箱
8か月前
個人
ゴミ処理機
8か月前
株式会社コロナ
梱包材
4か月前
続きを見る
他の特許を見る