TOP
|
特許
|
意匠
|
商標
特許ウォッチ
Twitter
他の特許を見る
10個以上の画像は省略されています。
公開番号
2025165615
公報種別
公開特許公報(A)
公開日
2025-11-05
出願番号
2024069766
出願日
2024-04-23
発明の名称
シート構造
出願人
スズキ株式会社
代理人
個人
,
個人
,
個人
主分類
B62J
1/12 20060101AFI20251028BHJP(鉄道以外の路面車両)
要約
【課題】シート下方のスペースを広げることなく、収納ボックスの容量を十分に確保する。
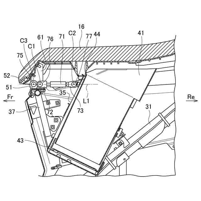
【解決手段】鞍乗型車両のシート構造は、シート(16)下方に収納ボックス(41)が収容され、シートが車体に連結されている。シート構造には、車体の上部に取り付けられたベースブラケット(51、52)と、シートの下部に取り付けられたシートブラケット(61)と、シートに対して開方向に反発力を付与する反発部材(71)と、が設けられている。シートブラケットがベースブラケットに揺動可能に連結され、反発部材の先端部(72)がシートブラケットに揺動可能に連結され、反発部材の基端部(73)がベースブラケットよりも後方かつ収納ボックスの前方で車体に揺動可能に連結されている。
【選択図】図5
特許請求の範囲
【請求項1】
シートが車体に連結された鞍乗型車両のシート構造であって、
前記シートの下方に設置された収納ボックスと、
前記車体の上部に取り付けられたベースブラケットと、
前記シートの下部に取り付けられたシートブラケットと、
前記シートに対して開方向に反発力を付与する反発部材と、を備え、
前記シートブラケットが前記ベースブラケットに揺動可能に連結され、
前記反発部材の先端部が前記シートブラケットに揺動可能に連結され、
前記反発部材の基端部が前記ベースブラケットよりも後方かつ前記収納ボックスの前方で前記車体に揺動可能に連結されていることを特徴とするシート構造。
続きを表示(約 840 文字)
【請求項2】
前記収納ボックスの前面上端が前面下端よりも後方になるように前記収納ボックスが傾けられ、
前記反発部材の基端部が前記収納ボックスの前面下端よりも後方で前記収納ボックスの前面上端よりも前方に位置していることを特徴とする請求項1に記載のシート構造。
【請求項3】
前記反発部材は前記収納ボックスの前面上端よりも下方で前面下端よりも上方に位置していることを特徴とする請求項1又は請求項2に記載のシート構造。
【請求項4】
前記収納ボックスは上方に開口しており、
前記反発部材が前記収納ボックスの開口よりも前方に位置していることを特徴とする請求項1又は請求項2に記載のシート構造。
【請求項5】
前記シートが閉じた状態では、前記シートブラケットの揺動中心と前記反発部材の基端部の揺動中心を結ぶ直線上又は当該直線よりも下方に、前記反発部材の先端部の揺動中心が位置していることを特徴とする請求項1又は請求項2に記載のシート構造。
【請求項6】
前記反発部材は前記シートブラケットの車幅方向両端よりも内側に位置していることを特徴とする請求項1又は請求項2に記載のシート構造。
【請求項7】
前記シートが閉じた状態では、前記反発部材が水平姿勢になるように当該反発部材の先端部と基端部が同じ高さに位置付けられていることを特徴とする請求項1又は請求項2に記載のシート構造。
【請求項8】
前記シートが閉じた状態では、前記反発部材が前傾姿勢になるように当該反発部材の先端部よりも基端部が低く位置付けられていることを特徴とする請求項1又は請求項2に記載のシート構造。
【請求項9】
前記シートが閉じた状態では、前記反発部材が起立姿勢になるように当該反発部材の先端部よりも基端部が低く位置付けられていることを特徴とする請求項1又は請求項2に記載のシート構造。
発明の詳細な説明
【技術分野】
【0001】
本発明は、鞍乗型車両のシート構造に関する。
続きを表示(約 2,100 文字)
【背景技術】
【0002】
鞍乗型車両のシート構造として、ダンパーによってシートの持ち上げ操作が補助されるものが知られている(例えば、特許文献1参照)。特許文献1に記載のシート構造では、シートの前端部に設けられた可動ブラケットと車体フレームに設けられた固定ブラケットがヒンジを介して開閉可能に連結されている。シートの前後方向の中間部にはダンパーが連結されており、シートが閉じた状態でダンパーの反発力がシートに対して開く方向に作用している。このため、運転者が上向きに軽く力を加えるだけでシートが開かれ、ダンパーの反発力によってシートが開いた状態で保持される。
【先行技術文献】
【特許文献】
【0003】
特開2001-122172号公報
【発明の概要】
【発明が解決しようとする課題】
【0004】
特許文献1に記載のシート構造では、シート下方の前後方向の中間部にダンパーが位置しているため、ダンパーによってシート下方のスペースを有効活用することができない。鞍乗型車両ではシート下方に収納ボックスが設置されることがあるが、ダンパーによって収納ボックスの大きさが制約を受けるおそれがある。
【0005】
本発明はかかる点に鑑みてなされたものであり、シート下方のスペースを広げることなく、収納ボックスの容量を十分に確保することができるシート構造を提供することを目的とする。
【課題を解決するための手段】
【0006】
本発明の一態様のシート構造は、シートが車体に連結された鞍乗型車両のシート構造であって、前記シートの下方に設置された収納ボックスと、前記車体の上部に取り付けられたベースブラケットと、前記シートの下部に取り付けられたシートブラケットと、前記シートに対して開方向に反発力を付与する反発部材と、を備え、前記シートブラケットが前記ベースブラケットに揺動可能に連結され、前記反発部材の先端部が前記シートブラケットに揺動可能に連結され、前記反発部材の基端部が前記ベースブラケットよりも後方かつ前記収納ボックスの前方で前記車体に揺動可能に連結されていることで上記課題を解決する。
【発明の効果】
【0007】
本発明の一態様のシート構造によれば、シートが持ち上げられてベースブラケットに対してシートブラケットが揺動すると、シートブラケットを介して反発部材にシートが開方向に押し上げられてシートの持ち上げ操作が補助される。また、シート下方で収納ボックス前方のスペースを利用して反発部材が設置されることで、シート下方に収納ボックスと反発部材をコンパクトに収容することができる。シートブラケットの近辺に反発部材が設置されるため、反発部材の全長を短くして軽量化されると共にシートが開かれても反発部材が露出し難くなって外観性が向上される。
【図面の簡単な説明】
【0008】
本実施例の鞍乗型車両の左側面図である。
本実施例の車体後部の左側面図である。
本実施例の車体後部の上面図である。
本実施例のシート構造の斜視図である。
本実施例のシート構造のシートが閉じた状態を示す断面図である。
本実施例のシート構造のシートが開き途中を示す断面図である。
本実施例のシート構造のシートが開いた状態を示す断面図である。
変形例1のシート構造のシートが閉じた状態を示す断面図である。
変形例2のシート構造のシートが閉じた状態を示す断面図である。
【0009】
本発明の一態様のシート構造は、鞍乗型車両の車体にシートが連結され、シート下方に収納ボックスが設置されている。また、車体の上部にベースブラケットが取り付けられ、シートの下部にシートブラケットが取り付けられ、ベースブラケットにシートブラケットが揺動可能に連結されている。シートには反発部材から開方向に反力が付与されており、反発部材の先端部がシートブラケットに揺動可能に連結され、反発部材の基端部がベースブラケットよりも後方かつ収納ボックスの前方で車体に揺動可能に連結されている。シートが持ち上げられてベースブラケットに対してシートブラケットが揺動すると、シートブラケットを介して反発部材にシートが開方向に押し上げられてシートの持ち上げ操作が補助される。また、シート下方で収納ボックス前方のスペースを利用して反発部材が設置されることで、シート下方に収納ボックスと反発部材がコンパクトに収容される。シートブラケットの近辺に反発部材が設置されるため、反発部材の全長を短くして軽量化されると共にシートが開かれても反発部材が露出し難くなって外観性が向上される。
【 実施例】
【0010】
以下、添付図面を参照して、本実施例の鞍乗型車両について説明する。図1は本実施例の鞍乗型車両の左側面図である。また、以下の図では、矢印Frは車両前方、矢印Reは車両後方、矢印Lは車両左方、矢印Rは車両右方をそれぞれ示している。
(【0011】以降は省略されています)
この特許をJ-PlatPat(特許庁公式サイト)で参照する
関連特許
スズキ株式会社
開閉機構
今日
スズキ株式会社
車両構造
26日前
スズキ株式会社
車両構造
26日前
スズキ株式会社
車両構造
26日前
スズキ株式会社
車室構造
26日前
スズキ株式会社
車室構造
26日前
スズキ株式会社
車室構造
26日前
スズキ株式会社
車両構造
26日前
スズキ株式会社
車両構造
26日前
スズキ株式会社
車両構造
26日前
スズキ株式会社
車両構造
26日前
スズキ株式会社
車両構造
26日前
スズキ株式会社
排気装置
1か月前
スズキ株式会社
排気装置
1か月前
スズキ株式会社
シート構造
今日
スズキ株式会社
シート構造
今日
スズキ株式会社
車両用変速機
1か月前
スズキ株式会社
燃料電池車両
1か月前
スズキ株式会社
モータケース
1か月前
スズキ株式会社
車両用バンパ
1か月前
スズキ株式会社
車両前部構造
1か月前
スズキ株式会社
車両側部構造
1か月前
スズキ株式会社
車両側部構造
1か月前
スズキ株式会社
車両前部構造
1か月前
スズキ株式会社
燃料電池車両
1か月前
スズキ株式会社
車両検査装置
21日前
スズキ株式会社
車両側部構造
8日前
スズキ株式会社
車両後部構造
20日前
スズキ株式会社
車両用送風構造
1か月前
スズキ株式会社
車両用制御装置
21日前
スズキ株式会社
車両の制御装置
12日前
スズキ株式会社
車体ルーフ構造
26日前
スズキ株式会社
車両用荷室構造
26日前
スズキ株式会社
車両用制御装置
9日前
スズキ株式会社
車両用送風構造
1か月前
スズキ株式会社
車両用送風構造
1か月前
続きを見る
他の特許を見る