TOP
|
特許
|
意匠
|
商標
特許ウォッチ
Twitter
他の特許を見る
公開番号
2025154180
公報種別
公開特許公報(A)
公開日
2025-10-10
出願番号
2024057048
出願日
2024-03-29
発明の名称
車両構造
出願人
スズキ株式会社
代理人
個人
,
個人
,
個人
,
個人
,
個人
,
個人
主分類
B62D
25/08 20060101AFI20251002BHJP(鉄道以外の路面車両)
要約
【課題】衝撃エネルギーを効率的に吸収する。
【解決手段】車両構造1は、車両の前部又は後部において車両外側の意匠面を形成するアウタパネル10と、アウタパネル10をアウタパネル10の裏面側から補強する補強部材20と、補強部材20に取り付けられ車外環境を検出するセンサ装置Sと、アウタパネル10の裏面側に設けられ車幅方向に延びる車体構造体30と、を含む。車両構造1において、補強部材20は、車両上下方向に延びる縦延伸部20Aと、縦延伸部20Aの車両上下方向の一方の端部側から車幅方向外側に張り出し且つ車体構造体30に連結される張り出し部21を車幅方向の両側に有する横延伸部20Bと、を有する。
【選択図】図2
特許請求の範囲
【請求項1】
車両の前部又は後部において車両外側の意匠面を形成するアウタパネルと、
前記アウタパネルを当該アウタパネルの裏面側から補強する補強部材と、
前記補強部材に取り付けられ車外環境を検出するセンサ装置と、
前記アウタパネルの裏面側に設けられ車幅方向に延びる車体構造体と、
を含む、車両構造であって、
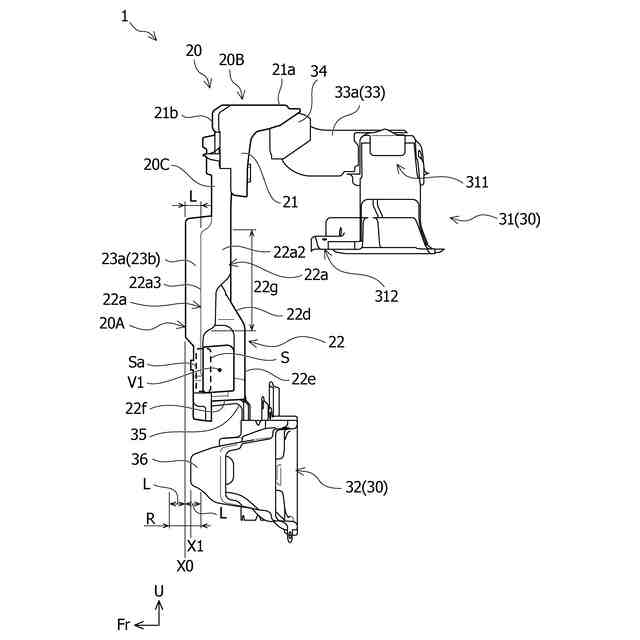
前記補強部材は、車両上下方向に延びる縦延伸部と、前記縦延伸部の車両上下方向の一方の端部側から車幅方向外側に張り出し且つ前記車体構造体に連結される張り出し部を車幅方向の両側に有する横延伸部と、を有する、ことを特徴とする車両構造。
続きを表示(約 1,100 文字)
【請求項2】
前記縦延伸部は、前記センサ装置が収容される収容部を有する、請求項1に記載の車両構造。
【請求項3】
前記補強部材は、前記縦延伸部と前記横延伸部とを接続する接続部を有し、
前記接続部は、前記縦延伸部から前記横延伸部に向うほど車幅方向に拡幅されている、請求項1に記載の車両構造。
【請求項4】
前記収容部は、前記縦延伸部の車両上下方向の他方の端部側に設けられ、前記車体構造体に連結されている、請求項2に記載の車両構造。
【請求項5】
前記収容部は、前記アウタパネルに連結されるパネル連結部を有する、請求項2に記載の車両構造。
【請求項6】
前記収容部は、前記縦延伸部の車両上下方向の他方側の部分に設けられ、
前記車体構造体は、第1車体構造部材と、前記第1車体構造部材に対して車両上下方向の前記他方に離隔する第2車体構造部材と、を有し、
前記張り出し部は、前記第1車体構造部材に連結され、
前記収容部は、前記第2車体構造部材に連結されている、請求項2に記載の車両構造。
【請求項7】
前記補強部材は、車両前後方向について車外側を臨む端壁と、前記端壁から突出する突出部であって、車両前後方向について前記収容部に対して車外側に張り出す突出部と、を有する、請求項2に記載の車両構造。
【請求項8】
前記突出部は、前記収容部のうち車両上下方向の前記一方の側の領域に対応する高さ位置で、前記横延伸部に向かって連続して延びている、請求項7に記載の車両構造。
【請求項9】
前記収容部は、車両前後方向について車内側に凹む凹形状に形成され、前記車体構造体に連結され、
前記収容部は、前記端壁を含み車両上下方向に延びる縦側部と、前記縦側部のうち前記突出部が設けられた部分から車両前後方向について車内側に延びる第1前後壁と、当該第1前後壁の車内側端から車両上下方向の他方に延び且つ前記センサ装置の車両前後方向の車内側の面に対向する底壁と、前記底壁の車両上下方向の前記他方の端から車両前後方向について車外側に延びる第2前後壁と、を有し、前記第2前後壁にて、前記車体構造体に連結されている、請求項7に記載の車両構造。
【請求項10】
前記車体構造体には、当該車体構造体から車両前後方向について車外側に突出し且つ前記車体構造体の剛性より低い低剛性に形成されたパネル衝撃吸収部が設けられ、
前記パネル衝撃吸収部の突出先端と、前記突出部の突出先端とは、車両前後方向について所定の微小範囲内に位置している、請求項7に記載の車両構造。
(【請求項11】以降は省略されています)
発明の詳細な説明
【技術分野】
【0001】
本発明は、車両の前部又は後部にセンサ装置を配置するための構造を含む車両構造に関する。
続きを表示(約 1,900 文字)
【背景技術】
【0002】
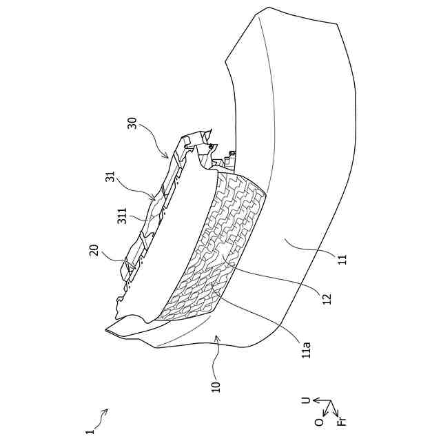
一般に、自動車等の車両の前部や後部には、車両外側の意匠面を形成するバンパやグリルといったアウタパネル(外装部材とも言う)が設けられており、アウタパネルの裏面側には、車外環境をカメラ、レーダ、超音波などを用いて検出するセンサ装置が配置されることがある。
【0003】
車両の前部にセンサ装置を配置するための構造を有する、車両構造の一例として、特許文献1に開示された構造が知られている。特許文献1に開示された構造は、車両の前部にて互いに上下に間隔をおいて配置されたバンパビーム及びアッパーバーと、バンパビームからアッパーバーにわたって延在しレーダ装置を支持するブラケットと、を備えており、ブラケットには、車両の前部衝突時に受ける衝撃により変形を誘発する変形誘発部が設けられている。そして、特許文献1に開示された構造では、衝突の際に、ブラケットが変形誘発部で変形又は破断して後方に変位することで、衝撃の吸収を図ろうとするものである。
【先行技術文献】
【特許文献】
【0004】
特開2017-215186号公報
【発明の概要】
【発明が解決しようとする課題】
【0005】
しかしながら、特許文献1の構造では、車両の車体構造部材を構成するバンパビームとアッパーバーとの間を接続するブラケットが変形誘発部にて局所的に変形ないし破断するので、入力された衝撃エネルギーを変形エネルギーないし破断エネルギーとして消費しきれず、衝撃を十分に吸収することができない可能性がある。
【0006】
そこで、本発明は、衝撃エネルギーを効率的に吸収できる車両構造を提供することを目的とする。
【課題を解決するための手段】
【0007】
上記目的を達成するため本発明の一態様によると、車両の前部又は後部において車両外側の意匠面を形成するアウタパネルと、前記アウタパネルを当該アウタパネルの裏面側から補強する補強部材と、前記補強部材に取り付けられ車外環境を検出するセンサ装置と、前記アウタパネルの裏面側に設けられ車幅方向に延びる車体構造体と、を含む、車両構造であって、前記補強部材は、車両上下方向に延びる縦延伸部と、前記縦延伸部の車両上下方向の一方の端部側から車幅方向外側に張り出し且つ前記車体構造体に連結される張り出し部を車幅方向の両側に有する横延伸部と、を有する、ことを特徴とする車両構造が、提供される。
【0008】
上記目的を達成するため本発明の別の態様によると、車両の前部又は後部において車両外側の意匠面を形成するアウタパネルと、前記アウタパネルを当該アウタパネルの裏面側から補強する補強部材と、前記補強部材に取り付けられ車外環境を検出するセンサ装置と、前記アウタパネルの裏面側に設けられ車幅方向に延びる車体構造体と、を含む、車両構造であって、前記車体構造体は、第1車体構造部材と、前記第1車体構造部材に対して車両上下方向の前記他方に離隔する第2車体構造部材と、を有し、前記第1車体構造部材には、当該第1車体構造部材から車両前後方向について車外側に突出し且つ当該第1車体構造部材の剛性より低い低剛性に形成された内側衝撃吸収部が設けられ、前記第2車体構造部材には、当該第2車体構造部材から車両上方に突出し且つ当該第2車体構造部材の剛性より低い低剛性に形成された支持ブラケットが設けられ、前記補強部材は、前記内側衝撃吸収部を介して前記第1車体構造部材に連結され、前記支持ブラケットを介して前記第2車体構造部材に連結されている、ことを特徴とする車両構造が、提供される。
【発明の効果】
【0009】
本発明の前記一態様又は前記別の態様によると、衝撃エネルギーを効率的に吸収できる車両構造を提供することができる。
【図面の簡単な説明】
【0010】
本発明の実施形態に係る車両構造の斜視図である。
車両構造の要部を説明するための斜視図である。
アウタパネル及び低剛性部材が取り外された車両構造の斜視図である。
アウタパネル及び低剛性部材が取り外された車両構造の側面図である。
車体構造体の斜視図である。
低剛性部材と車体構造体との連結箇所を説明するための斜視図である。
アウタパネルと補強部材との連結箇所を説明するための車両内側から視た図である。
アウタパネルと補強部材との連結箇所を説明するための車両内側から視た斜視図である。
【発明を実施するための形態】
(【0011】以降は省略されています)
この特許をJ-PlatPat(特許庁公式サイト)で参照する
関連特許
スズキ株式会社
車両後部構造
2日前
スズキ株式会社
車両検査装置
3日前
スズキ株式会社
車両の制御装置
1日前
スズキ株式会社
車両用制御装置
3日前
スズキ株式会社
電動車両の後部構造
2日前
スズキ株式会社
電動車両の後部構造
2日前
スズキ株式会社
車両用リアバンパ構造
4日前
スズキ株式会社
エンジンのベルト伝動装置
3日前
スズキ株式会社
車両構造
4日前
個人
カート
3か月前
個人
走行装置
3か月前
個人
電動走行車両
3か月前
個人
乗り物
5か月前
個人
駐輪設備
1か月前
個人
発音装置
7か月前
個人
閂式ハンドル錠
3か月前
個人
電動モビリティ
7か月前
個人
折り畳み自転車
10か月前
個人
自転車用歩数計
3日前
個人
自転車用傘捕捉具
11か月前
個人
ボギー・フレーム
1か月前
個人
三輪電動車両
3日前
個人
ルーフ付きトライク
1か月前
個人
“zen-go.”
2か月前
個人
自由方向乗車自転車
7か月前
個人
ルーフ付きトライク
2か月前
個人
体重掛けリフト台車
11か月前
個人
アタッチメント
11か月前
個人
パワーアシスト自転車
2か月前
個人
自転車用荷物台
11か月前
個人
キャンピングトライク
8か月前
株式会社CPM
駐輪機
12か月前
個人
ステアリングの操向部材
9か月前
株式会社三五
リアサブフレーム
10か月前
株式会社豊田自動織機
産業車両
4か月前
個人
フロントフットブレーキ。
4か月前
続きを見る
他の特許を見る