TOP
|
特許
|
意匠
|
商標
特許ウォッチ
Twitter
他の特許を見る
公開番号
2025002162
公報種別
公開特許公報(A)
公開日
2025-01-09
出願番号
2023102128
出願日
2023-06-22
発明の名称
荷役装置
出願人
ユニパルス株式会社
代理人
主分類
B66D
1/46 20060101AFI20241226BHJP(巻上装置;揚重装置;牽引装置)
要約
【課題】荷役装置において、作業性の向上及び遠隔操作装置の消費電力の低減を課題としている。
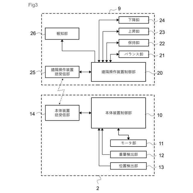
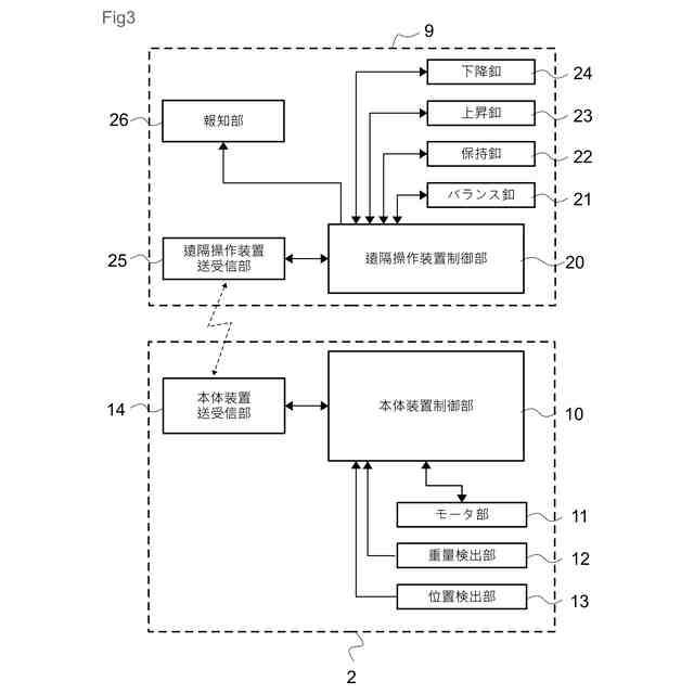
【解決手段】本体装置2と、本体装置2を遠隔操作する遠隔操作装置9と、で構成されて、本体装置2に係止した荷役物7の移動を本体装置2内の動力によって行う荷役装置1であって、遠隔操作装置9は、本体装置2の動作状態を報知する報知部26と、操作指令信号を本体装置2へ送信する遠隔操作装置制御部20と、を備え、本体装置2は、遠隔操作装置制御部20から操作指令信号を受信して荷役物7の昇降を制御する本体装置制御部10を備え、本体装置制御部10は、本体装置2の動作状態を示す状態信号を所定の通信間隔を有する遠隔操作装置9への送信信号に含めて送信し、遠隔操作装置9は、報知部26によって、本体装置2の動作状態を報知する。
【選択図】図3
特許請求の範囲
【請求項1】
本体装置と、前記本体装置を遠隔操作する遠隔操作装置と、で構成されて、前記本体装置に係止した荷役物の移動を前記本体装置内の動力によって行う荷役装置であって、
前記遠隔操作装置は、前記本体装置の動作状態を報知する報知部と、操作指令信号を前記本体装置へ送信する遠隔操作装置制御部と、を備え、
前記本体装置は、前記遠隔操作装置制御部から前記操作指令信号を受信して前記荷役物の昇降を制御する本体装置制御部を備え、
前記本体装置制御部は、前記本体装置の動作状態を示す状態信号を所定の通信間隔を有する前記遠隔操作装置への送信信号に含めて送信し、
前記遠隔操作装置は、前記報知部によって、前記本体装置の動作状態を報知する荷役装置。
続きを表示(約 130 文字)
【請求項2】
前記報知部は、前記本体装置の動作状態を音声またはブザー音で報知する請求項1に記載の荷役装置。
【請求項3】
前記状態信号は、音声またはブザー音の開始、終了および繰り返しの組み合わせ指令を含む請求項2に記載の荷役装置。
発明の詳細な説明
【技術分野】
【0001】
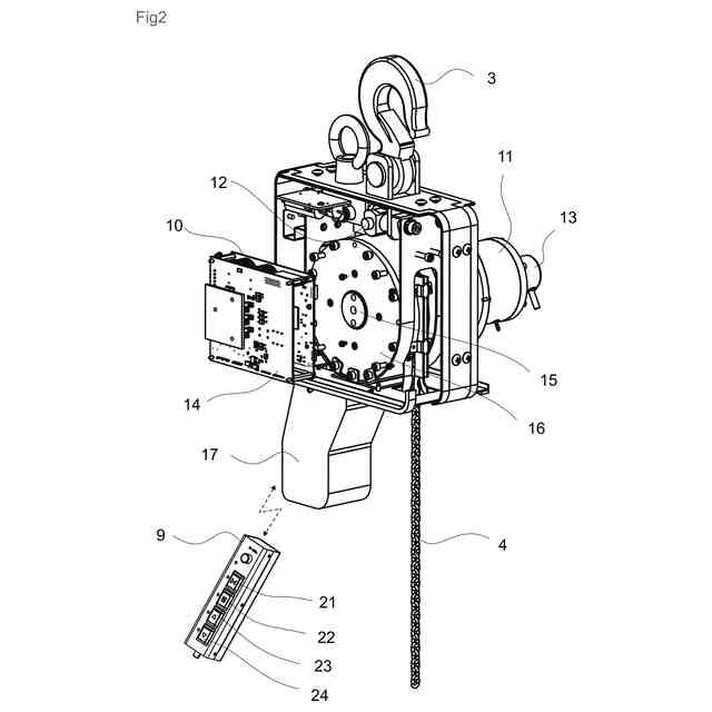
本発明は、製造分野の製造組立てや搬送などに用いる荷役装置であって、例えば荷役物を昇降させる際にモータによって上下移動させる荷役装置に関するものである。
続きを表示(約 1,500 文字)
【背景技術】
【0002】
従来から工業製品の組立てを行う工場では、大きな重量を有する工具、作業用機器、製品、半完成品などの荷役物を吊下げて上下移動させる荷役装置を使用している。その荷役装置の中でも、大きな重量の荷役物に対してバランス状態を作り出し、使用者が軽い操作力で任意の高さに上下移動できるように助力を発生させる荷役装置が使用されている。このように助力を発生させる荷役装置は、モータによって助力を行いバランス状態を作り出し、荷役物に小さな操作力を加えることでスムーズに移動させるため、単に上下動作を電動モータで行うものとは異なり、荷役物の荷重やこれに加わる操作力を例えば荷重検出器で検出して、回転角検出器と繋がったACサーボモータ等で細かいバランス制御を行うように構成されている。
【0003】
このような荷役装置を無線遠隔の操作で行うことが要望されている。特に荷役物の昇降をリンクチェーンで行うタイプの荷役装置は揚程を高くすることが容易であるため、高所に取り付けられて無線で操作を行うことによって作業範囲の拡大が可能となる。そして作業を行う装置を無線遠隔操作する技術については、例えば特許文献1にて開示されている。
【先行技術文献】
【特許文献】
【0004】
特開2019-119550号公報
【発明の概要】
【発明が解決しようとする課題】
【0005】
このような荷役装置を操作する際に、作業者は荷役装置に設けられたブザーや発光表示器などを頼りに作業を行う場合がある。しかしながら荷役装置が高所に配置された場合には表示器の発光は視認性が優れず、そして作業環境の騒音が大きい場合においては、荷役装置から発せられる音が聞こえにくいことがある。したがって無線遠隔操作装置いわゆるリモコンに音を発する素子を内蔵することで音を聞こえ易くした場合、リモコンは通常電池駆動であることからリモコンの消費電力を下げて電池交換や内蔵の2次電池の充電の頻度を少なくしたいという要望がある。
【0006】
このような問題に鑑みて、本発明は無線遠隔操作装置を含んだ荷役装置において、作業性の向上及び遠隔操作装置の消費電力の低減を課題としている。
【課題を解決するための手段】
【0007】
本発明の荷役装置は、
本体装置と、本体装置を遠隔操作する遠隔操作装置と、で構成されて、本体装置に係止した荷役物の移動を本体装置内の動力によって行う荷役装置であって、
遠隔操作装置は、本体装置の動作状態を報知する報知部と、操作指令信号を本体装置へ送信する遠隔操作装置制御部と、を備え、
本体装置は、遠隔操作装置制御部から操作指令信号を受信して荷役物の昇降を制御する本体装置制御部を備え、
本体装置制御部は、本体装置の動作状態を示す状態信号を所定の通信間隔を有する遠隔操作装置への送信信号に含めて送信し、
遠隔操作装置は、報知部によって、本体装置の動作状態を報知する。
【0008】
また、報知部は、本体装置の動作状態を音声またはブザー音で報知する。
【0009】
また、状態信号は、音声またはブザー音の開始、終了および繰り返しの組み合わせ指令を含む
【発明の効果】
【0010】
本発明の荷役装置によれば、遠隔操作装置の消費電力の低減により、電池交換若しくは充電の回数を減らすことができ、作業性の向上及び装置の管理を容易にできる。
【図面の簡単な説明】
(【0011】以降は省略されています)
この特許をJ-PlatPat(特許庁公式サイト)で参照する
関連特許
個人
自走手摺
2か月前
ユニパルス株式会社
吊具
3か月前
個人
海上コンテナ昇降装置
9か月前
ユニパルス株式会社
荷役装置
8か月前
ユニパルス株式会社
吊具装置
10か月前
水戸工業株式会社
吊り具
5か月前
株式会社豊田自動織機
荷役車両
8か月前
株式会社いうら
車椅子用昇降機
2か月前
株式会社豊田自動織機
産業車両
10か月前
株式会社豊田自動織機
産業車両
21日前
ユニパルス株式会社
リフト装置
4か月前
株式会社豊田自動織機
荷役車両
9か月前
白山工業株式会社
バランサ
6か月前
大栄産業株式会社
クランプ
4か月前
個人
垂直自動搬送機
22日前
ユニパルス株式会社
荷役助力装置
3か月前
ユニパルス株式会社
荷役助力装置
5か月前
株式会社大林組
安全支援システム
1か月前
愛知製鋼株式会社
受け架台
1か月前
ユニパルス株式会社
荷役助力装置
2か月前
株式会社伊藤
滑り止め装置
1か月前
株式会社ユピテル
システム等
5か月前
個人
建築部材の吊り上げ装置
11か月前
株式会社キトー
タイヤ用吊具
5か月前
フジテック株式会社
エレベータ
8か月前
大和ハウス工業株式会社
吊上具
1か月前
株式会社豊田自動織機
フォークリフト
14日前
新英運輸株式会社
自動車用台車
5か月前
株式会社五十鈴製作所
搬送装置
4か月前
中国計量大学
電子安全クランプ
3日前
株式会社豊田自動織機
フォークリフト
7か月前
有限会社サエキ
玉掛用器具
9か月前
中坪造園有限会社
吊り荷降ろし具
4か月前
フジテック株式会社
エスカレータ
5か月前
株式会社タダノ
高所作業車
11か月前
山崎産業株式会社
手摺り拭用器具
23日前
続きを見る
他の特許を見る